TOP
|
特許
|
意匠
|
商標
特許ウォッチ
Twitter
他の特許を見る
公開番号
2025169075
公報種別
公開特許公報(A)
公開日
2025-11-12
出願番号
2024074062
出願日
2024-04-30
発明の名称
容器、容器の製造方法、及び積層シートのオーバーラップ部の検出方法
出願人
株式会社吉野工業所
代理人
個人
,
個人
,
個人
主分類
B65D
35/10 20060101AFI20251105BHJP(運搬;包装;貯蔵;薄板状または線条材料の取扱い)
要約
【課題】胴部のオーバーラップ部を容易に検出することが可能な、容器、容器の製造方法、及び積層シートのオーバーラップ部の検出方法を提案する。
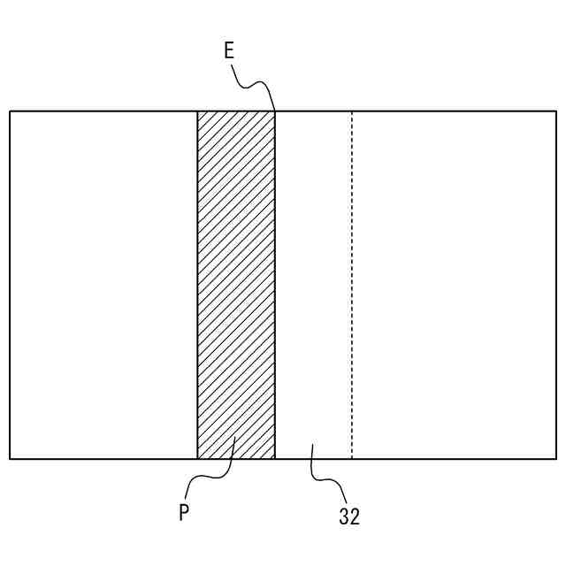
【解決手段】本開示に係るチューブ容器100は、内容物の収容空間Sを形成する胴部1aが複数材料のシートによる積層シート31で形成された容器であって、積層シート31は、胴部1aの最内層を成す、明色層(第1明色層11)と、明色層の径方向外側に設けられ、明色層よりも明度が低い暗色層13とを有し、胴部1aは、積層シート31の周方向側端部31a,31b同士を周方向に重ねて形成されたオーバーラップ部32を有し、オーバーラップ部32における径方向内側の積層シート31の周方向側端部31bから、少なくとも暗色層13が周方向外側にはみ出していることを特徴とする。
【選択図】図5
特許請求の範囲
【請求項1】
内容物の収容空間を形成する胴部が複数材料のシートによる積層シートで形成された容器であって、
前記積層シートは、
前記胴部の最内層を成す、明色層と、
前記明色層の径方向外側に設けられ、前記明色層よりも明度が低い暗色層と
を有し、
前記胴部は、前記積層シートの周方向側端部同士を周方向に重ねて形成されたオーバーラップ部を有し、前記オーバーラップ部における径方向内側の積層シートの周方向側端部から、少なくとも前記暗色層が周方向外側にはみ出している、容器。
続きを表示(約 1,600 文字)
【請求項2】
前記オーバーラップ部における径方向内側の積層シートの周方向側端部から、少なくとも前記明色層及び前記暗色層が周方向外側にはみ出している、請求項1に記載の容器。
【請求項3】
前記積層シートは、前記暗色層の径方向外側に前記暗色層よりも明度が高い更なる明色層を有する、請求項1又は2に記載の容器。
【請求項4】
前記明色層は白色の樹脂層であり、前記暗色層は黒色の樹脂層である、請求項1又は2に記載の容器。
【請求項5】
前記積層シートによって形成された筒状のチューブ体と、前記チューブ体の一端に設けられ肩部と該肩部から突出する口部とを有する樹脂製のヘッドと、前記チューブ体の他端に設けた底部とを有するチューブ容器である、請求項1又は2に記載の容器。
【請求項6】
内容物の収容空間を形成する胴部が複数材料のシートによる積層シートで形成された容器の製造方法であって、
前記積層シートは、
前記胴部の最内層を成す、明色層と、
前記明色層の径方向外側に設けられ、前記明色層よりも明度が低い暗色層と
を有し、
前記積層シートの周方向側端部同士を周方向に重ねてオーバーラップ部を形成し、前記オーバーラップ部の圧着により径方向内側の積層シートの周方向側端部から、少なくとも前記暗色層を周方向外側にはみ出させること
を含む、容器の製造方法。
【請求項7】
前記オーバーラップ部の径方向内側のみを選択的に加熱することによって、径方向内側の積層シートの周方向側端部から、少なくとも前記暗色層を周方向外側にはみ出させる、請求項6に記載の容器の製造方法。
【請求項8】
前記容器は、前記積層シートによって形成された筒状のチューブ体と、前記チューブ体の一端に設けられ肩部と該肩部から突出する口部とを有する樹脂製のヘッドと、前記チューブ体の他端に設けた底部とを有するチューブ容器であり、
前記オーバーラップ部における径方向内側の積層シートの周方向側端部からはみ出た前記暗色層を認識し、前記オーバーラップ部の周方向位置を特定することと、
特定された前記オーバーラップ部の周方向位置に基づいて、前記ヘッドを周方向に位置合わせして前記胴部に固定することと
を含む、請求項6又は7に記載の容器の製造方法。
【請求項9】
前記容器は、前記積層シートによって形成された筒状のチューブ体と、前記チューブ体の一端に設けられ肩部と該肩部から突出する口部とを有する樹脂製のヘッドと、前記チューブ体の他端に設けた底部とを有するチューブ容器であり、
前記オーバーラップ部における径方向内側の積層シートの周方向側端部からはみ出た前記暗色層を認識し、前記オーバーラップ部の周方向位置を特定することと、
特定された前記オーバーラップ部の周方向位置に基づいて、前記胴部の外周面に印刷を施すことと
を含む、請求項6又は7に記載の容器の製造方法。
【請求項10】
前記容器は、前記積層シートによって形成された筒状のチューブ体と、前記チューブ体の一端に設けられ肩部と該肩部から突出する口部とを有する樹脂製のヘッドと、前記チューブ体の他端に設けた底部とを有するチューブ容器であり、
前記オーバーラップ部における径方向内側の積層シートの周方向側端部からはみ出た前記暗色層を認識し、前記オーバーラップ部の周方向位置を特定することと、
特定された前記オーバーラップ部の周方向位置に基づいて、前記チューブ体の前記他端を圧着して前記底部を形成することと
を含む、請求項6又は7に記載の容器の製造方法。
(【請求項11】以降は省略されています)
発明の詳細な説明
【技術分野】
【0001】
本開示は、容器、容器の製造方法、及び積層シートのオーバーラップ部の検出方法に関する。
続きを表示(約 1,300 文字)
【背景技術】
【0002】
化粧料、練り歯磨き、薬剤又は調味料等を内容物として充填し、容器の胴部を押圧することによって内容物を注出可能なチューブ容器は、積層シートをその周方向端部が周方向に重なるようにして丸め、重なったオーバーラップ部をヒートシール等の手段によって溶着して円筒状に形成したものが開示されている。
【0003】
例えば、特許文献1には、酸素バリア性及び水蒸気バリア性を有するバリア層と、高反射層とを備えたチューブ容器が開示されている。
【先行技術文献】
【特許文献】
【0004】
特開2020- 19493号公報
【発明の概要】
【発明が解決しようとする課題】
【0005】
ところで、特許文献1に記載のチューブ容器では、上述のように、積層シートの周方向端部同士を貼り合わせて胴部を形成するため、当該オーバーラップ部を完全に継ぎ目無く形成することは難しい。従って、例えばオーバーラップ部が印刷面の中央部に位置すると、容器の外観を損ねる結果となる場合があったため、当該オーバーラップ部の周方向位置を容易に検出して極力目立たない場所に配置することが求められていた。
【0006】
本開示は、このような問題点を解決することを課題とするものであり、その目的は、胴部のオーバーラップ部を容易に検出することが可能な、容器、容器の製造方法、及び積層シートのオーバーラップ部の検出方法を提案することである。
【課題を解決するための手段】
【0007】
上述の課題を解決するために、本開示の容器は、
[1]
内容物の収容空間を形成する胴部が複数材料のシートによる積層シートで形成された容器であって、
前記積層シートは、
前記胴部の最内層を成す、明色層と、
前記明色層の径方向外側に設けられ、前記明色層よりも明度が低い暗色層と
を有し、
前記胴部は、前記積層シートの周方向側端部同士を周方向に重ねて形成されたオーバーラップ部を有し、前記オーバーラップ部における径方向内側の積層シートの周方向側端部から、少なくとも前記暗色層が周方向外側にはみ出していることを特徴とする。
【0008】
また、本開示の容器は、
[2]
上記[1]に記載の構成において、前記オーバーラップ部における径方向内側の積層シートの周方向側端部から、少なくとも前記明色層及び前記暗色層が周方向外側にはみ出していることが好ましい。
【0009】
また、本開示の容器は、
[3]
上記[1]又は[2]に記載の構成において、前記積層シートは、前記暗色層の径方向外側に前記暗色層よりも明度が高い更なる明色層を有することが好ましい。
【0010】
また、本開示の容器は、
[4]
上記[1]から[3]にいずれかに記載の構成において、前記明色層は白色の樹脂層であり、前記暗色層は黒色の樹脂層であることが好ましい。
(【0011】以降は省略されています)
この特許をJ-PlatPat(特許庁公式サイト)で参照する
関連特許
株式会社吉野工業所
蓋体
1か月前
株式会社吉野工業所
吐出器
25日前
株式会社吉野工業所
吐出器
1か月前
株式会社吉野工業所
塗布容器
1か月前
株式会社吉野工業所
吐出容器
1か月前
株式会社吉野工業所
歯ブラシ
1か月前
株式会社吉野工業所
塗布容器
1か月前
株式会社吉野工業所
繰出容器
25日前
株式会社吉野工業所
吐出容器
25日前
株式会社吉野工業所
吐出容器
25日前
株式会社吉野工業所
吐出ポンプ
1か月前
株式会社吉野工業所
ノズル部材
25日前
株式会社吉野工業所
ねじキャップ
25日前
株式会社吉野工業所
削り出し容器
1か月前
株式会社吉野工業所
計量注出容器
1か月前
株式会社吉野工業所
スポイト容器
1か月前
株式会社吉野工業所
スポイト容器
1か月前
株式会社吉野工業所
吐出キャップ
26日前
株式会社吉野工業所
スパウト容器
1か月前
株式会社吉野工業所
パウダー容器
25日前
株式会社吉野工業所
計量注出容器
25日前
株式会社吉野工業所
計量注出容器
1か月前
株式会社吉野工業所
ポンプ式吐出器
1か月前
株式会社吉野工業所
フォーマポンプ
1か月前
株式会社吉野工業所
合成樹脂製容器
25日前
株式会社吉野工業所
ブラシ型塗布具
25日前
株式会社吉野工業所
ポンプ式吐出器
1か月前
株式会社吉野工業所
コンパクト容器
1か月前
株式会社吉野工業所
把手付きボトル
25日前
株式会社吉野工業所
ポンプ式吐出容器
1か月前
株式会社吉野工業所
ねじキャップ容器
25日前
株式会社吉野工業所
キャップ付き吐出栓
1か月前
株式会社吉野工業所
ポンプ式泡吐出容器
25日前
株式会社吉野工業所
ポンプ携帯ホルダー
25日前
株式会社吉野工業所
トリガー式液体噴出器
1か月前
株式会社吉野工業所
トリガー式液体噴出器
25日前
続きを見る
他の特許を見る