TOP
|
特許
|
意匠
|
商標
特許ウォッチ
Twitter
他の特許を見る
公開番号
2025169087
公報種別
公開特許公報(A)
公開日
2025-11-12
出願番号
2024074092
出願日
2024-04-30
発明の名称
吐出容器
出願人
株式会社吉野工業所
代理人
個人
,
個人
,
個人
主分類
B65D
53/00 20060101AFI20251105BHJP(運搬;包装;貯蔵;薄板状または線条材料の取扱い)
要約
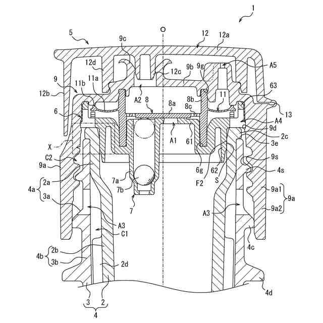
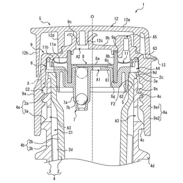
【課題】内容器と吐出キャップとの間のシール性が改善された吐出容器を提供する。
【解決手段】吐出容器1は、内容液を収容可能な内容器2が外容器3の内側に配置された容器本体4と、容器本体4の口部4aに取り付けられた吐出キャップ5と、を備える。容器本体4は、内容器用の射出成形プリフォームと外容器用の射出成形プリフォームとを内外に重ねて延伸ブローされた延伸ブロー成形容器である。容器本体4の口部4aは内容器2の口部2aに設けられた鍔部2cを外容器3の口部3aの上端に載置することで形成されている。内容器2の口部2の内周面F2が吐出キャップ5に設けられたシール部Sによってシールされている。シール部Sは、外容器3の上端よりも下側の位置で、当該内容器2の口部2aの内周面F2をシールする。シール部Sの上端の位置は、外容器3の口部3の上端の位置と同一の位置または当該外容器3の口部3aの上端の位置よりも下側である。
【選択図】図1
特許請求の範囲
【請求項1】
内容液を収容可能な内容器が外容器の内側に配置された容器本体と、前記容器本体の口部に取り付けられた吐出キャップと、を備えており、前記容器本体は、前記内容器用の射出成形プリフォームと前記外容器用の射出成形プリフォームとを内外に重ねて延伸ブローされた延伸ブロー成形容器であり、前記容器本体の口部は前記内容器の口部に設けられた鍔部を前記外容器の口部の上端に載置することで形成されており、前記内容器の口部の内周面が前記吐出キャップに設けられたシール部によってシールされている、吐出容器であって、
前記シール部は、前記外容器の口部の上端よりも下側の位置で、当該内容器の口部の内周面をシールするように設けられており、当該シール部の上端の位置は、前記外容器の口部の上端の位置と同一の位置または当該外容器の口部の上端の位置よりも下側である、吐出容器。
続きを表示(約 420 文字)
【請求項2】
前記内容器の口部の内周面のうち、前記鍔部が位置する当該内容器の口部の内周面は、下側に向かうにしたがって径方向内側に向かって傾斜するテーパ面である、請求項1に記載された吐出容器。
【請求項3】
前記テーパ面は、前記外容器の口部の内周面よりも径方向内側の領域で傾斜している、請求項2に記載された吐出容器。
【請求項4】
前記吐出キャップは、前記内容器に通じる流通孔がサックバック機構とともに設けられた中栓と、前記中栓の流通孔を開閉可能な吐出弁と、前記吐出弁を介して前記流通孔に通じる吐出孔が設けられているとともに前記外容器の口部に取り付けられたキャップ本体と、前記外容器の口部に設けられた通気孔と前記キャップ本体に設けられた外気導入孔との間を開閉可能な外気導入弁と、を備えており、
前記シール部は、前記中栓に設けられている、請求項1~3のいずれか1項に記載された吐出容器。
発明の詳細な説明
【技術分野】
【0001】
本発明は、吐出容器に関する。
続きを表示(約 1,400 文字)
【背景技術】
【0002】
従来の吐出容器としては、例えば、内容液を収容可能な内容器が外容器の内側に配置された容器本体と、前記容器本体の口部に取り付けられた吐出キャップと、を備えており、前記容器本体は、前記内容器用の射出成形プリフォームと前記外容器用の射出成形プリフォームとを内外に重ねて延伸ブローされた延伸ブロー成形容器であり、前記容器本体の口部は前記内容器の口部に設けられた鍔部を前記外容器の口部の上端に載置することで形成されており、前記内容器の口部の内周面が前記吐出キャップに設けられたシール部によってシールされているものがある(例えば、特許文献1参照。)。
【先行技術文献】
【特許文献】
【0003】
特開2021-172371号公報
【発明の概要】
【発明が解決しようとする課題】
【0004】
しかしながら、上記従来の吐出容器には、内容器の口部と吐出キャップとの間のシール性に改善の余地がある。
【0005】
本発明の目的は、内容器と吐出キャップとの間のシール性が改善された吐出容器を提供することである。
【課題を解決するための手段】
【0006】
(1)本発明である、吐出容器は、内容液を収容可能な内容器が外容器の内側に配置された容器本体と、前記容器本体の口部に取り付けられた吐出キャップと、を備えており、前記容器本体は、前記内容器用の射出成形プリフォームと前記外容器用の射出成形プリフォームとを内外に重ねて延伸ブローされた延伸ブロー成形容器であり、前記容器本体の口部は前記内容器の口部に設けられた鍔部を前記外容器の口部の上端に載置することで形成されており、前記内容器の口部の内周面が前記吐出キャップに設けられたシール部によってシールされている、吐出容器であって、前記シール部は、前記外容器の口部の上端よりも下側の位置で、当該内容器の口部の内周面をシールするように設けられており、当該シール部の上端の位置は、前記外容器の口部の上端の位置と同一の位置または当該外容器の口部の上端の位置よりも下側である。
【0007】
(2)上記(1)の吐出容器において、前記内容器の口部の内周面のうち、前記鍔部が位置する当該内容器の口部の内周面は、下側に向かうにしたがって径方向内側に向かって傾斜するテーパ面であることが好ましい。
【0008】
(3)上記(2)の吐出容器において、前記テーパ面は、前記外容器の口部の内周面よりも径方向内側の領域で傾斜していることが好ましい。
【0009】
(4)上記(1)~(3)のいずれか1つの吐出容器において、前記吐出キャップは、前記内容器に通じる流通孔がサックバック機構とともに設けられた中栓と、前記中栓の流通孔を開閉可能な吐出弁と、前記吐出弁を介して前記流通孔に通じる吐出孔が設けられているとともに前記外容器の口部に取り付けられたキャップ本体と、前記外容器の口部に設けられた通気孔と前記キャップ本体に設けられた外気導入孔との間を開閉可能な外気導入弁と、を備えており、前記シール部は、前記中栓に設けられているものとすることができる。
【発明の効果】
【0010】
本発明によれば、内容器と吐出キャップとの間のシール性が改善された吐出容器を提供することができる。
【図面の簡単な説明】
(【0011】以降は省略されています)
この特許をJ-PlatPat(特許庁公式サイト)で参照する
関連特許
株式会社吉野工業所
蓋体
1か月前
株式会社吉野工業所
吐出器
25日前
株式会社吉野工業所
吐出器
1か月前
株式会社吉野工業所
繰出容器
25日前
株式会社吉野工業所
歯ブラシ
1か月前
株式会社吉野工業所
吐出容器
25日前
株式会社吉野工業所
吐出容器
25日前
株式会社吉野工業所
ノズル部材
25日前
株式会社吉野工業所
計量注出容器
1か月前
株式会社吉野工業所
計量注出容器
1か月前
株式会社吉野工業所
吐出キャップ
26日前
株式会社吉野工業所
パウダー容器
25日前
株式会社吉野工業所
スパウト容器
1か月前
株式会社吉野工業所
ねじキャップ
25日前
株式会社吉野工業所
計量注出容器
25日前
株式会社吉野工業所
スポイト容器
1か月前
株式会社吉野工業所
ブラシ型塗布具
25日前
株式会社吉野工業所
把手付きボトル
25日前
株式会社吉野工業所
合成樹脂製容器
25日前
株式会社吉野工業所
ポンプ式吐出器
1か月前
株式会社吉野工業所
フォーマポンプ
1か月前
株式会社吉野工業所
ねじキャップ容器
25日前
株式会社吉野工業所
ポンプ式泡吐出容器
25日前
株式会社吉野工業所
ポンプ携帯ホルダー
25日前
株式会社吉野工業所
トリガー式液体噴出器
25日前
株式会社吉野工業所
トリガー式液体噴出器
25日前
株式会社吉野工業所
圧縮ばね部材及び吐出器
1か月前
花王株式会社
吐出容器
1か月前
株式会社吉野工業所
携帯補助具を備えた容器
1か月前
株式会社吉野工業所
樹脂製品製造方法及び樹脂製品
25日前
株式会社吉野工業所
リフィル容器、および蓋付き容器
1か月前
ホーユー株式会社
エアゾール容器用吐出具
17日前
株式会社吉野工業所
容器、容器の製造方法、及び積層シートのオーバーラップ部の検出方法
25日前
個人
束ね具
26日前
個人
収容箱
4か月前
個人
コンベア
6か月前
続きを見る
他の特許を見る