TOP
|
特許
|
意匠
|
商標
特許ウォッチ
Twitter
他の特許を見る
公開番号
2025168695
公報種別
公開特許公報(A)
公開日
2025-11-12
出願番号
2024073317
出願日
2024-04-30
発明の名称
吐出器
出願人
株式会社吉野工業所
代理人
個人
,
個人
主分類
B65D
47/34 20060101AFI20251105BHJP(運搬;包装;貯蔵;薄板状または線条材料の取扱い)
要約
【課題】操作レバーをロック状態及び非ロック状態に切り替えるストッパ部材の操作性を改善した吐出器を創出することを課題とする。
【解決手段】装着キャップ11、ポンプ機構20、ステム22、吐出ヘッド23、操作レバー24、ロック状態及び非ロック状態に設定するストッパ部材30、背面15Aに挿入窓部15cを有すると共に装着キャップ11から延設されて操作レバー24を回動可能に支持する支持部15、を備え、ストッパ部材30は、基部34と、基部34の前方に連設された連結アーム32と、吐出ヘッド23の押し下げを規制する規制部33と、連結アーム32の後端部に連設された操作部31と、操作部31の内面に突設されると共に非ロック状態からロック状態に至るときに挿入窓部15c内に挿入されるストッパ片31aと、を有する構成とする。
【選択図】図6
特許請求の範囲
【請求項1】
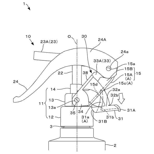
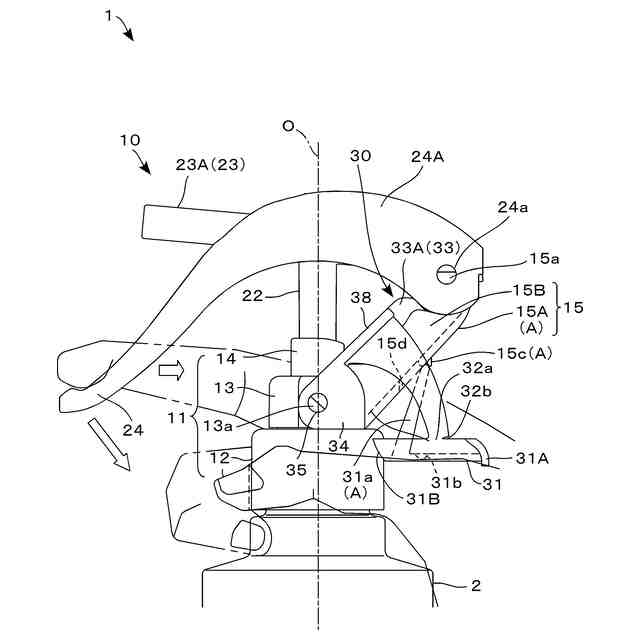
容器本体(2)が装着される装着キャップ(11)と、前記容器本体(2)から内容液を吸い上げるポンプ機構(20)と、該ポンプ機構(20)に対して上下動可能に設けられたステム(22)と、該ステム(22)の上端に連結されると共に前記ステム(22)を通じて吸い上げられた内容液を前方に向けて吐出する吐出ヘッド(23)と、該吐出ヘッド(23)を押し下げて前記ポンプ機構(20)を駆動させる操作レバー(24)と、前記装着キャップ(11)に回動可能に設けられ、一方に回動させたときには前記吐出ヘッド(23)の押し下げを規制するロック状態に設定し、他方に回動させたときには前記吐出ヘッド(23)の押し下げを許容する非ロック状態に設定するストッパ部材(30)と、背面(15A)に挿入窓部(15c)を有すると共に前記装着キャップ(11)から延設されて前記操作レバー(24)を回動可能に支持する支持部(15)と、を備えた吐出器であって、
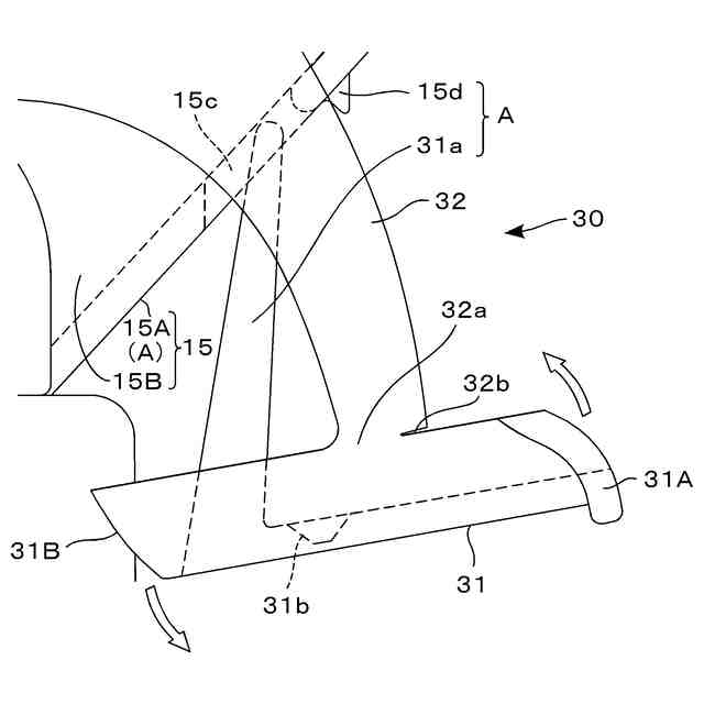
前記ストッパ部材(30)は、前記装着キャップ(11)に対して回動可能に支持する一対の基部(34)と、該一対の基部(34)の前記前方の上部に連設されて、前記前方とは逆方向となる後方に向かって夫々延設された一対の連結アーム(32)と、該一対の連結アーム(32)の前端部の間に介設されると共に前記ロック状態において前記ステム(22)に嵌合することで前記吐出ヘッド(23)の押し下げを規制する規制部(33)と、前記一対の連結アーム(32)の後端部に連繋部(32a)を介して連設された操作部(31)と、該操作部(31)の内面に突設されると共に前記非ロック状態からロック状態に至るときに前記挿入窓部(15c)内に挿入されるストッパ片(31a)と、を有することを特徴とする吐出器。
続きを表示(約 380 文字)
【請求項2】
前記ストッパ片(31a)の先端と支持部(15)の背面(15A)とが、前記ストッパ部材(30)が一方に回動して非ロック状態からロック状態に切り替わることを防止する切り替え防止機構(A)を構成している請求項1記載の吐出器。
【請求項3】
背面(15A)の挿入窓部(15c)近傍にストッパ片(31a)の先端と係合可能な突起部(15d)が設けられており、前記ストッパ片(31a)の先端と前記突起部(15d)とが前記ストッパ部材(30)が一方に回動して非ロック状態からロック状態に切り替わることを防止する切り替え防止機構(A)を構成している請求項1記載の吐出器。
【請求項4】
連結アーム(32)と操作部(31)とを繋ぐ連繋部(32a)の一部に、スリット(32b)が設けられている請求項1乃至3のいずれか一項に記載の吐出器。
発明の詳細な説明
【技術分野】
【0001】
本発明は、操作レバーの操作を規制するストッパ部材を備えた吐出器に関する。
続きを表示(約 2,500 文字)
【背景技術】
【0002】
操作レバー(トリガーレバー)を操作すると、それに連係して吐出ヘッド付きステムが押し下げられてポンプ機構が駆動され、内容液が容器本体からステムを通じて吸い上げられ、更に吐出ヘッドから吐出されるようにした吐出器において、操作レバーが誤操作されることによる内容液の液漏れ等を防止すべく、操作レバーを規制すると共にその規制解除を行うストッパ部材を、支持部の一対の側壁部に形成された第2支持凹部に対して揺動可能に設け、吐出ヘッドの下降移動を規制するロック状態と、ロック状態から後方に揺動して吐出ヘッドの下方移動を許容する非ロック状態と、に切り替え可能に設けられた吐出器が知られている(例えば、特許文献1)。
【先行技術文献】
【特許文献】
【0003】
特開2019-98241公報
【発明の概要】
【発明が解決しようとする課題】
【0004】
しかし、特許文献1に記載の吐出器では、ストッパ部材がステムと支持部の間の狭い空間内で揺動する構成であり、しかも操作レバーと支持部との間の隠れた操作し難い位置に設けられた構成であるため、ストッパ部材を小さくする必要があり、ストッパ部材によるロック及びロック解除を行う際の操作性(使用性)になお改善の余地があった。
【0005】
本発明は、上記した従来技術における問題点を解消すべく、操作レバーをロック状態及び非ロック状態に切り替えるストッパ部材の操作性を改善した吐出器を創出することを課題とする。
【課題を解決するための手段】
【0006】
上記課題を解決するための手段のうち、本発明の主たる手段は、
容器本体が装着される装着キャップと、前記容器本体から内容液を吸い上げるポンプ機構と、該ポンプ機構に対して上下動可能に設けられたステムと、該ステムの上端に連結されると共に前記ステムを通じて吸い上げられた内容液を前方に向けて吐出する吐出ヘッドと、該吐出ヘッドを押し下げて前記ポンプ機構を駆動させる操作レバーと、前記装着キャップに回動可能に設けられ、一方に回動させたときには前記吐出ヘッドの押し下げを規制するロック状態に設定し、他方に回動させたときには前記吐出ヘッドの押し下げを許容する非ロック状態に設定するストッパ部材と、背面に挿入窓部を有すると共に前記装着キャップから延設されて前記操作レバーを回動可能に支持する支持部と、を備えた吐出器であって、
前記ストッパ部材は、前記装着キャップに対して回動可能に支持する一対の基部と、該一対の基部の前記前方の上部に連設されて、前記前方とは逆方向となる後方に向かって夫々延設された一対の連結アームと、該一対の連結アームの前端部の間に介設されると共に前記ロック状態において前記ステムに嵌合することで前記吐出ヘッドの押し下げを規制する規制部と、前記一対の連結アームの後端部に連繋部を介して連設された操作部と、該操作部の内面に突設されると共に前記非ロック状態からロック状態に至るときに前記挿入窓部内に挿入されるストッパ片と、を有することを特徴とする、と云うものである。
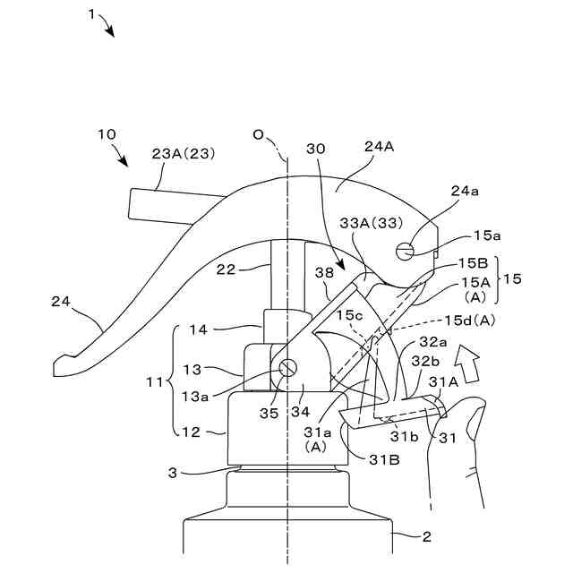
本発明の主たるの手段では、操作レバーで吐出操作を行った際に、ストッパ部材が一緒に回動して意図せずに非ロック状態からロック状態に切り替わることを防止できるため、吐出操作を継続して行うことができる。また非ロック状態において、操作部を押し上げると、操作部が揺動してストッパ片を挿入窓部内に容易に入り込んでストッパ部材は一方への回動できるようになるため、ロック状態にスムーズに戻すことが可能となる。
【0007】
また本発明の他の手段は、上記本発明の主たる手段に、前記ストッパ片の先端と支持部の背面とが、前記ストッパ部材が一方に回動して非ロック状態からロック状態に切り替わることを防止する切り替え防止機構を構成している、との手段を加えたものである。
上記手段では、ストッパ片の先端が支持部の背面に当接する状態で突っ張り棒として機能するため、ストッパ部材が一緒に回動して意図せずに非ロック状態からロック状態に切り替わることを確実に防止することができる。
【0008】
また本発明の他の手段は、上記本発明の主たる手段に、背面の挿入窓部近傍にストッパ片の先端と係合可能な突起部が設けられており、前記ストッパ片の先端と前記突起部とが前記ストッパ部材が一方に回動して非ロック状態からロック状態に切り替わることを防止する切り替え防止機構を構成しているとの手段を加えたものである。
上記手段では、ストッパ片の先端が支持部の背面に係合する状態で突っ張り棒として機能するため、ストッパ部材が一緒に回動して意図せずに非ロック状態からロック状態に切り替わることをより確実に防止することができる。
【0009】
また本発明の他の手段は、上記いすれかの手段に、連結アームと操作部とを繋ぐ連繋部の一部に、スリットが設けられている、との手段を加えたものである。
上記手段では、操作部が揺動し易くなるので、切り替え防止機構を構成するストッパ片の先端と背面との当接、又はストッパ片の先端と突起部との係合を容易に解除してストッパ片を挿入窓部内に案内できるようになるため、ロック状態に確実且つスムーズに戻すことが可能となる。
【発明の効果】
【0010】
本発明では、操作レバーで吐出操作を行った際に、ストッパ部材が一緒に回動して意図せずに非ロック状態からロック状態に切り替わることを防止できるため、吐出操作を継続して行うことができる。
また非ロック状態において、操作部を押し上げると、操作部が揺動してストッパ片が挿入窓部内に容易に入り込んでストッパ部材は一方側へ回動できるようになるため、ロック状態にスムーズに戻すことが可能となる。
【図面の簡単な説明】
(【0011】以降は省略されています)
この特許をJ-PlatPat(特許庁公式サイト)で参照する
関連特許
株式会社吉野工業所
蓋体
9日前
株式会社吉野工業所
吐出器
4日前
株式会社吉野工業所
吐出器
9日前
株式会社吉野工業所
歯ブラシ
9日前
株式会社吉野工業所
吐出容器
4日前
株式会社吉野工業所
吐出容器
4日前
株式会社吉野工業所
繰出容器
4日前
株式会社吉野工業所
ノズル部材
4日前
株式会社吉野工業所
計量注出容器
4日前
株式会社吉野工業所
吐出キャップ
5日前
株式会社吉野工業所
スパウト容器
9日前
株式会社吉野工業所
計量注出容器
9日前
株式会社吉野工業所
ねじキャップ
4日前
株式会社吉野工業所
スポイト容器
9日前
株式会社吉野工業所
計量注出容器
10日前
株式会社吉野工業所
パウダー容器
4日前
株式会社吉野工業所
ポンプ式吐出器
9日前
株式会社吉野工業所
フォーマポンプ
9日前
株式会社吉野工業所
合成樹脂製容器
4日前
株式会社吉野工業所
把手付きボトル
4日前
株式会社吉野工業所
ブラシ型塗布具
4日前
株式会社吉野工業所
ねじキャップ容器
4日前
株式会社吉野工業所
ポンプ式泡吐出容器
4日前
株式会社吉野工業所
ポンプ携帯ホルダー
4日前
株式会社吉野工業所
トリガー式液体噴出器
4日前
株式会社吉野工業所
トリガー式液体噴出器
4日前
株式会社吉野工業所
携帯補助具を備えた容器
9日前
株式会社吉野工業所
圧縮ばね部材及び吐出器
9日前
花王株式会社
吐出容器
1か月前
花王株式会社
吐出容器
1か月前
株式会社吉野工業所
樹脂製品製造方法及び樹脂製品
4日前
株式会社吉野工業所
リフィル容器、および蓋付き容器
9日前
株式会社吉野工業所
容器、容器の製造方法、及び積層シートのオーバーラップ部の検出方法
4日前
個人
収容箱
4か月前
個人
束ね具
5日前
個人
コンベア
5か月前
続きを見る
他の特許を見る