TOP
|
特許
|
意匠
|
商標
特許ウォッチ
Twitter
他の特許を見る
公開番号
2025142908
公報種別
公開特許公報(A)
公開日
2025-10-01
出願番号
2024042519
出願日
2024-03-18
発明の名称
吐出器
出願人
株式会社吉野工業所
代理人
個人
,
個人
,
個人
,
個人
主分類
B65D
47/34 20060101AFI20250924BHJP(運搬;包装;貯蔵;薄板状または線条材料の取扱い)
要約
【課題】嵌合筒部、若しくはステムが膨潤しても、嵌合筒部とステムの上端部との間のシール性を確保する。
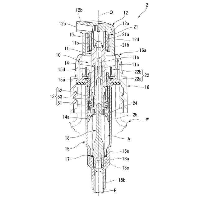
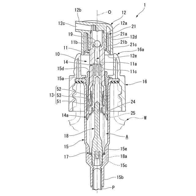
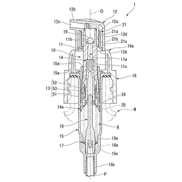
【解決手段】内容液が収容された容器体Wの口部に上方付勢状態で下方移動可能に設けられるステム11を有するポンプ10と、ステムの上端部に嵌合された嵌合筒部12aを有するとともに、ノズル孔12cが形成された押下ヘッド12と、を備え、口部に装着した状態で、押下ヘッドを押下してステムを下方に移動させポンプを作動させることにより、内容液をステム内を通してノズル孔から吐出する吐出器1であって、押下ヘッドは、ポリオレフィン系樹脂で形成され、ステムの上端部と嵌合筒部との嵌合部分には、ステムおよび押下ヘッドとは別部品の支持リング21が外装されている。
【選択図】図1
特許請求の範囲
【請求項1】
内容液が収容された容器体の口部に上方付勢状態で下方移動可能に設けられるステムを有するポンプと、
前記ステムの上端部に嵌合された嵌合筒部を有するとともに、ノズル孔が形成された押下ヘッドと、を備え、
前記口部に装着した状態で、前記押下ヘッドを押下して前記ステムを下方に移動させ前記ポンプを作動させることにより、前記内容液を前記ステム内を通して前記ノズル孔から吐出する吐出器であって、
前記押下ヘッドは、ポリオレフィン系樹脂で形成され、
前記ステムの上端部と前記嵌合筒部との嵌合部分には、前記ステムおよび前記押下ヘッドとは別部品の支持リングが外装されている、吐出器。
続きを表示(約 200 文字)
【請求項2】
前記支持リングの内周面には、径方向の内側に向けて突出し、上下方向に延びる複数の縦リブが周方向に間隔をあけて形成されている、請求項1に記載の吐出器。
【請求項3】
前記押下ヘッドは、前記支持リングを径方向の外側から囲う外筒部を備え、
前記外筒部の内周面に、前記支持リングを前記支持リングの下方から支持する支持突起が形成されている、請求項1または2に記載の吐出器。
発明の詳細な説明
【技術分野】
【0001】
本発明は、吐出器に関する。
続きを表示(約 1,600 文字)
【背景技術】
【0002】
従来から、例えば下記特許文献1に示されるような、内容液が収容された容器体の口部に上方付勢状態で下方移動可能に設けられるステムを有するポンプと、ステムの上端部に嵌合された嵌合筒部を有するとともに、ノズル孔が形成された押下ヘッドと、を備え、口部に装着した状態で、押下ヘッドを押下してステムを下方に移動させポンプを作動させることにより、内容液をステム内を通してノズル孔から吐出する吐出器が知られている。
【先行技術文献】
【特許文献】
【0003】
特開2022-41269号公報
【発明の概要】
【発明が解決しようとする課題】
【0004】
内容液の種類によっては、嵌合筒部、若しくはステムが膨潤し、嵌合筒部とステムの上端部との間のシール性を確保することが困難になるおそれがある。
このような問題を解決するための手段として、例えば上記特許文献1に示されるように、押下ヘッドの嵌合筒部、およびステムの上端部のうちのいずれか一方を二重筒状に形成し、いずれか一方によりいずれか他方を径方向の両側から挟み込んだ構成が知られている。
しかしながら、嵌合筒部、若しくはステムの膨潤を抑えることができず、嵌合筒部とステムの上端部との間のシール性を依然として確保することができないおそれがある。
【0005】
本発明は、嵌合筒部、若しくはステムが膨潤しても、嵌合筒部とステムの上端部との間のシール性を確保することができる吐出器を提供することを目的の一つとする。
【課題を解決するための手段】
【0006】
本発明の一態様に係る吐出器は、内容液が収容された容器体の口部に上方付勢状態で下方移動可能に設けられるステムを有するポンプと、前記ステムの上端部に嵌合された嵌合筒部を有するとともに、ノズル孔が形成された押下ヘッドと、を備え、前記口部に装着した状態で、前記押下ヘッドを押下して前記ステムを下方に移動させ前記ポンプを作動させることにより、前記内容液を前記ステム内を通して前記ノズル孔から吐出する吐出器であって、前記押下ヘッドは、ポリオレフィン系樹脂で形成され、前記ステムの上端部と前記嵌合筒部との嵌合部分には、前記ステムおよび前記押下ヘッドとは別部品の支持リングが外装されている。
【0007】
ステムの上端部と押下ヘッドの嵌合筒部との嵌合部分に、ステムおよび押下ヘッドとは別部品の支持リングが外装されているので、支持リングが内容液により膨潤するのを防ぐことが可能になり、嵌合筒部、若しくはステムが内容液によって膨潤しても、支持リングが、ステムの上端部と押下ヘッドの嵌合筒部との嵌合部分を径方向の外側から支持することにより、嵌合筒部とステムの上端部との間のシール性を確保することができる。
押下ヘッドが、ポリオレフィン系樹脂で形成されているので、吐出器のうち外部に露出して使用者の目に触れやすい押下ヘッドを所望の色調で容易に形成することができる。
【0008】
前記支持リングの内周面には、径方向の内側に向けて突出し、上下方向に延びる複数の縦リブが周方向に間隔をあけて形成されてもよい。
【0009】
支持リングの内周面に、複数の縦リブが周方向に間隔をあけて形成されているので、支持リングの内周面と、ステムの上端部と押下ヘッドの嵌合筒部との嵌合部分と、の接触面積を抑えることが可能になり、支持リングを前述の嵌合部分に少ない押込み力で容易に外装することができる。
【0010】
前記押下ヘッドは、前記支持リングを径方向の外側から囲う外筒部を備え、前記外筒部の内周面に、前記支持リングを前記支持リングの下方から支持する支持突起が形成されてもよい。
(【0011】以降は省略されています)
この特許をJ-PlatPat(特許庁公式サイト)で参照する
関連特許
株式会社吉野工業所
蓋体
1か月前
株式会社吉野工業所
吐出器
1か月前
株式会社吉野工業所
吐出器
26日前
株式会社吉野工業所
歯ブラシ
1か月前
株式会社吉野工業所
吐出容器
26日前
株式会社吉野工業所
吐出容器
26日前
株式会社吉野工業所
繰出容器
26日前
株式会社吉野工業所
ノズル部材
26日前
株式会社吉野工業所
パウダー容器
26日前
株式会社吉野工業所
スポイト容器
1か月前
株式会社吉野工業所
計量注出容器
1か月前
株式会社吉野工業所
計量注出容器
26日前
株式会社吉野工業所
スパウト容器
1か月前
株式会社吉野工業所
ねじキャップ
26日前
株式会社吉野工業所
計量注出容器
1か月前
株式会社吉野工業所
吐出キャップ
27日前
株式会社吉野工業所
ポンプ式吐出器
1か月前
株式会社吉野工業所
フォーマポンプ
1か月前
株式会社吉野工業所
ポンプ式吐出器
1か月前
株式会社吉野工業所
合成樹脂製容器
26日前
株式会社吉野工業所
把手付きボトル
26日前
株式会社吉野工業所
ブラシ型塗布具
26日前
株式会社吉野工業所
ねじキャップ容器
26日前
株式会社吉野工業所
ポンプ式泡吐出容器
26日前
株式会社吉野工業所
ポンプ携帯ホルダー
26日前
株式会社吉野工業所
トリガー式液体噴出器
26日前
株式会社吉野工業所
トリガー式液体噴出器
26日前
株式会社吉野工業所
携帯補助具を備えた容器
1か月前
株式会社吉野工業所
圧縮ばね部材及び吐出器
1か月前
花王株式会社
吐出容器
1か月前
花王株式会社
吐出容器
1か月前
株式会社吉野工業所
樹脂製品製造方法及び樹脂製品
26日前
株式会社吉野工業所
リフィル容器、および蓋付き容器
1か月前
ホーユー株式会社
エアゾール容器用吐出具
18日前
株式会社吉野工業所
容器、容器の製造方法、及び積層シートのオーバーラップ部の検出方法
26日前
個人
束ね具
27日前
続きを見る
他の特許を見る