TOP
|
特許
|
意匠
|
商標
特許ウォッチ
Twitter
他の特許を見る
10個以上の画像は省略されています。
公開番号
2025149203
公報種別
公開特許公報(A)
公開日
2025-10-08
出願番号
2024049698
出願日
2024-03-26
発明の名称
トリガー式液体噴出器
出願人
株式会社吉野工業所
代理人
個人
,
個人
,
個人
主分類
B05B
11/00 20230101AFI20251001BHJP(霧化または噴霧一般;液体または他の流動性材料の表面への適用一般)
要約
【課題】切替部材のノズル部が衝突によって損傷する虞を低減できるトリガー式液体噴出器を提供する。
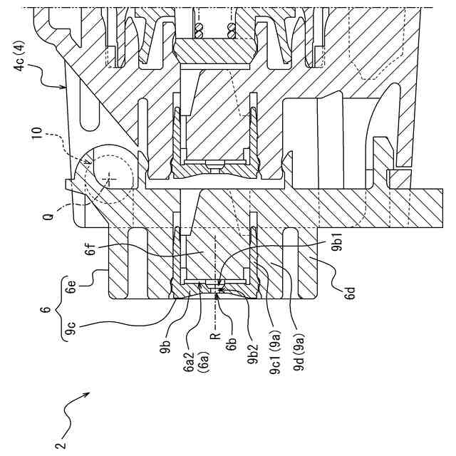
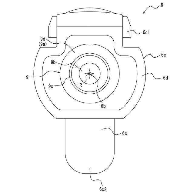
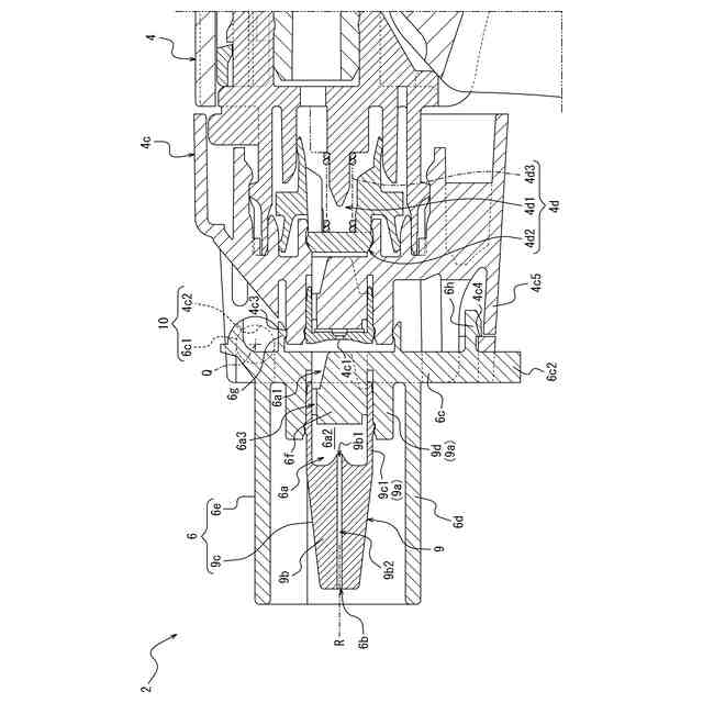
【解決手段】トリガー式液体噴出器2は、噴出器本体4と、トリガー5と、第1位置と第2位置との間で回動可能に支持され第1位置では第1噴出口4c1からの第1噴出形態での液体の噴出を許容し第2位置では液体を第2噴出形態で第2噴出口6bから噴出させる切替部材6とを有し、切替部材6はベース板部6c、ノズル部9及び保護周壁6dを有し、ノズル部9は、ノズル外周壁部9aと、基端開口9b1から第2噴出口6bまで延びる貫通穴9b2を有するノズル先端壁部9bとを有し、液体を基端開口9b1に向けて流す連通流路6aをノズル外周壁部9aの径方向内側に形成し、保護周壁6dはノズル外周壁部9aの外周面から離隔する位置でノズル外周壁部9aの外周を囲繞するようにベース板部6cからノズル部9以上の突出方向位置まで突出する。
【選択図】図1
特許請求の範囲
【請求項1】
吸込口、ポンプ室及び第1噴出口を含む内部流路を有する噴出器本体と、
前記噴出器本体に動作可能に支持され、牽曳操作に応じて前記ポンプ室を拡縮させることで液体を前記吸込口から前記ポンプ室を介して前記第1噴出口へ送るトリガーと、
連通流路及び第2噴出口を有し、前記第1噴出口を開放する第1位置と前記第1噴出口を覆う第2位置との間で回動可能に前記噴出器本体に支持され、前記第1位置では前記第1噴出口からの第1噴出形態での前記液体の噴出を許容し、前記第2位置では前記第1噴出口から前記連通流路を介して流入する前記液体を前記第1噴出形態と異なる第2噴出形態で前記第2噴出口から噴出させる切替部材とを有し、
前記切替部材は、ベース板部、ノズル部及び保護周壁を有し、
前記ノズル部は、前記ベース板部から突出するノズル外周壁部と、基端開口から前記第2噴出口まで延びる貫通穴を有し前記ノズル外周壁部に連なるノズル先端壁部とを有し、前記液体を前記基端開口に向けて径方向内側に流す前記連通流路を前記ノズル外周壁部の径方向内側に形成し、
前記保護周壁は、前記ノズル外周壁部の外周面から離隔する位置で前記ノズル外周壁部の外周を囲繞するように前記ベース板部から前記ノズル部以上の突出方向位置まで突出する、トリガー式液体噴出器。
続きを表示(約 230 文字)
【請求項2】
前記ノズル先端壁部の前記貫通穴は長尺である、請求項1に記載のトリガー式液体噴出器。
【請求項3】
前記噴出器本体の前記内部流路は、縦流路と、前記縦流路の下流端部から前記第1噴出口に向けて延びる横流路とを有し、
前記噴出器本体は、前記縦流路を形成する縦流路形成部と、前記横流路を形成する横流路形成部とを有し、
前記トリガーは、前記横流路形成部に動作可能に支持される、請求項1に記載のトリガー式液体噴出器。
発明の詳細な説明
【技術分野】
【0001】
本発明はトリガー式液体噴出器に関する。
続きを表示(約 1,600 文字)
【背景技術】
【0002】
吸込口、ポンプ室及び第1噴出口を含む内部流路を有する噴出器本体と、噴出器本体に回動可能に支持され、牽曳操作に応じてポンプ室を拡縮させることで液体を吸込口からポンプ室を介して第1噴出口へ送るトリガーと、連通流路及び第2噴出口を有し、第1噴出口を開放する第1位置と第1噴出口を覆う第2位置との間で回動可能に噴出器本体に支持され、第1位置では第1噴出口からの第1噴出形態での液体の噴出を許容し、第2位置では第1噴出口から連通流路を介して流入する液体を第1噴出形態と異なる第2噴出形態で第2噴出口から噴出させる切替部材とを有し、切替部材は、ベース板部及びノズル部を有し、ノズル部は、ベース板部から突出するノズル外周壁部と、基端開口から第2噴出口まで延びる貫通穴を有しノズル外周壁部に連なるノズル先端壁部とを有し、液体を基端開口に向けて径方向内側に流す連通流路をノズル外周壁部の径方向内側に形成する、トリガー式液体噴出器が知られている(例えば特許文献1参照)。
【先行技術文献】
【特許文献】
【0003】
特開2021-7911号公報
【発明の概要】
【発明が解決しようとする課題】
【0004】
上記のようなトリガー式液体噴出器は、落下時などに切替部材のノズル部が衝突によって損傷する虞がある。
【0005】
そこで本発明の目的は、切替部材のノズル部が衝突によって損傷する虞を低減できるトリガー式液体噴出器を提供することにある。
【課題を解決するための手段】
【0006】
本発明の一態様は以下のとおりである。
【0007】
[1]
吸込口、ポンプ室及び第1噴出口を含む内部流路を有する噴出器本体と、
前記噴出器本体に動作可能に支持され、牽曳操作に応じて前記ポンプ室を拡縮させることで液体を前記吸込口から前記ポンプ室を介して前記第1噴出口へ送るトリガーと、
連通流路及び第2噴出口を有し、前記第1噴出口を開放する第1位置と前記第1噴出口を覆う第2位置との間で回動可能に前記噴出器本体に支持され、前記第1位置では前記第1噴出口からの第1噴出形態での前記液体の噴出を許容し、前記第2位置では前記第1噴出口から前記連通流路を介して流入する前記液体を前記第1噴出形態と異なる第2噴出形態で前記第2噴出口から噴出させる切替部材とを有し、
前記切替部材は、ベース板部、ノズル部及び保護周壁を有し、
前記ノズル部は、前記ベース板部から突出するノズル外周壁部と、基端開口から前記第2噴出口まで延びる貫通穴を有し前記ノズル外周壁部に連なるノズル先端壁部とを有し、前記液体を前記基端開口に向けて径方向内側に流す前記連通流路を前記ノズル外周壁部の径方向内側に形成し、
前記保護周壁は、前記ノズル外周壁部の外周面から離隔する位置で前記ノズル外周壁部の外周を囲繞するように前記ベース板部から前記ノズル部以上の突出方向位置まで突出する、トリガー式液体噴出器。
【0008】
[2]
前記ノズル先端壁部の前記貫通穴は長尺である、[1]に記載のトリガー式液体噴出器。
【0009】
[3]
前記噴出器本体の前記内部流路は、縦流路と、前記縦流路の下流端部から前記第1噴出口に向けて延びる横流路とを有し、
前記噴出器本体は、前記縦流路を形成する縦流路形成部と、前記横流路を形成する横流路形成部とを有し、
前記トリガーは、前記横流路形成部に動作可能に支持される、[1]又は[2]に記載のトリガー式液体噴出器。
【発明の効果】
【0010】
本発明によれば、切替部材のノズル部が衝突によって損傷する虞を低減できるトリガー式液体噴出器を提供することができる。
【図面の簡単な説明】
(【0011】以降は省略されています)
この特許をJ-PlatPat(特許庁公式サイト)で参照する
関連特許
株式会社吉野工業所
蓋体
15日前
株式会社吉野工業所
吐出器
15日前
株式会社吉野工業所
吐出器
10日前
株式会社吉野工業所
歯ブラシ
15日前
株式会社吉野工業所
吐出容器
10日前
株式会社吉野工業所
吐出容器
10日前
株式会社吉野工業所
繰出容器
10日前
株式会社吉野工業所
ノズル部材
10日前
株式会社吉野工業所
パウダー容器
10日前
株式会社吉野工業所
スポイト容器
15日前
株式会社吉野工業所
計量注出容器
15日前
株式会社吉野工業所
計量注出容器
10日前
株式会社吉野工業所
スパウト容器
15日前
株式会社吉野工業所
ねじキャップ
10日前
株式会社吉野工業所
計量注出容器
16日前
株式会社吉野工業所
吐出キャップ
11日前
株式会社吉野工業所
ポンプ式吐出器
15日前
株式会社吉野工業所
フォーマポンプ
15日前
株式会社吉野工業所
ポンプ式吐出器
1か月前
株式会社吉野工業所
合成樹脂製容器
10日前
株式会社吉野工業所
把手付きボトル
10日前
株式会社吉野工業所
ブラシ型塗布具
10日前
株式会社吉野工業所
ねじキャップ容器
10日前
株式会社吉野工業所
ポンプ式泡吐出容器
10日前
株式会社吉野工業所
ポンプ携帯ホルダー
10日前
株式会社吉野工業所
トリガー式液体噴出器
10日前
株式会社吉野工業所
トリガー式液体噴出器
10日前
株式会社吉野工業所
携帯補助具を備えた容器
15日前
株式会社吉野工業所
圧縮ばね部材及び吐出器
15日前
花王株式会社
吐出容器
1か月前
花王株式会社
吐出容器
1か月前
株式会社吉野工業所
樹脂製品製造方法及び樹脂製品
10日前
株式会社吉野工業所
リフィル容器、および蓋付き容器
15日前
ホーユー株式会社
エアゾール容器用吐出具
2日前
株式会社吉野工業所
容器、容器の製造方法、及び積層シートのオーバーラップ部の検出方法
10日前
個人
微細霧発生装置
15日前
続きを見る
他の特許を見る