TOP
|
特許
|
意匠
|
商標
特許ウォッチ
Twitter
他の特許を見る
10個以上の画像は省略されています。
公開番号
2025168830
公報種別
公開特許公報(A)
公開日
2025-11-12
出願番号
2024073624
出願日
2024-04-30
発明の名称
ブラシ型塗布具
出願人
株式会社吉野工業所
代理人
個人
,
個人
,
個人
主分類
A45D
19/00 20060101AFI20251105BHJP(手持品または旅行用品)
要約
【課題】塗布部への含侵体の着脱を容易に行うことが可能なブラシ型塗布具を提供することである。
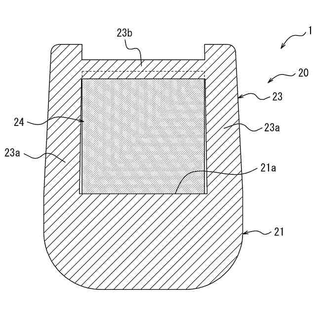
【解決手段】把持部と塗布部20とを有するブラシ型塗布具1であって、塗布部20が、複数本の櫛歯22が長手方向に沿って二列に並べて設けられた長尺の基台21と、それぞれ、各列において隣り合う櫛歯22の間に設けられた一対の柱部23aと、一方の列の柱部23aと他方の列の柱部23aとに連なる橋部23bと、を有する複数の橋掛け部23と、二列の櫛歯22の間において複数の橋掛け部23に挿通されて基台21に配置された含侵体24と、基台21の一端側に設けられたストッパ部25と、基台21の他端側に設けられ、含侵体24の他端24bを係止して含侵体24を複数の橋掛け部23の内側に保持する保持状態と、含侵体24の他端24bを開放する開放状態とに変形可能な開閉部26と、を有するブラシ型塗布具1。
【選択図】図3
特許請求の範囲
【請求項1】
把持部と、複数本の櫛歯及び含侵体を備えた塗布部と、を有するブラシ型塗布具であって、
前記塗布部が、
複数本の前記櫛歯が長手方向に沿って二列に並べて設けられた長尺の基台と、
それぞれ、各列において隣り合う前記櫛歯の間に設けられた一対の柱部と、一方の列の前記柱部と他方の列の前記柱部とに連なる橋部と、を有する複数の橋掛け部と、
二列の前記櫛歯の間において複数の前記橋掛け部に挿通されて前記基台に配置された前記含侵体と、
前記基台の一端側に設けられ、前記含侵体の一端に対向するストッパ部と、
前記基台の他端側に設けられ、前記含侵体の他端を係止して前記含侵体を複数の前記橋掛け部の内側に保持する保持状態と、前記含侵体の他端を開放する開放状態とに変形可能な開閉部と、を有することを特徴とするブラシ型塗布具。
続きを表示(約 1,000 文字)
【請求項2】
前記開閉部が、
それぞれ前記基台の他端側に各列の前記櫛歯に隣接して設けられた一対の開閉部用柱部と、
一端において一方の前記開閉部用柱部に前記基台に接近離反する方向に回動自在に連結され、他端において他方の前記開閉部用柱部に前記基台に接近離反する方向に回動自在に連結されるとともに中央部において前記基台に接近離反する方向に屈曲自在の反転部と、を有し、
前記反転部が前記基台に接近する側に屈曲して前記含侵体の他端に対向することで前記保持状態となり、前記反転部が前記基台から離れる側に屈曲することで前記開放状態となるように構成されている、請求項1に記載のブラシ型塗布具。
【請求項3】
前記開閉部が、
それぞれ前記基台の他端側に各列の前記櫛歯に隣接するとともに上端が互いに離間するように斜めに延びて設けられた一対の開閉部用傾斜柱部と、
前記基台から離れる方向に凸のアーチ状に形成され、一端において一方の前記開閉部用傾斜柱部に連結されるとともに他端において他方の前記開閉部用傾斜柱部に連結された屈曲自在の屈曲部と、を有し、
前記屈曲部が前記含侵体の他端に対向することで前記保持状態となり、一対の前記開閉部用傾斜柱部が互いに接近するように弾性変形すると前記屈曲部が前記基台から離れる方向に変形して前記開放状態となるように構成されている、請求項1に記載のブラシ型塗布具。
【請求項4】
前記開閉部が、
それぞれ前記基台の他端側に各列の前記櫛歯に隣接して設けられた一対の開閉部用柱部と、
前記基台の他端にヒンジにより回動自在に連ねて設けられ、一対の前記開閉部用柱部の間に形成された開口を開閉自在の蓋部とを有し、
前記蓋部が前記開口を閉じることで前記保持状態となり、前記蓋部が開かれることで前記開放状態となるように構成されている、請求項1に記載のブラシ型塗布具。
【請求項5】
複数の前記橋部が、それぞれ一端において一方の前記柱部に前記基台に接近離反する方向に回動自在に連結され、他端において他方の前記柱部に前記基台に接近離反する方向に回動自在に連結されるとともに中央部において前記基台に接近離反する方向に屈曲自在に構成されている、請求項1~4の何れか1項に記載のブラシ型塗布具。
発明の詳細な説明
【技術分野】
【0001】
本発明は、ブラシ型塗布具に関する。
続きを表示(約 1,800 文字)
【背景技術】
【0002】
従来、例えばマスカラ、毛染め剤などの液状の塗布物を毛髪などの塗布対象物に塗布するための塗布具として、把持部と、複数本の櫛歯及び含侵体を備えた塗布部とを有し、液状の塗布物を含侵体に含侵させた状態で複数本の櫛歯により塗布対象物を梳かしつつ塗布対象物に塗布物を塗布することができるように構成されたブラシ型塗布具が知られている(例えば特許文献1参照)。
【先行技術文献】
【特許文献】
【0003】
実開平01-164904号公報
【発明の概要】
【発明が解決しようとする課題】
【0004】
しかし、従来のブラシ型塗布具では、塗布部に対して含侵体を着脱する際に塗布部を分解する必要があり、塗布部への含侵体の着脱が煩雑である、という問題点があった。
【0005】
本発明は、このような課題に鑑みてなされたものであり、その目的は、塗布部への含侵体の着脱を容易に行うことが可能なブラシ型塗布具を提供することにある。
【課題を解決するための手段】
【0006】
本発明のブラシ型塗布具は、把持部と、複数本の櫛歯及び含侵体を備えた塗布部と、を有するブラシ型塗布具であって、前記塗布部が、複数本の前記櫛歯が長手方向に沿って二列に並べて設けられた長尺の基台と、それぞれ、各列において隣り合う前記櫛歯の間に設けられた一対の柱部と、一方の列の前記柱部と他方の列の前記柱部とに連なる橋部と、を有する複数の橋掛け部と、二列の前記櫛歯の間において複数の前記橋掛け部に挿通されて前記基台に配置された前記含侵体と、前記基台の一端側に設けられ、前記含侵体の一端に対向するストッパ部と、前記基台の他端側に設けられ、前記含侵体の他端を係止して前記含侵体を複数の前記橋掛け部の内側に保持する保持状態と、前記含侵体の他端を開放する開放状態とに変形可能な開閉部と、を有することを特徴とする。
【0007】
本発明のブラシ型塗布具は、上記構成において、前記開閉部が、それぞれ前記基台の他端側に各列の前記櫛歯に隣接して設けられた一対の開閉部用柱部と、一端において一方の前記開閉部用柱部に前記基台に接近離反する方向に回動自在に連結され、他端において他方の前記開閉部用柱部に前記基台に接近離反する方向に回動自在に連結されるとともに中央部において前記基台に接近離反する方向に屈曲自在の反転部と、を有し、前記反転部が前記基台に接近する側に屈曲して前記含侵体の他端に対向することで前記保持状態となり、前記反転部が前記基台から離れる側に屈曲することで前記開放状態となるように構成されているのが好ましい。
【0008】
本発明のブラシ型塗布具は、上記構成において、前記開閉部が、それぞれ前記基台の他端側に各列の前記櫛歯に隣接するとともに上端が互いに離間するように斜めに延びて設けられた一対の開閉部用傾斜柱部と、前記基台から離れる方向に凸のアーチ状に形成され、一端において一方の前記開閉部用傾斜柱部に連結されるとともに他端において他方の前記開閉部用傾斜柱部に連結された屈曲自在の屈曲部と、を有し、前記屈曲部が前記含侵体の他端に対向することで前記保持状態となり、一対の前記開閉部用傾斜柱部が互いに接近するように弾性変形すると前記屈曲部が前記基台から離れる方向に変形して前記開放状態となるように構成されているのが好ましい。
【0009】
本発明のブラシ型塗布具は、上記構成において、前記開閉部が、それぞれ前記基台の他端側に各列の前記櫛歯に隣接して設けられた一対の開閉部用柱部と、前記基台の他端にヒンジにより回動自在に連ねて設けられ、一対の前記開閉部用柱部の間に形成された開口を開閉自在の蓋部とを有し、前記蓋部が前記開口を閉じることで前記保持状態となり、前記蓋部が開かれることで前記開放状態となるように構成されているのが好ましい。
【0010】
本発明のブラシ型塗布具は、上記構成において、複数の前記橋部が、それぞれ一端において一方の前記柱部に前記基台に接近離反する方向に回動自在に連結され、他端において他方の前記柱部に前記基台に接近離反する方向に回動自在に連結されるとともに中央部において前記基台に接近離反する方向に屈曲自在に構成されているのが好ましい。
【発明の効果】
(【0011】以降は省略されています)
この特許をJ-PlatPat(特許庁公式サイト)で参照する
関連特許
株式会社吉野工業所
蓋体
1か月前
株式会社吉野工業所
吐出器
1か月前
株式会社吉野工業所
吐出器
26日前
株式会社吉野工業所
吐出容器
26日前
株式会社吉野工業所
吐出容器
26日前
株式会社吉野工業所
繰出容器
26日前
株式会社吉野工業所
歯ブラシ
1か月前
株式会社吉野工業所
ノズル部材
26日前
株式会社吉野工業所
計量注出容器
1か月前
株式会社吉野工業所
吐出キャップ
27日前
株式会社吉野工業所
パウダー容器
26日前
株式会社吉野工業所
計量注出容器
1か月前
株式会社吉野工業所
計量注出容器
26日前
株式会社吉野工業所
ねじキャップ
26日前
株式会社吉野工業所
スパウト容器
1か月前
株式会社吉野工業所
スポイト容器
1か月前
株式会社吉野工業所
ブラシ型塗布具
26日前
株式会社吉野工業所
把手付きボトル
26日前
株式会社吉野工業所
合成樹脂製容器
26日前
株式会社吉野工業所
ポンプ式吐出器
1か月前
株式会社吉野工業所
フォーマポンプ
1か月前
株式会社吉野工業所
ねじキャップ容器
26日前
株式会社吉野工業所
ポンプ式泡吐出容器
26日前
株式会社吉野工業所
ポンプ携帯ホルダー
26日前
株式会社吉野工業所
トリガー式液体噴出器
26日前
株式会社吉野工業所
トリガー式液体噴出器
26日前
株式会社吉野工業所
携帯補助具を備えた容器
1か月前
株式会社吉野工業所
圧縮ばね部材及び吐出器
1か月前
株式会社吉野工業所
樹脂製品製造方法及び樹脂製品
26日前
株式会社吉野工業所
リフィル容器、および蓋付き容器
1か月前
ホーユー株式会社
エアゾール容器用吐出具
18日前
株式会社吉野工業所
容器、容器の製造方法、及び積層シートのオーバーラップ部の検出方法
26日前
個人
包み箱
3か月前
個人
爪やすり
1か月前
個人
杖
5か月前
個人
傘
3か月前
続きを見る
他の特許を見る