TOP
|
特許
|
意匠
|
商標
特許ウォッチ
Twitter
他の特許を見る
公開番号
2025151329
公報種別
公開特許公報(A)
公開日
2025-10-09
出願番号
2024052693
出願日
2024-03-28
発明の名称
塗布容器
出願人
株式会社吉野工業所
代理人
個人
,
個人
,
個人
,
個人
主分類
B65D
47/44 20060101AFI20251002BHJP(運搬;包装;貯蔵;薄板状または線条材料の取扱い)
要約
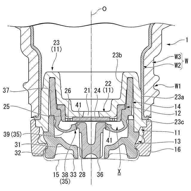
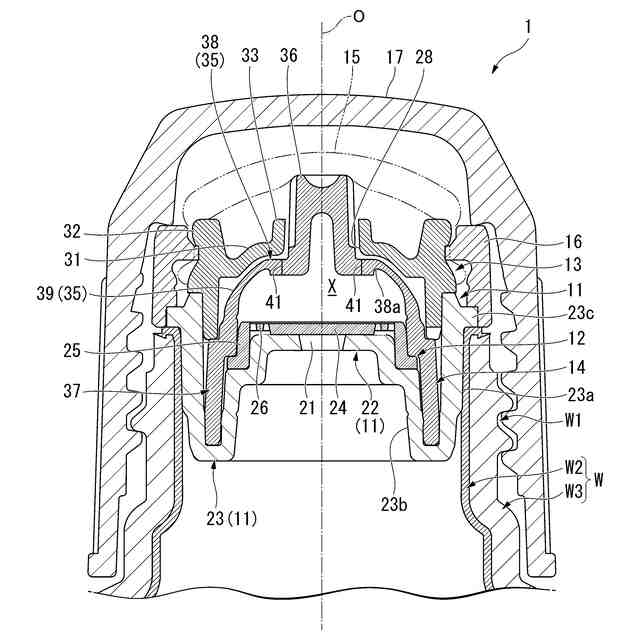
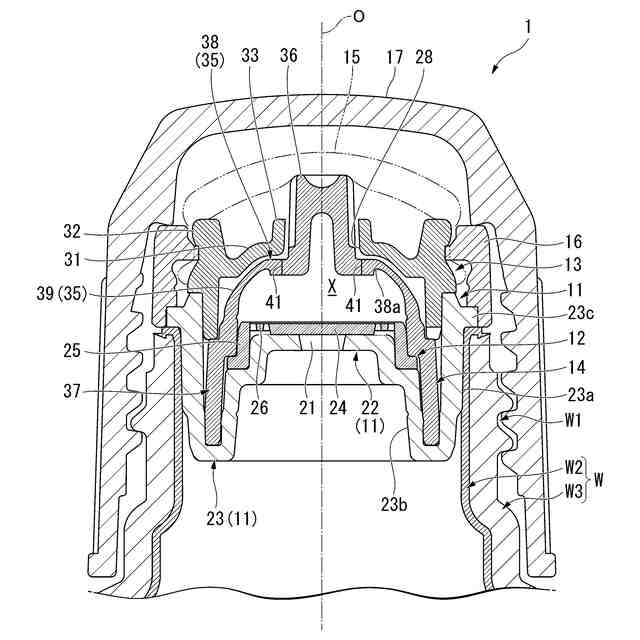
【課題】被塗布部に対する塗布部の押し付けを解除したときに、規定量の内容物を貯留室に貯留する。
【解決手段】内容器W2および外容器W3を備える容器本体Wと、中栓部材11と、逆止弁12と、吐出部材13と、塗布栓14と、を備え、塗布栓は、連通孔21を上方から覆い、中栓部材との間に貯留室Xを画成する弾性筒部35と、弾性筒部の頂壁38に設けられ、吐出孔28を通じて吐出部材から上方に突出した塗布部36と、を備え、弾性筒部の頂壁には、貯留室と吐出孔との連通を遮断し、弾性筒部が下方に向けて圧縮変形したときに拡開するスリット41が形成され、弾性筒部の周壁39のうち、少なくとも弾性筒部の頂壁に連なる上部が、弾性変形可能に形成され、弾性筒部の頂壁のうち、スリットが形成された部分は、弾性筒部の周壁の上部より厚肉に形成されている。
【選択図】図1
特許請求の範囲
【請求項1】
内容物が収容されるとともに内容物の減少に伴い減容変形する内容器、および前記内容器が内装され、前記内容器との間に外気を吸入する吸気孔が設けられた外容器を備える容器本体と、
前記容器本体の口部に装着され、前記内容器内に連通する連通孔が形成された中栓部材と、
前記中栓部材における前記連通孔の開口周縁部に対して、上方に離反可能に密接する逆止弁と、
前記連通孔を上方から覆い、かつ内容物の吐出孔が形成された吐出部材と、
前記中栓部材と前記吐出部材との間に設けられた塗布栓と、を備え、
前記塗布栓は、
有頂筒状に形成されるとともに、前記連通孔を上方から覆い、前記中栓部材との間に貯留室を画成する弾性筒部と、
前記弾性筒部の頂壁に設けられ、前記吐出孔を通じて前記吐出部材から上方に突出した塗布部と、を備え、
前記弾性筒部の頂壁には、前記貯留室と前記吐出孔との連通を遮断し、前記弾性筒部が下方に向けて圧縮変形したときに拡開して前記貯留室と前記吐出孔とを連通するスリットが形成され、
前記弾性筒部の周壁のうち、少なくとも前記弾性筒部の頂壁に連なる上部が、弾性変形可能に形成され、
前記弾性筒部の頂壁のうち、前記スリットが形成された部分は、前記弾性筒部の周壁の上部より厚肉に形成されている、塗布容器。
続きを表示(約 330 文字)
【請求項2】
前記スリットは、前記弾性筒部の頂壁において、前記塗布部を径方向の外側から囲うように、周方向に等間隔をあけて2つ以上4つ以下設けられている、請求項1に記載の塗布容器。
【請求項3】
前記貯留室は、上下方向の大きさが、上下方向から見て容器軸に交差する径方向の大きさ以下の扁平形状に形成されている、請求項1または2に記載の塗布容器。
【請求項4】
前記吐出部材における前記吐出孔の開口周縁部に、上方に向けて突出する規制突起が設けられ、
前記塗布部が前記規制突起から上方に向けて突出した突出量は、前記弾性筒部の頂壁と前記逆止弁との上下方向の距離より小さくなっている、請求項1または2に記載の塗布容器。
発明の詳細な説明
【技術分野】
【0001】
本発明は、塗布容器に関する。
続きを表示(約 2,600 文字)
【背景技術】
【0002】
従来から、内容物が収容されるとともに内容物の減少に伴い減容変形する内容器、および内容器が内装され、内容器との間に外気を吸入する吸気孔が設けられた外容器を備える容器本体と、容器本体の口部に装着され、内容器内に連通する連通孔が形成された中栓部材と、中栓部材における連通孔の開口周縁部に対して、上方に離反可能に密接する逆止弁と、連通孔を上方から覆い、かつ内容物の吐出孔が形成された吐出部材と、中栓部材と吐出部材との間に設けられた塗布栓と、を備えた、塗布容器が知られている。
例えば下記特許文献1に記載の塗布容器では、塗布栓が、有頂筒状に形成されるとともに、連通孔を上方から覆い、中栓部材との間に貯留室を画成する弾性筒部と、弾性筒部の頂壁に設けられ、吐出孔を通じて吐出部材から上方に突出した塗布部と、を備え、弾性筒部の頂壁には、貯留室と吐出孔との連通を遮断し、弾性筒部が下方に向けて圧縮変形したときに拡開して貯留室と吐出孔とを連通するスリットが形成されている。
この塗布容器では、塗布栓の塗布部を被塗布部に押し付けると、塗布部が吐出孔を通して貯留室側に押し込まれ、弾性筒部が上下方向に圧縮変形し、スリットが拡開して、貯留室と吐出孔とが連通する。この際、弾性筒部の圧縮変形に伴い、貯留室が加圧されることから、貯留室に内容物が貯留されていると、貯留室の内容物が、スリットおよび吐出孔を通して被塗布部に吐出され、また、逆止弁は連通孔を閉塞した状態に維持する。したがって、連通孔を通じた内容器内と貯留室との連通を遮断した状態で、貯留室に貯留されている規定量の内容物だけを被塗布部に塗布することができる。
以上より、外容器をスクイズ変形させなくても、塗布部を被塗布部に押し付けることで、貯留室に貯留されている分の内容物を吐出して塗布することが可能になり、少量の内容物であっても安定して塗布することができる。
次いで、被塗布部に対する塗布部の押し付けを解除すると、弾性筒部が復元変形してスリットが閉じ、貯留室と吐出孔との連通が遮断される。この際、貯留室が負圧になり、逆止弁が連通孔から上方に向けて離反し、連通孔を通して内容器内と貯留室とが連通し、内容器内の内容物が連通孔を通して貯留室に流入して貯留される。
一方、内容器が内容物の減少に伴って減容変形すると、内容器と外容器との間が負圧になり、外気が、外容器の吸気孔を通して内容器と外容器との間に吸入される。これにより、内容器が減容変形した状態に保たれ、外気が内容器内に進入することが抑制されることとなり、内容器内の内容物の酸化等を抑制することができ、内容物の品質を維持することができる。
【先行技術文献】
【特許文献】
【0003】
特開2023-144263号公報
【発明の概要】
【発明が解決しようとする課題】
【0004】
従来の塗布容器では、被塗布部に対する塗布部の押し付けを解除したときに、スリットが閉じる前に、弾性筒部の復元変形が始まり、外気がスリットを通して貯留室に流入し、貯留室の内圧が低下しないことから、逆止弁が開かず、規定量より少量の内容物が貯留室に貯留されるおそれがあった。
【0005】
本発明は、被塗布部に対する塗布部の押し付けを解除したときに、規定量の内容物を貯留室に貯留することができる塗布容器を提供する。
【課題を解決するための手段】
【0006】
本発明の一態様に係る塗布容器は、内容物が収容されるとともに内容物の減少に伴い減容変形する内容器、および前記内容器が内装され、前記内容器との間に外気を吸入する吸気孔が設けられた外容器を備える容器本体と、前記容器本体の口部に装着され、前記内容器内に連通する連通孔が形成された中栓部材と、前記中栓部材における前記連通孔の開口周縁部に対して、上方に離反可能に密接する逆止弁と、前記連通孔を上方から覆い、かつ内容物の吐出孔が形成された吐出部材と、前記中栓部材と前記吐出部材との間に設けられた塗布栓と、を備え、前記塗布栓は、有頂筒状に形成されるとともに、前記連通孔を上方から覆い、前記中栓部材との間に貯留室を画成する弾性筒部と、前記弾性筒部の頂壁に設けられ、前記吐出孔を通じて前記吐出部材から上方に突出した塗布部と、を備え、前記弾性筒部の頂壁には、前記貯留室と前記吐出孔との連通を遮断し、前記弾性筒部が下方に向けて圧縮変形したときに拡開して前記貯留室と前記吐出孔とを連通するスリットが形成され、前記弾性筒部の周壁のうち、少なくとも前記弾性筒部の頂壁に連なる上部が、弾性変形可能に形成され、前記弾性筒部の頂壁のうち、前記スリットが形成された部分は、前記弾性筒部の周壁の上部より厚肉に形成されている。
【0007】
弾性筒部の頂壁のうち、スリットが形成された部分が、弾性筒部の周壁のうち、弾性筒部の頂壁に連なり、かつ弾性変形可能に形成された上部より厚肉に形成されているので、塗布部を被塗布部に押し付け、弾性筒部を弾性変形させたときに、スリットが大きく拡開するのを抑えることが可能になり、被塗布部に対する塗布部の押し付けを解除したときに、即座にスリットを閉じることができる。
これにより、被塗布部に対する塗布部の押し付けの解除後、スリットが閉じる前に、弾性筒部の復元変形が始まるのを防ぐことが可能になり、規定量の内容物を貯留室に貯留することができる。
【0008】
前記スリットは、前記弾性筒部の頂壁において、前記塗布部を径方向の外側から囲うように、周方向に等間隔をあけて2つ以上4つ以下設けられてもよい。
【0009】
スリットが、弾性筒部の頂壁において、塗布部を径方向の外側から囲うように、周方向に等間隔をあけて2つ以上4つ以下設けられているので、各スリットが開閉するタイミングのずれを抑えることが可能になり、被塗布部に対する塗布部の押し付けの解除後、規定量の内容物を貯留室に確実に貯留することができる。
【0010】
前記貯留室は、上下方向の大きさが、上下方向から見て容器軸に交差する径方向の大きさ以下の扁平形状に形成されてもよい。
(【0011】以降は省略されています)
この特許をJ-PlatPat(特許庁公式サイト)で参照する
関連特許
株式会社吉野工業所
二重容器
26日前
株式会社吉野工業所
塗布容器
25日前
株式会社吉野工業所
吐出容器
25日前
株式会社吉野工業所
塗布容器
25日前
株式会社吉野工業所
塗布容器
26日前
株式会社吉野工業所
吐出ポンプ
25日前
株式会社吉野工業所
スポイト容器
25日前
株式会社吉野工業所
削り出し容器
25日前
株式会社吉野工業所
ポンプ式吐出器
26日前
株式会社吉野工業所
ポンプ式吐出器
26日前
株式会社吉野工業所
合成樹脂製壜体
25日前
株式会社吉野工業所
把手付きボトル
26日前
株式会社吉野工業所
コンパクト容器
25日前
株式会社吉野工業所
ポンプ式吐出器
25日前
株式会社吉野工業所
ポンプ式吐出容器
25日前
株式会社吉野工業所
キャップ付き吐出栓
25日前
株式会社吉野工業所
トリガー式液体噴出器
25日前
株式会社吉野工業所
トリガー式液体噴出器
26日前
花王株式会社
吐出容器
18日前
花王株式会社
吐出容器
18日前
株式会社吉野工業所
移行栓キャップ付き容器
25日前
株式会社吉野工業所
泡吐出具及び泡吐出容器
25日前
株式会社吉野工業所
オーバーキャップ付き容器
25日前
株式会社吉野工業所
フォーマーディスペンサー
26日前
株式会社吉野工業所
ポンプ式吐出具及びポンプ式吐出容器
25日前
株式会社吉野工業所
ノズル部材、ポンプ式吐出器、及び吐出器付き容器
25日前
個人
収容箱
3か月前
個人
コンベア
5か月前
個人
容器
9か月前
個人
段ボール箱
7か月前
個人
段ボール箱
7か月前
個人
ゴミ収集器
7か月前
個人
角筒状構造体
5か月前
個人
土嚢運搬器具
8か月前
個人
宅配システム
7か月前
個人
楽ちんハンド
5か月前
続きを見る
他の特許を見る