TOP
|
特許
|
意匠
|
商標
特許ウォッチ
Twitter
他の特許を見る
公開番号
2025152194
公報種別
公開特許公報(A)
公開日
2025-10-09
出願番号
2024053977
出願日
2024-03-28
発明の名称
トリガー式液体噴出器
出願人
株式会社吉野工業所
代理人
個人
,
個人
,
個人
,
個人
主分類
B05B
11/00 20230101AFI20251002BHJP(霧化または噴霧一般;液体または他の流動性材料の表面への適用一般)
要約
【課題】環境負荷を低減するとともに、使用者による廃棄の容易化を実現することができるトリガー式液体噴出器を提供する。
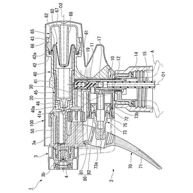
【解決手段】噴出器本体2は、トリガー部71の後方への移動によって液体が内部に供給される貯留シリンダ40と、貯留シリンダ40内に前後方向に移動可能に配置され、貯留シリンダ40内への液体の供給に伴って後方移動する貯留プランジャ45と、貯留プランジャ45を前方に付勢するプランジャ付勢部材60と、を備える。トリガー機構70は、トリガー部71の後方に配置され、前後方向に延びる主シリンダ72と、トリガー部71に連結され、主シリンダ72内に前後摺動可能に嵌合された主ピストン73と、トリガー部71を前方に付勢するトリガー付勢部材75と、を備える。プランジャ付勢部材60およびトリガー付勢部材75は、非金属の軟質材料により形成されている。
【選択図】図1
特許請求の範囲
【請求項1】
液体が収容された容器体に装着される噴出器本体と、
前記噴出器本体に装着されるとともに、液体を噴出する噴出孔が形成されたノズル部材と、
を備え、
前記噴出器本体は、
前記容器体内の液体を吸い上げる縦供給筒部と、
前記縦供給筒部の前方に前方付勢状態で後方に移動可能に配設されたトリガー部を有し、前記トリガー部の後方への移動によって、液体を前記縦供給筒部内から前記噴出孔側に流通させるトリガー機構と、
前記トリガー部の後方への移動によって、前記縦供給筒部内を通過した液体が内部に供給される貯留シリンダと、
前記貯留シリンダ内に前記貯留シリンダの中心軸線に沿う軸方向に移動可能に配置され、前記貯留シリンダ内への液体の供給に伴って前記軸方向の第1側に移動する貯留プランジャと、
前記貯留プランジャを前記軸方向の第2側に付勢するプランジャ付勢部材と、
を備え、
前記トリガー機構は、
前記トリガー部の後方に配置され、前後方向に延びる主シリンダと、
前記トリガー部に連結され、前記主シリンダ内に前後摺動可能に嵌合された主ピストンと、
前記トリガー部を前方に付勢するトリガー付勢部材と、
を備え、
前記プランジャ付勢部材および前記トリガー付勢部材は、非金属の軟質材料により形成されている、
トリガー式液体噴出器。
続きを表示(約 450 文字)
【請求項2】
前記プランジャ付勢部材は、前記貯留プランジャの前記第1側に配置され、
前記主ピストンは、前記トリガー部に連結された前端部、および前記主シリンダ内に前後摺動可能に嵌合された後端部を有し、
前記トリガー付勢部材は、前記主ピストンの前記後端部と前記トリガー部との間に配置されている、
請求項1に記載のトリガー式液体噴出器。
【請求項3】
前記貯留プランジャは、前記第1側に開口した筒状に形成され、
前記プランジャ付勢部材は、
前記貯留プランジャの前記第1側の開口端縁に接触したプランジャ側接触部と、
前記貯留プランジャの内側に押し込まれ、前記貯留シリンダに対して前記第1側への移動が規制されたシリンダ側接触部と、
前記プランジャ側接触部および前記シリンダ側接触部を接続し、伸長状態で前記貯留プランジャの内側に配置された接続部と、
を備える、
請求項1または請求項2に記載のトリガー式液体噴出器。
発明の詳細な説明
【技術分野】
【0001】
本発明は、トリガー式液体噴出器に関するものである。
続きを表示(約 2,100 文字)
【背景技術】
【0002】
従来から、例えば下記特許文献1に示されるような、液体が収容された容器体に装着される噴出器本体と、噴出器本体に装着され、液体を噴出する噴出孔が形成されたノズル部材と、を備え、噴出器本体は、容器体内の液体を吸上げる縦供給筒部と、前方付勢状態で後方に移動可能に配設されたトリガー部を有し、トリガー部の後方への移動によって、液体を縦供給筒部内から噴出孔側に向けて流通させるトリガー機構と、トリガー部の後方への移動によって、縦供給筒部内を通過した液体が内部に供給される貯留シリンダと、貯留シリンダ内に貯留シリンダの中心軸線に沿う軸方向に移動可能に配設され、貯留シリンダ内への液体の供給に伴って軸方向のうちの一方側に向けて移動すると共に、他方側に向けて付勢される貯留プランジャと、貯留プランジャを他方側に向けて付勢するプランジャ付勢部材と、を備え、噴出孔を通じて液体の連続噴出が可能とされたトリガー式液体噴出器が知られている。
【0003】
このトリガー式液体噴出器において、トリガー機構は、トリガー部の後方に配置され、前後方向に延びる主シリンダと、前端部がトリガー部に連結され、かつ後端部が主シリンダ内に前後摺動可能に嵌合された主ピストンと、主ピストンの後端部とトリガー部との間に設けられてトリガー部を前方に付勢するトリガー付勢部材と、を備えている。
【先行技術文献】
【特許文献】
【0004】
特開2023-98189号公報
【発明の概要】
【発明が解決しようとする課題】
【0005】
ところで、従来のトリガー式液体噴出器では、付勢部材を噴出器本体から取り出しにくく、金属材料からなる付勢部材と、合成樹脂材料からなるその他の部材と、を分別することが困難であるという問題があった。このため、環境負荷を低減するという観点や、使用者による廃棄の容易化という観点から、トリガー式液体噴出器に対して金属材料からなる付勢部材を使用しないことが求められている。
【0006】
そこで本発明は、環境負荷を低減するとともに、使用者による廃棄の容易化を実現することができるトリガー式液体噴出器を提供するものである。
【課題を解決するための手段】
【0007】
本発明の第1の態様に係るトリガー式液体噴出器は、液体が収容された容器体に装着される噴出器本体と、前記噴出器本体に装着されるとともに、液体を噴出する噴出孔が形成されたノズル部材と、を備え、前記噴出器本体は、前記容器体内の液体を吸い上げる縦供給筒部と、前記縦供給筒部の前方に前方付勢状態で後方に移動可能に配設されたトリガー部を有し、前記トリガー部の後方への移動によって、液体を前記縦供給筒部内から前記噴出孔側に流通させるトリガー機構と、前記トリガー部の後方への移動によって、前記縦供給筒部内を通過した液体が内部に供給される貯留シリンダと、前記貯留シリンダ内に前記貯留シリンダの中心軸線に沿う軸方向に移動可能に配置され、前記貯留シリンダ内への液体の供給に伴って前記軸方向の第1側に移動する貯留プランジャと、前記貯留プランジャを前記軸方向の第2側に付勢するプランジャ付勢部材と、を備え、前記トリガー機構は、前記トリガー部の後方に配置され、前後方向に延びる主シリンダと、前記トリガー部に連結され、前記主シリンダ内に前後摺動可能に嵌合された主ピストンと、前記トリガー部を前方に付勢するトリガー付勢部材と、を備え、前記プランジャ付勢部材および前記トリガー付勢部材は、非金属の軟質材料により形成されている。
【0008】
第1の態様によれば、プランジャ付勢部材およびトリガー付勢部材が非金属材料により形成されているので、環境負荷を低減し、かつ使用者による廃棄の容易化を実現することができる。さらに例えば、全ての部材がまとめてリサイクル可能な合成樹脂等の材料によって形成されたトリガー式液体噴出器を実現することができる。その結果、トリガー式液体噴出器の廃棄に際し、プランジャ付勢部材およびトリガー付勢部材と、他の部材と、を分別する必要をなくすことができる。したがって、使用者による廃棄の容易化を実現することができる。
【0009】
本発明の第2の態様に係るトリガー式液体噴出器は、上記第1の態様に係るトリガー式液体噴出器において、前記プランジャ付勢部材は、前記貯留プランジャの前記第1側に配置され、前記主ピストンは、前記トリガー部に連結された前端部、および前記主シリンダ内に前後摺動可能に嵌合された後端部を有し、前記トリガー付勢部材は、前記主ピストンの前記後端部と前記トリガー部との間に配置されていてもよい。
【0010】
第2の態様によれば、プランジャ付勢部材およびトリガー付勢部材がトリガー式液体噴出器内を流通する液体に接触しないので、プランジャ付勢部材およびトリガー付勢部材の匂いが液体に移ることを抑制できる。
(【0011】以降は省略されています)
この特許をJ-PlatPat(特許庁公式サイト)で参照する
関連特許
株式会社吉野工業所
吐出容器
27日前
株式会社吉野工業所
塗布容器
27日前
株式会社吉野工業所
吐出ポンプ
27日前
株式会社吉野工業所
計量注出容器
今日
株式会社吉野工業所
削り出し容器
27日前
株式会社吉野工業所
ポンプ式吐出器
27日前
株式会社吉野工業所
コンパクト容器
27日前
株式会社吉野工業所
トリガー式液体噴出器
27日前
花王株式会社
吐出容器
20日前
花王株式会社
吐出容器
20日前
株式会社吉野工業所
泡吐出具及び泡吐出容器
27日前
株式会社吉野工業所
移行栓キャップ付き容器
27日前
株式会社吉野工業所
オーバーキャップ付き容器
27日前
株式会社吉野工業所
ポンプ式吐出具及びポンプ式吐出容器
27日前
ベック株式会社
被膜形成方法
1か月前
有限会社 芦屋ドレス
湯噴霧器
15日前
アイカ工業株式会社
塗料仕上げ工法
1か月前
ベック株式会社
装飾被膜の形成方法
3か月前
株式会社吉野工業所
キャップ
4か月前
スズカファイン株式会社
多色性塗膜
1か月前
プルガティオ株式会社
噴霧装置
4か月前
プルガティオ株式会社
噴霧装置
4か月前
個人
スプレー缶高所対応携帯ホルダー
1か月前
日本ライナー株式会社
塗装装置
1か月前
プルガティオ株式会社
噴霧装置
4か月前
トヨタ自動車株式会社
塗布装置
1か月前
能美防災株式会社
水噴霧ヘッド
1か月前
株式会社カネカ
塗布装置
1か月前
ヒット工業株式会社
マスキング具
2か月前
中外炉工業株式会社
塗工装置
3か月前
株式会社吉野工業所
ポンプ式吐出器
4か月前
東レエンジニアリング株式会社
粉体吐出装置
28日前
ブラザー工業株式会社
塗工装置
27日前
東レエンジニアリング株式会社
スリットダイ
1か月前
ブラザー工業株式会社
塗工装置
27日前
ブラザー工業株式会社
塗工装置
27日前
続きを見る
他の特許を見る