TOP
|
特許
|
意匠
|
商標
特許ウォッチ
Twitter
他の特許を見る
公開番号
2025150089
公報種別
公開特許公報(A)
公開日
2025-10-09
出願番号
2024050791
出願日
2024-03-27
発明の名称
粉体吐出装置
出願人
東レエンジニアリング株式会社
代理人
主分類
B05C
19/04 20060101AFI20251002BHJP(霧化または噴霧一般;液体または他の流動性材料の表面への適用一般)
要約
【課題】吐出機構内で粉体材料が詰まることを防ぐことができる粉体吐出装置を提供することを目的とする。
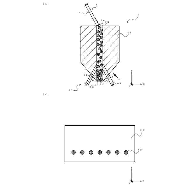
【解決手段】粉体材料を吐出する粉体吐出装置であって、一方向に長く形成され、粉体材料を吐出する吐出口と、前記吐出口と繋がり粉体材料を前記吐出口に供給する吐出流路と、が形成された吐出機構と、前記吐出流路にガスを送気する送気部と、前記吐出機構に形成され、前記送気部から送気されたガスを前記吐出流路に吹き込ませる孔部と、を有している構成とする。
【選択図】図2
特許請求の範囲
【請求項1】
粉体材料を吐出する粉体吐出装置であって、
一方向に長く形成され、粉体材料を吐出する吐出口と、前記吐出口と繋がり粉体材料を前記吐出口に供給する吐出流路と、が形成された吐出機構と、
前記吐出流路にガスを送気する送気部と、
前記吐出機構に形成され、前記送気部から送気されたガスを前記吐出流路に吹き込ませる孔部と、を有していることを特徴とする粉体吐出装置。
続きを表示(約 390 文字)
【請求項2】
前記孔部は、前記吐出流路に吹き込まれるガスが、上向きの速度成分を有するように形成されていることを特徴とする請求項1に記載の粉体吐出装置。
【請求項3】
前記孔部は、前記吐出口の近傍に形成されていることを特徴とする請求項2に記載の粉体吐出装置。
【請求項4】
前記孔部は、前記吐出口を挟み込むように複数形成されていることを特徴とする請求項3に記載の粉体吐出装置。
【請求項5】
前記孔部は、前記吐出機構の長手方向に沿って配列されるように複数形成されていることを特徴とする請求項1から請求項4のいずれかに記載の粉体吐出装置。
【請求項6】
前記送気部には、前記吐出流路に送気するガスに含まれる水分を除去する水分除去部が設けられていることを特徴とする請求項1から請求項4のいずれかに記載の粉体吐出装置。
発明の詳細な説明
【技術分野】
【0001】
本発明は、粉体材料を吐出する粉体吐出装置に関するものである。
続きを表示(約 1,600 文字)
【背景技術】
【0002】
リチウムイオン電池用の電極の製造工程では、ロールツーロールで搬送されるアルミ箔や、銅箔などのシート状の基材に対して、活物質やバインダーなどを溶剤によって混合させたスラリーを塗布して塗膜を形成する技術が知られている。しかし、上記の技術では、形成後の塗膜を乾燥させる必要があり、その際に消費されるエネルギーが、リチウムイオン電池用の電極の製造工程において消費されるエネルギーの大半を占めていた。そこで、近年、塗膜の乾燥工程を必要とすることなく、リチウムイオン電池用の電極を形成することができる技術が求められている。
【0003】
これに対し、たとえば、下記特許文献1には、活物質(以下、粉体材料)やバインダーなどを溶剤によって混合させることなく、粉体材料を基材上に吐出する粉体吐出装置を用いたリチウムイオン電池用の電極の製造方法が開示されている。粉体吐出装置は、粉体材料を吐出する吐出口と、吐出口と繋がり粉体材料を吐出口に供給する吐出流路と、が形成された吐出機構を有しており、この吐出機構によって基材上に粉体材料を吐出することにより粉体層を形成するようになっている。そして、基材の表面に形成された粉体層をプレスすることにより、粉体材料の密度を高めている。これにより、乾燥工程を必要としない、リチウムイオン電池用の電極の形成が可能になり、リチウムイオン電池用の電極を製造工程において消費されるエネルギーを低減させることができるようになっている。
【先行技術文献】
【特許文献】
【0004】
特開2016-115567号公報
【発明の概要】
【発明が解決しようとする課題】
【0005】
しかし、上記粉体吐出装置では、形成されるリチウムイオン電池用の電極に不良が生じる場合があった。すなわち、上記粉体吐出装置では、溶剤を用いずに粉体材料を吐出しているため、吐出流路において粉体材料が凝集しやすくなっており、吐出機構内で粉体材料が詰まる可能性があった。そして、吐出機構内で粉体材料が詰まると、吐出機構から吐出される粉体材料の量が不均一になり、基材上に形成される粉体層に凹凸が生じる場合があった。
【0006】
本発明は、上記の問題点を鑑みてなされたものであり、吐出機構内で粉体材料が詰まることを防ぐことができる粉体吐出装置を提供することを目的とする。
【課題を解決するための手段】
【0007】
上記課題を解決するために本発明の粉体吐出装置は、粉体材料を吐出する粉体吐出装置であって、一方向に長く形成され、粉体材料を吐出する吐出口と、前記吐出口と繋がり粉体材料を前記吐出口に供給する吐出流路と、が形成された吐出機構と、前記吐出流路にガスを送気する送気部と、前記吐出機構に形成され、前記送気部から送気されたガスを前記吐出流路に吹き込ませる孔部と、を有していることを特徴としている。
【0008】
上記粉体吐出装置によれば、送気部によって送気されたガスが孔部を通じて吐出流路に吹き込まれることにより、吐出流路に存在する粉体材料を分散させることができるため、吐出流路において粉体材料が凝集することを抑制し、粉体材料を流動させることができる。これにより、吐出機構内で粉体材料が詰まることを防ぐことができる。
【0009】
また、前記孔部は、前記吐出流路に吹き込まれるガスが、上向きの速度成分を有するように形成されている構成としてもよい。
【0010】
この構成によれば、吐出流路にガスを上向きに吹き込ませて粉体材料を下から上に吹き上げることができるため、粉体材料の落下速度を緩和することができ、吐出流路において粉体材料を分散させた状態で吐出口に供給するができる。これにより、吐出機構内で粉体材料が詰まることを防ぎやすくなる。
(【0011】以降は省略されています)
この特許をJ-PlatPat(特許庁公式サイト)で参照する
関連特許
ベック株式会社
被膜形成方法
28日前
ベック株式会社
被膜形成方法
4か月前
ベック株式会社
被膜形成方法
4か月前
有限会社 芦屋ドレス
湯噴霧器
13日前
スズカファイン株式会社
多色性塗膜
1か月前
株式会社吉野工業所
キャップ
3か月前
アイカ工業株式会社
塗料仕上げ工法
1か月前
ベック株式会社
装飾被膜の形成方法
3か月前
プルガティオ株式会社
噴霧装置
4か月前
日本ライナー株式会社
塗装装置
1か月前
個人
スプレー缶高所対応携帯ホルダー
1か月前
プルガティオ株式会社
噴霧装置
4か月前
能美防災株式会社
水噴霧ヘッド
1か月前
株式会社カネカ
塗布装置
1か月前
プルガティオ株式会社
噴霧装置
4か月前
トヨタ自動車株式会社
塗布装置
1か月前
ヒット工業株式会社
マスキング具
2か月前
株式会社吉野工業所
ポンプ式吐出器
4か月前
中外炉工業株式会社
塗工装置
3か月前
ブラザー工業株式会社
塗工装置
25日前
東レエンジニアリング株式会社
粉体吐出装置
26日前
ブラザー工業株式会社
塗工装置
25日前
東レエンジニアリング株式会社
スリットダイ
28日前
ブラザー工業株式会社
塗工装置
25日前
旭サナック株式会社
粉体塗装装置
1か月前
株式会社吉野工業所
吐出器
4か月前
株式会社吉野工業所
吐出器
3か月前
トヨタ自動車株式会社
間欠塗工装置
7日前
ブラザー工業株式会社
静電塗工装置
25日前
積水ハウス株式会社
接着剤塗布装置
3か月前
株式会社大関
塗装用ローラとその製造方法
4か月前
個人
散水形態を変更可能な吐水装置
1か月前
トリニティ工業株式会社
回転霧化式塗装機
1か月前
AWJ株式会社
ステンシルプレートセット
2か月前
株式会社トーモク
印刷装置および印刷方法
1か月前
三菱鉛筆株式会社
多液混合型塗布具
3か月前
続きを見る
他の特許を見る