TOP
|
特許
|
意匠
|
商標
特許ウォッチ
Twitter
他の特許を見る
10個以上の画像は省略されています。
公開番号
2025169208
公報種別
公開特許公報(A)
公開日
2025-11-12
出願番号
2025073940
出願日
2025-04-28
発明の名称
被膜形成方法
出願人
ベック株式会社
代理人
主分類
B05D
3/12 20060101AFI20251105BHJP(霧化または噴霧一般;液体または他の流動性材料の表面への適用一般)
要約
【課題】本発明は、仕上り性に優れた被膜を形成することができる被膜形成方法を提供する。
【解決手段】被膜形成方法であって、下地に、第1被覆材を塗付し、第1被膜を形成する[1]工程を含み、上記[1]工程は、第1被覆材を塗付する[1-1]工程、該第1被覆材が非流動状態となった後に、鏝で被膜表面を均し、硬化させ第1被膜を形成する[1-2]工程を含み、上記第1被覆材は、樹脂成分及び粉粒体を含み、該粉粒体として光輝性顔料及び多孔質粉粒体を含むことを特徴とする。
【選択図】なし
特許請求の範囲
【請求項1】
被膜形成方法であって、
下地に、第1被覆材を塗付し、第1被膜を形成する[1]工程を含み、
上記[1]工程は、
第1被覆材を塗付する[1-1]工程、
該第1被覆材が非流動状態となった後に、鏝で被膜表面を均し、硬化させ第1被膜を形成する[1-2]工程を含み、
上記第1被覆材は、樹脂成分及び粉粒体を含み、該粉粒体として光輝性顔料及び多孔質粉粒体を含むことを特徴とする被膜形成方法。
続きを表示(約 360 文字)
【請求項2】
上記第1被覆材は、隠蔽率が60%以上であることを特徴とする請求項1に記載の被膜形成方法。
【請求項3】
上記鏝は、鏝板と取手を備え、
上記鏝板の底面及び/または縁部が曲面形状であることを特徴とする請求項1に記載の被膜形成方法。
【請求項4】
上記第1被膜に、第2被覆材を塗付し、第2被膜を形成する[2]工程を含むことを特徴とする請求項1に記載の被膜形成方法。
【請求項5】
上記第2被覆材は、樹脂成分及び粉粒体を含み、該粉粒体として光輝性顔料を含むことを特徴とする請求項4に記載の被膜形成方法。
【請求項6】
上記[2]工程は、第2被覆材を塗付して模様を付与する工程、を含むことを特徴とする請求項4に記載の被膜形成方法。
発明の詳細な説明
【技術分野】
【0001】
本発明は、被膜形成方法に関するものである。
続きを表示(約 2,300 文字)
【背景技術】
【0002】
従来、建築物、土木構造物等の壁面に対し、種々の模様を有する装飾被膜を形成することが行われている。このような装飾被膜としては、例えば、自然石調、木目調、金属調(メタリック調)、パール調、レザー調、陶磁器(釉薬)調、アンティーク調等がある。
【0003】
装飾被膜を形成する被覆材としては、厚塗りタイプの被覆材、薄塗りタイプの被覆材等がある。
厚塗りタイプの被覆材では、凹凸や質感等により様々な模様を付与した重厚感のある装飾を付与することができる。
一方、薄塗りタイプの被覆材は、単色仕上げや2色以上の塗り分け仕上げ、あるいは転写模様等によりシンプルな装飾を付与することができる。しかし、薄塗りタイプの被覆材は、下地等の凹凸を拾ったり、透けたりする場合があるため、下地処理が重要である。
【0004】
例えば、薄塗りタイプの被覆材として、光輝性顔料を含む塗膜の仕上りは下地の影響を受け易く、場合によっては下地の凹凸を拾ったり、ムラを生じたり、所望の光輝感が得られない場合がある。
そのため、例えば、特許文献1では、メタリック塗膜形成工程前に、エナメル塗料を塗付して下塗り塗膜を形成させることが記載されている。また、特許文献2では、メタリック塗膜形成工程前に、着色塗料を隠蔽膜厚以上に塗付して下塗り塗膜を形成させることが記載されている。さらに、特許文献3では、下地層にプライマーを複数回塗り重ねたのち、メタリック塗料を塗付することが記載されている。
【先行技術文献】
【特許文献】
【0005】
特開2017-087144号公報
特開2022-066179号公報
特開2001-259514号公報
【発明の概要】
【発明が解決しようとする課題】
【0006】
しかしながら、上記特許文献1、2のように、エナメル塗料(着色塗料)を塗付するだけでは、下地の凹凸に沿って下塗り塗膜が形成されるため、平坦な下塗塗膜は得られ難く、メタリック塗膜の仕上りが低下するおそれがある。
また、上記特許文献2のように、着色塗料を下地が隠蔽するように塗付する場合、隠蔽膜厚を得るためには、特許文献3のプライマーのように複数回塗り重ねが必要となり、手間と時間がかかり効率的ではない。
【課題を解決するための手段】
【0007】
このような課題を解決するために本発明者らは、特定の工程を含む被膜形成方法を見出し、本発明の完成に至った。
【0008】
すなわち、本発明は以下の特徴を有するものである。
1.被膜形成方法であって、
下地に、第1被覆材を塗付し、第1被膜を形成する[1]工程を含み、
上記[1]工程は、
第1被覆材を塗付する[1-1]工程、
該第1被覆材が非流動状態となった後に、鏝で被膜表面を均し、硬化させ第1被膜を形成する[1-2]工程を含み、
上記第1被覆材は、樹脂成分及び粉粒体を含み、該粉粒体として光輝性顔料及び多孔質粉粒体を含むことを特徴とする被膜形成方法。
2.上記第1被覆材は、隠蔽率が60%以上であることを特徴とする1.に記載の被膜形成方法。
3.上記鏝は、鏝板と取手を備え、
上記鏝板の底面及び/または縁部が曲面形状であることを特徴とする1.に記載の被膜形成方法。
4.上記第1被膜に、第2被覆材を塗付し、第2被膜を形成する[2]工程を含むことを特徴とする1.に記載の被膜形成方法。
5.上記第2被覆材は、樹脂成分及び粉粒体を含み、該粉粒体として光輝性顔料を含むことを特徴とする4.に記載の被膜形成方法。
6.上記[2]工程は、第2被覆材を塗付して模様を付与する工程、を含むことを特徴とする4.に記載の被膜形成方法。
【発明の効果】
【0009】
本発明の被膜形成方法は、効率的に下地表面を平坦化することができる。特に、本発明の被膜形成方法を含むことにより、効率的に下地表面を平坦化することができる。その結果、例えば次工程で薄塗りタイプの被覆材を用いる仕上げ方法において、下地等の凹凸の影響を受けることなく、仕上り性、美観性に優れた意匠性被膜を形成することができる。
【図面の簡単な説明】
【0010】
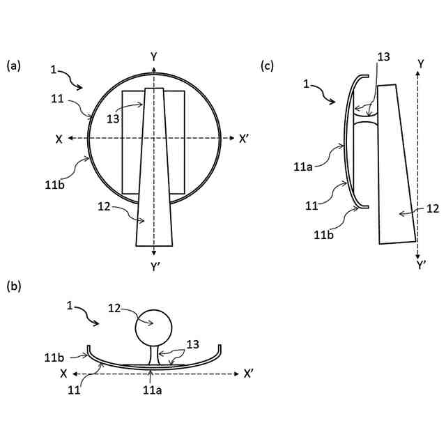
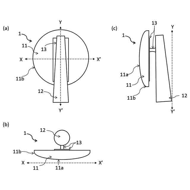
図1は、本発明で使用する鏝の一例である。(a)は、正面図、(b)は(a)のX-X’断面図、(c)は、(a)のY-Y’断面図である。
図2は、本発明で使用する鏝の一例である。(a)は、正面図、(b)は(a)のX-X’断面図、(c)は、(a)のY-Y’断面図である。
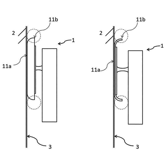
図3は、図1または図2に示す鏝を使用した一例である。
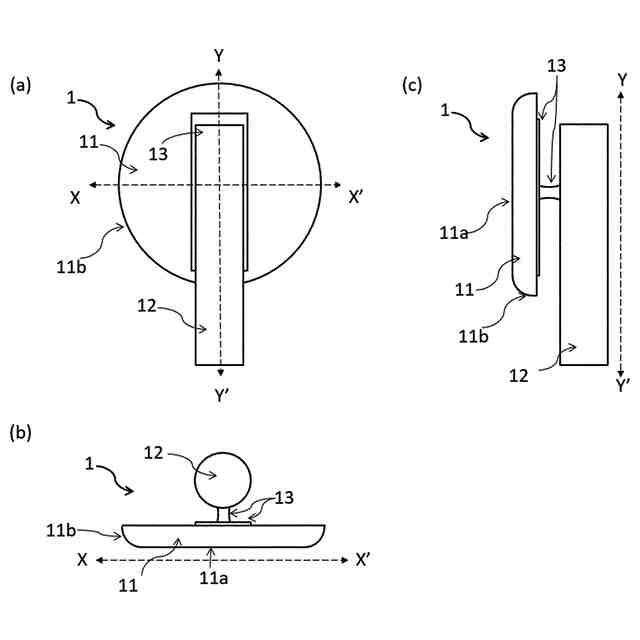
図4は、本発明で使用する鏝の一例である。(a)は、正面図、(b)は(a)のX-X’断面図、(c)は、(a)のY-Y’断面図である。
図5は、本発明で使用する鏝の一例である。(a)は、正面図、(b)は(a)のX-X’断面図、(c)は、(a)のY-Y’断面図である。
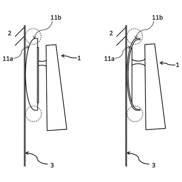
図6は、図4または図5に示す鏝を使用した一例である。
図7は、本発明の被膜形成方法の[1]工程の一例である。
図8は、本発明の被膜形成方法の[2]工程の一例である。
【符号の説明】
(【0011】以降は省略されています)
この特許をJ-PlatPat(特許庁公式サイト)で参照する
関連特許
ベック株式会社
水性被覆材
1か月前
ベック株式会社
被膜形成方法
22日前
ベック株式会社
被膜形成方法
22日前
ベック株式会社
被膜形成方法
22日前
ベック株式会社
被膜形成方法
22日前
ベック株式会社
被膜形成方法
22日前
ベック株式会社
被膜形成方法
1か月前
ベック株式会社
被膜形成方法
1か月前
ベック株式会社
被膜形成方法
4か月前
ベック株式会社
装飾被膜の形成方法
4か月前
ベック株式会社
顔料分散液
3か月前
ベック株式会社
剥離剤組成物
6日前
個人
微細霧発生装置
27日前
ベック株式会社
被膜形成方法
22日前
ベック株式会社
被膜形成方法
5か月前
ベック株式会社
被膜形成方法
5か月前
ベック株式会社
被膜形成方法
22日前
ベック株式会社
被膜形成方法
22日前
ベック株式会社
被膜形成方法
22日前
ベック株式会社
被膜形成方法
22日前
ベック株式会社
被膜形成方法
1か月前
有限会社 芦屋ドレス
湯噴霧器
1か月前
株式会社シラトミ
塗装方法
6日前
アイカ工業株式会社
塗料仕上げ工法
2か月前
ベック株式会社
装飾被膜の形成方法
4か月前
株式会社吉野工業所
キャップ
4か月前
スズカファイン株式会社
多色性塗膜
2か月前
トヨタ自動車株式会社
塗工装置
6日前
日本ライナー株式会社
塗装装置
2か月前
プルガティオ株式会社
噴霧装置
5か月前
プルガティオ株式会社
噴霧装置
5か月前
トヨタ自動車株式会社
塗布装置
2か月前
プルガティオ株式会社
噴霧装置
5か月前
能美防災株式会社
水噴霧ヘッド
2か月前
株式会社カネカ
塗布装置
2か月前
個人
スプレー缶高所対応携帯ホルダー
2か月前
続きを見る
他の特許を見る