TOP
|
特許
|
意匠
|
商標
特許ウォッチ
Twitter
他の特許を見る
公開番号
2025142634
公報種別
公開特許公報(A)
公開日
2025-10-01
出願番号
2024042097
出願日
2024-03-18
発明の名称
塗布装置
出願人
トヨタ自動車株式会社
代理人
個人
主分類
B05C
5/00 20060101AFI20250924BHJP(霧化または噴霧一般;液体または他の流動性材料の表面への適用一般)
要約
【課題】高粘度の接着剤を複数の本数で一度に塗布でき、かつ、取り扱いが容易である塗布装置を提供すること。
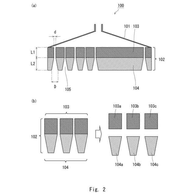
【解決手段】本開示にかかる塗布装置は、板状の電池モジュール又は板状の冷却器の上に、接着剤を直線状かつ平行に複数の本数で塗布するように構成された塗布装置であって、接着剤の流入口を備えるテーパ部と、接着剤を吐出する複数のノズル部とを備え、複数のノズル部は、内径が一定である第1領域と、入口穴及び出口穴の径が互いに異なる第2領域とを備え、第1領域の内径及び入口穴の内径は、出口穴の内径よりも小さく、ノズル部の長さは、50mm以上であり、当該塗布装置は、テーパ部及び複数のノズル部において、接着剤の流路と直交する面において分解可能であるように構成されたものである。
【選択図】図2
特許請求の範囲
【請求項1】
板状の電池モジュール又は板状の冷却器の上に、接着剤を直線状かつ平行に複数の本数で塗布するように構成された塗布装置であって、
前記接着剤の流入口を備えるテーパ部と、前記接着剤を吐出する複数のノズル部とを備え、
複数の前記ノズル部は、内径が一定である第1領域と、入口穴及び出口穴の径が互いに異なる第2領域とを備え、
前記第1領域の内径及び前記入口穴の内径は、前記出口穴の内径よりも小さく、
前記ノズル部の長さは、50mm以上であり、
当該塗布装置は、前記テーパ部及び複数の前記ノズル部において、前記接着剤の流路と直交する面において分解可能であるように構成された、
塗布装置。
続きを表示(約 320 文字)
【請求項2】
前記入口穴の内径は、前記出口穴の内径の40%である、
請求項1に記載の塗布装置。
【請求項3】
前記接着剤は、熱伝導材及び導電性接着剤の少なくとも2種類であり、
前記熱伝導材及び前記導電性接着剤は、いずれも金属フィラーが含有されている、
請求項1に記載の塗布装置。
【請求項4】
前記熱伝導材及び前記導電性接着剤の粘度は、いずれも400Pa・sである、
請求項3に記載の塗布装置。
【請求項5】
当該塗布装置は、前記テーパ部、前記第1領域、及び前記第2領域の3つの部品に分割できるように構成された、
請求項1に記載の塗布装置。
発明の詳細な説明
【技術分野】
【0001】
本開示は、塗布装置に関する。
続きを表示(約 1,100 文字)
【背景技術】
【0002】
車載等に使用される大型バイポーラ電池は、電池モジュール、冷却器、集電板、通電板を備えており、これらの部品は接着剤を塗布することにより積層される。
【0003】
また、特許文献1には、複数流路から均一な流速にて処理液を吐出する方法が開示されている。
【先行技術文献】
【特許文献】
【0004】
特開平11-221511号公報
【発明の概要】
【発明が解決しようとする課題】
【0005】
上述の大型バイポーラ電池の積層には、複数種類の接着剤が使用され、いずれの接着剤も高い粘度を有することから、塗布後に高い圧縮荷重が生じる。
【0006】
圧縮荷重を低減するためには、細いビードにて複数本に分けて接着剤を塗布することが好ましい。一方で、隣り合うビードは圧縮時に接触しないようする必要があるため、精度よく塗布できるノズルが必要となる。
【0007】
高い粘度を有する接着剤に特許文献1に開示される吐出方法を適用すると、ノズルのメンテナンス頻度が増えることが予期される。一方で、複数本の接着剤を一度に塗布することから、塗布装置は大型化するため、メンテナンス作業によるコスト増加の課題も生じる。
【0008】
本開示は、このような課題を解決するためになされたものであり、高粘度の接着剤を複数の本数で一度に塗布でき、かつ、取り扱いが容易である塗布装置を提供することを目的とする。
【課題を解決するための手段】
【0009】
本開示にかかる塗布装置は、板状の電池モジュール又は板状の冷却器の上に、接着剤を直線状かつ平行に複数の本数で塗布するように構成された塗布装置であって、前記接着剤の流入口を備えるテーパ部と、前記接着剤を吐出する複数のノズル部とを備え、複数の前記ノズル部は、内径が一定である第1領域と、入口穴及び出口穴の径が互いに異なる第2領域とを備え、前記第1領域の内径及び前記入口穴の内径は、前記出口穴の内径よりも小さく、前記ノズル部の長さは、50mm以上であり、当該塗布装置は、前記テーパ部及び複数の前記ノズル部において、前記接着剤の流路と直交する面において分解可能であるように構成されたものである。これにより、高粘度の接着剤を複数の本数で一度に塗布でき、かつ、取り扱いが容易である塗布装置を提供することができる。
【0010】
また、前記入口穴の内径は、前記出口穴の内径の40%であってもよい。これにより、高粘度の接着剤を複数の本数で一度に塗布でき、かつ、取り扱いが容易である塗布装置を提供することができる。
(【0011】以降は省略されています)
この特許をJ-PlatPat(特許庁公式サイト)で参照する
関連特許
トヨタ自動車株式会社
車両
12日前
トヨタ自動車株式会社
装置
22日前
トヨタ自動車株式会社
装置
22日前
トヨタ自動車株式会社
車両
2日前
トヨタ自動車株式会社
車両
23日前
トヨタ自動車株式会社
車両
21日前
トヨタ自動車株式会社
電池
2日前
トヨタ自動車株式会社
回転子
13日前
トヨタ自動車株式会社
モータ
13日前
トヨタ自動車株式会社
電動車
今日
トヨタ自動車株式会社
ロータ
今日
トヨタ自動車株式会社
サーバ
6日前
トヨタ自動車株式会社
電動車
12日前
トヨタ自動車株式会社
蓄電装置
2日前
トヨタ自動車株式会社
加熱装置
12日前
トヨタ自動車株式会社
蓄電装置
2日前
トヨタ自動車株式会社
制御装置
12日前
トヨタ自動車株式会社
制御装置
12日前
トヨタ自動車株式会社
内燃機関
12日前
トヨタ自動車株式会社
蓄電装置
12日前
トヨタ自動車株式会社
電動車両
21日前
トヨタ自動車株式会社
電動車両
21日前
トヨタ自動車株式会社
給電装置
12日前
トヨタ自動車株式会社
電動車両
21日前
トヨタ自動車株式会社
蓄電装置
2日前
トヨタ自動車株式会社
制御装置
2日前
トヨタ自動車株式会社
蓄電装置
2日前
トヨタ自動車株式会社
蓄電装置
6日前
トヨタ自動車株式会社
制御装置
2日前
トヨタ自動車株式会社
蓄電装置
2日前
トヨタ自動車株式会社
冷却構造
5日前
トヨタ自動車株式会社
二次電池
2日前
トヨタ自動車株式会社
電源装置
23日前
トヨタ自動車株式会社
電動車両
12日前
トヨタ自動車株式会社
電動車両
12日前
トヨタ自動車株式会社
冷却装置
12日前
続きを見る
他の特許を見る