TOP
|
特許
|
意匠
|
商標
特許ウォッチ
Twitter
他の特許を見る
公開番号
2025167363
公報種別
公開特許公報(A)
公開日
2025-11-07
出願番号
2024071901
出願日
2024-04-25
発明の名称
路側装置
出願人
トヨタ自動車株式会社
代理人
個人
,
個人
,
個人
,
個人
主分類
G08G
1/16 20060101AFI20251030BHJP(信号)
要約
【課題】通信機能を有する車両を監視する技術を改善する。
【解決手段】路側装置(10)は、利用者に対して情報を通知する第1通知部(15)及び第2通知部(16)と、制御部(11)と、を備え、制御部(11)は、路側装置(10)の周囲の車両(20)に関する情報を提供すべき対象者の存否を判定し、対象者が存在すると判定された場合、車両(20)の位置及び動作の少なくともいずれかに基づき、第1通知部(15)及び第2通知部(16)により、対象者に対して、車両(20)との関係で推奨される行動を示唆する情報を通知する。
【選択図】図1
特許請求の範囲
【請求項1】
利用者に対して情報を通知する第1通知部及び第2通知部と、
制御部と、
を備える路側装置であって、
前記制御部は、
前記路側装置の周囲の車両に関する情報を提供すべき対象者の存否を判定し、
前記対象者が存在すると判定された場合、前記車両の位置及び動作の少なくともいずれかに基づき、前記第1通知部及び前記第2通知部により、前記対象者に対して、前記車両との関係で推奨される行動を示唆する情報を通知する、
路側装置。
発明の詳細な説明
【技術分野】
【0001】
本開示は、路側装置に関する。
続きを表示(約 1,400 文字)
【背景技術】
【0002】
従来、通信機能を有する車両を監視する技術が知られている。例えば特許文献1には、所定の交通領域を通過予定の自動運転車両の挙動に応じて、当該自動運転車両以外の車両及び歩行者などに対し通行可否及び注意喚起などの報知を行う報知システムについて開示されている。
【先行技術文献】
【特許文献】
【0003】
特開2023-50629号公報
【発明の概要】
【発明が解決しようとする課題】
【0004】
通信機能を有する車両を監視する技術の改善が望まれている。
【0005】
かかる事情に鑑みてなされた本開示の目的は、通信機能を有する車両を監視する技術を改善することにある。
【課題を解決するための手段】
【0006】
本開示の一実施形態に係る路側装置は、利用者に対して情報を通知する第1通知部及び第2通知部と、制御部と、を備える路側装置であって、前記制御部は、前記路側装置の周囲の車両に関する情報を提供すべき対象者の存否を判定し、前記対象者が存在すると判定された場合、前記車両の位置及び動作の少なくともいずれかに基づき、前記第1通知部及び前記第2通知部により、前記対象者に対して、前記車両との関係で推奨される行動を示唆する情報を通知する。
【発明の効果】
【0007】
本開示の一実施形態によれば、通信機能を有する車両を監視する技術が改善される。
【図面の簡単な説明】
【0008】
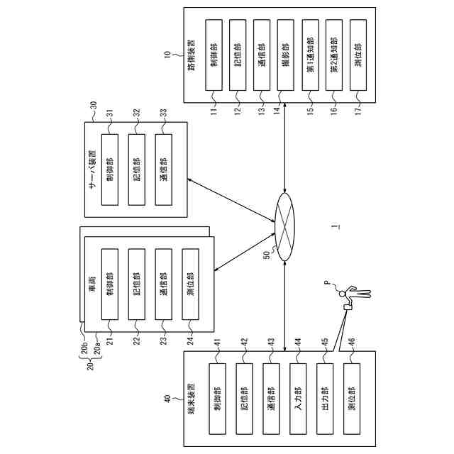
一実施形態に係る情報処理システムの構成を示す図である。
図1の情報処理システムの動作例を示すフローチャートである。
【発明を実施するための形態】
【0009】
(実施形態の概要)
図1は、一実施形態に係る情報処理システム1の構成例を示す図である。情報処理システム1は、路側装置10、車両20a,20b、サーバ装置30、及び、端末装置40を備える。以下、車両20a,20bをまとめて「車両20」と称する場合がある。路側装置10、車両20、サーバ装置30、及び、端末装置40は、例えば移動体通信網及びインターネット等を含むネットワーク50と通信可能に接続される。
【0010】
路側装置10は、車両20の乗員及び歩行者P等に対し、死角に位置する歩行者P及び他の車両20等の接近を画像、光、及び、音声等により通知して、自動運転車両が走行する環境における安心感を醸成する。路側装置10は、もっぱら自動運転車両に関する情報を通知してもよい。路側装置10は、例えば交差点又は横断歩道等の付近を含む、車道の路側に設置される。路側装置10は、車両20及び端末装置40の位置情報をサーバ装置30から取得したり、撮影した映像から、車道を横断しようとする歩行者P及び車両20等を検出したりすることができる。例えば、路側装置10は、歩行者Pを検出すると、自機に接近中の車両20の有無を歩行者Pに通知する。路側装置10は、歩行者P又は他の車両20を検出すると、自機の検知エリアに進入した車両20の乗員に、歩行者P又は他の車両20の存在を通知する。路側装置10は、バッテリにより動作してもよい。
(【0011】以降は省略されています)
この特許をJ-PlatPat(特許庁公式サイト)で参照する
関連特許
トヨタ自動車株式会社
電池
1日前
トヨタ自動車株式会社
電池
1日前
トヨタ自動車株式会社
蓄電装置
1日前
トヨタ自動車株式会社
蓄電装置
1日前
トヨタ自動車株式会社
処理装置
1日前
トヨタ自動車株式会社
制御装置
1日前
トヨタ自動車株式会社
蓄電装置
1日前
トヨタ自動車株式会社
蓄電装置
1日前
トヨタ自動車株式会社
蓄電装置
1日前
トヨタ自動車株式会社
蓄電装置
1日前
トヨタ自動車株式会社
蓄電装置
1日前
トヨタ自動車株式会社
蓄電装置
1日前
トヨタ自動車株式会社
蓄電装置
1日前
トヨタ自動車株式会社
蓄電装置
1日前
トヨタ自動車株式会社
蓄電装置
1日前
トヨタ自動車株式会社
蓄電装置
1日前
トヨタ自動車株式会社
車両装置
1日前
トヨタ自動車株式会社
エンジン
1日前
トヨタ自動車株式会社
塗工装置
1日前
トヨタ自動車株式会社
蓄電装置
1日前
トヨタ自動車株式会社
蓄電装置
1日前
トヨタ自動車株式会社
蓄電装置
2日前
トヨタ自動車株式会社
蓄電装置
2日前
トヨタ自動車株式会社
投影システム
1日前
トヨタ自動車株式会社
作業システム
1日前
トヨタ自動車株式会社
情報処理装置
3日前
トヨタ自動車株式会社
充電システム
2日前
トヨタ自動車株式会社
通信システム
2日前
トヨタ自動車株式会社
情報処理装置
2日前
トヨタ自動車株式会社
車両側部構造
1日前
トヨタ自動車株式会社
車両前部構造
1日前
トヨタ自動車株式会社
電池スタック
1日前
トヨタ自動車株式会社
車両下部構造
1日前
トヨタ自動車株式会社
投影システム
1日前
トヨタ自動車株式会社
オイルシール
1日前
トヨタ自動車株式会社
投影システム
1日前
続きを見る
他の特許を見る