TOP
|
特許
|
意匠
|
商標
特許ウォッチ
Twitter
他の特許を見る
公開番号
2025173415
公報種別
公開特許公報(A)
公開日
2025-11-27
出願番号
2024078995
出願日
2024-05-14
発明の名称
情報処理装置
出願人
トヨタ自動車株式会社
代理人
個人
,
個人
,
個人
,
個人
主分類
G08G
1/00 20060101AFI20251119BHJP(信号)
要約
【課題】本開示の目的は、隊列走行に関する技術を改善することである。
【解決手段】
情報処理装置10は、記憶部100と、制御部101と、通信部102と、を備え、記憶部100は、複数の登録車両20それぞれの隊列走行の条件である走行条件を記憶し、制御部201は、前記複数の登録車両20の中から、走行条件が互いに満たされる2以上の登録車両20を車両グループとして選択し、車両グループの走行条件に基づいて、車両グループの隊列走行のルールである第1ルールを決定し、車両グループのうち、第1ルールに基づく隊列走行に参加する参加車両に、第1ルールに基づく隊列走行への移行の指示を、通信部102によって送信する。
【選択図】図2
特許請求の範囲
【請求項1】
情報処理装置であって、記憶部と、制御部と、通信部と、を備え、
前記記憶部は、複数の登録車両それぞれの隊列走行の条件である走行条件を記憶し、
前記制御部は、
前記複数の登録車両の中から、走行条件が互いに満たされる2以上の登録車両を車両グループとして選択し、
前記車両グループの走行条件に基づいて、前記車両グループの隊列走行のルールである第1ルールを決定し、
前記車両グループのうち、前記第1ルールに基づく隊列走行に参加する各参加車両に、前記第1ルールに基づく隊列走行への移行の指示を、前記通信部によって送信する、情報処理装置。
続きを表示(約 650 文字)
【請求項2】
請求項1に記載の情報処理装置であって、前記走行条件は、走行経路及び走行時間帯の条件を含む、情報処理装置。
【請求項3】
請求項2に記載の情報処理装置であって、前記車両グループを選択することは、
前記複数の登録車両の中から、前記走行経路及び前記走行時間帯の条件が互いに満たされる登録車両を、前記車両グループとして選択することを含む、情報処理装置。
【請求項4】
請求項1に記載の情報処理装置であって、前記制御部は、さらに、
前記車両グループの各車両に、前記第1ルールと、第1ルールに基づく隊列走行に参加するか否かを確認するメッセージと、を前記通信部によって送信し、
参加を承諾した車両から、参加の承諾を示すメッセージを前記通信部によって受信し、
隊列走行への参加を承諾した車両を、前記参加車両として決定する、情報処理装置。
【請求項5】
請求項1~4のいずれか1項に記載の情報処理装置であって、前記制御部は、さらに、
前記複数の登録車両の中から、前記車両グループの走行条件を満たす1つ以上の追加車両を特定し、
前記車両グループ及び前記1つ以上の追加車両の走行条件に基づいて、前記1つ以上の追加車両の隊列走行のルールである第2ルールを決定し、
前記1つ以上の追加車両のそれぞれに、前記第2ルールに基づく隊列走行への移行の指示を、前記通信部によって送信する、情報処理装置。
発明の詳細な説明
【技術分野】
【0001】
本開示は、情報処理装置に関する。
続きを表示(約 1,200 文字)
【背景技術】
【0002】
従来、複数の車両が隊列を組んで走行する隊列走行に関する技術が知られている。例えば、特許文献1は、車両がACC(Adaptive Cruise Control)による単独走行中に、風よけ効果の高い先行車両が検出されると、車両を単独走行から当該先行車両との隊列走行に移行させる隊列走行システムを開示している。
【先行技術文献】
【特許文献】
【0003】
特開2023-163739
【発明の概要】
【発明が解決しようとする課題】
【0004】
燃費改善及び交通安全等の観点から、複数の車両を単独走行から隊列走行に移行させることが望ましい場合がある。しかしながら、燃費性能及び走行経路等の条件が異なる複数の車両による隊列走行は、一部の車両の燃費を悪化させる可能性があり、また、隊列走行への参加又は隊列走行からの離脱の頻度を増加させて、運転者にわずらわしさを感じさせる可能性がある。
【0005】
かかる事情に鑑みてなされた本開示の目的は、隊列走行に関する技術を改善することである。
【課題を解決するための手段】
【0006】
本開示の一実施形態に係る情報処理装置は、記憶部と、制御部と、通信部と、を備え、
前記記憶部は、複数の登録車両それぞれの隊列走行の条件である走行条件を記憶し、
前記制御部は、
前記複数の登録車両の中から、走行条件が互いに満たされる2以上の登録車両を車両グループとして選択し、
前記車両グループの走行条件に基づいて、前記車両グループの隊列走行のルールである第1ルールを決定し、
前記車両グループのうち、前記第1ルールに基づく隊列走行に参加する各参加車両に、前記第1ルールに基づく隊列走行への移行の指示を、前記通信部によって送信する。
【発明の効果】
【0007】
本開示の一実施形態によれば、隊列走行に関する技術が改善される。
【図面の簡単な説明】
【0008】
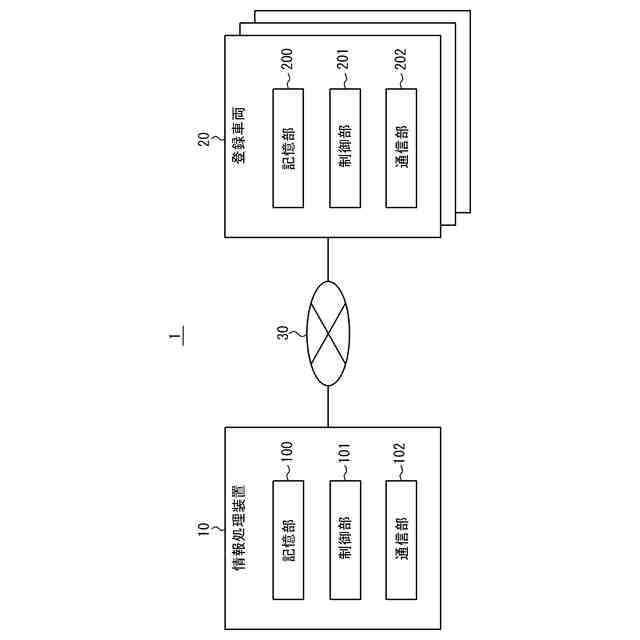
本開示の一実施形態に係るシステムの概略構成を示すブロック図である。
本開示の一実施形態に係る情報処理装置の動作を示すフローチャートである。
【発明を実施するための形態】
【0009】
以下、本開示の実施形態について説明する。
【0010】
(本実施形態の概要)
図1を参照して、本開示の実施形態に係るシステム1の概要について説明する。システム1は、情報処理装置10と、複数の登録車両20と、を備える。情報処理装置10及び複数の登録車両20は、インターネット及び移動体通信網等のネットワーク30と通信可能に接続される。
(【0011】以降は省略されています)
この特許をJ-PlatPat(特許庁公式サイト)で参照する
関連特許
トヨタ自動車株式会社
配管
8日前
トヨタ自動車株式会社
電池
13日前
トヨタ自動車株式会社
車両
8日前
トヨタ自動車株式会社
車両
7日前
トヨタ自動車株式会社
電池
7日前
トヨタ自動車株式会社
電動車
8日前
トヨタ自動車株式会社
電動車
7日前
トヨタ自動車株式会社
ロータ
8日前
トヨタ自動車株式会社
判定装置
7日前
トヨタ自動車株式会社
コネクタ
7日前
トヨタ自動車株式会社
制御装置
8日前
トヨタ自動車株式会社
エンジン
7日前
トヨタ自動車株式会社
制御装置
8日前
トヨタ自動車株式会社
学習装置
7日前
トヨタ自動車株式会社
制御装置
8日前
トヨタ自動車株式会社
制御装置
7日前
トヨタ自動車株式会社
反応容器
7日前
トヨタ自動車株式会社
蓄電装置
7日前
トヨタ自動車株式会社
エンジン
8日前
トヨタ自動車株式会社
蓄電装置
今日
トヨタ自動車株式会社
蓄電装置
7日前
トヨタ自動車株式会社
蓄電装置
7日前
トヨタ自動車株式会社
製造設備
13日前
トヨタ自動車株式会社
監視装置
13日前
トヨタ自動車株式会社
蓄電装置
今日
トヨタ自動車株式会社
制御装置
7日前
トヨタ自動車株式会社
電気自動車
7日前
トヨタ自動車株式会社
正極活物質
1日前
トヨタ自動車株式会社
正極活物質
1日前
トヨタ自動車株式会社
熱利用回路
1日前
トヨタ自動車株式会社
スイッチ装置
8日前
トヨタ自動車株式会社
排気浄化装置
8日前
トヨタ自動車株式会社
燃料電池セル
8日前
トヨタ自動車株式会社
車両制御装置
8日前
トヨタ自動車株式会社
車両前部構造
7日前
トヨタ自動車株式会社
通信システム
今日
続きを見る
他の特許を見る