TOP
|
特許
|
意匠
|
商標
特許ウォッチ
Twitter
他の特許を見る
公開番号
2025170577
公報種別
公開特許公報(A)
公開日
2025-11-19
出願番号
2024075270
出願日
2024-05-07
発明の名称
排気浄化装置
出願人
トヨタ自動車株式会社
代理人
個人
,
個人
主分類
F01N
3/28 20060101AFI20251112BHJP(機械または機関一般;機関設備一般;蒸気機関)
要約
【課題】触媒コンバータに流れ込む排気の拡散の促進と、凝縮水の滞留の抑制と、を両立させることができるようにすること。
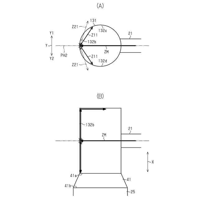
【解決手段】排気浄化装置は、排気マニホールド21と触媒コンバータ25とを繋ぐ接続部30を備えている。接続部30は拡散部31と連結部41とを有している。連結部41は、拡散部31との接続箇所41aから触媒コンバータ25との接続箇所41bに向かうにつれて通路断面積が拡大するように構成されている。拡散部31の側面は、排気マニホールド21が接続される接続面32aと、排気マニホールド21から拡散部31内に流入した排気が衝突する衝突面32bと、第1連結面32cと、第2連結面32dと、を含んでいる。第1連結面32c、第2連結面32d及び衝突面32bの断面形状が円弧状をなしている。衝突面32bの断面形状の曲率が第1連結面32c及び第2連結面32dの断面形状の曲率よりも小さい。
【選択図】図2
特許請求の範囲
【請求項1】
排気マニホールドと、円筒状の触媒コンバータと、前記排気マニホールドと前記触媒コンバータとを繋ぐ接続部と、を備え、前記排気マニホールドから前記接続部に流入した排気が前記触媒コンバータに導かれるように構成された排気浄化装置であって、
前記接続部は、前記排気マニホールドが接続される筒状の拡散部と、前記拡散部と前記触媒コンバータとを連結する連結部と、を有し、
前記拡散部は、当該拡散部の中心軸と前記触媒コンバータの中心軸とが揃うように配置されており、
前記連結部は、前記拡散部との接続箇所から前記触媒コンバータとの接続箇所に向かうにつれて通路断面積が拡大するように構成されており、
前記拡散部の側面は、前記排気マニホールドが接続される面である接続面と、前記拡散部の中心軸を挟んだ前記接続面の反対側の面であって、前記排気マニホールドから前記拡散部内に流入した排気が衝突する面である衝突面と、前記接続面の上端と前記衝突面の上端とを繋ぐ第1連結面と、前記接続面の下端と前記衝突面の下端とを繋ぐ第2連結面と、を含み、
前記拡散部の中心軸と直交する面で当該拡散部を切断した場合における、前記第1連結面、前記第2連結面及び前記衝突面の断面形状が円弧状をなしており、前記衝突面の断面形状の曲率が前記第1連結面及び前記第2連結面の断面形状の曲率よりも小さい
排気浄化装置。
続きを表示(約 610 文字)
【請求項2】
排気マニホールドと、円筒状の触媒コンバータと、前記排気マニホールドと前記触媒コンバータとを繋ぐ接続部と、を備え、前記排気マニホールドから前記接続部に流入した排気が前記触媒コンバータに導かれるように構成された排気浄化装置であって、
前記接続部は、前記排気マニホールドが接続される筒状の拡散部と、前記拡散部と前記触媒コンバータとを連結する連結部と、を有し、
前記拡散部は、当該拡散部の中心軸と前記触媒コンバータの中心軸とが揃うように配置されており、
前記連結部は、前記拡散部との接続箇所から前記触媒コンバータとの接続箇所に向かうにつれて通路断面積が拡大するように構成されており、
前記拡散部の側面は、前記排気マニホールドが接続される面である接続面と、前記拡散部の中心軸を挟んだ前記接続面の反対側の面であって、前記排気マニホールドから前記拡散部内に流入した排気が衝突する面である衝突面と、前記接続面の上端と前記衝突面の上端とを繋ぐ第1連結面と、前記接続面の下端と前記衝突面の下端とを繋ぐ第2連結面と、を含み、
前記衝突面は平面である
排気浄化装置。
【請求項3】
前記拡散部の中心軸と直交する面で当該拡散部を切断した場合における前記第1連結面及び前記第2連結面の断面形状が円弧状をなしている
請求項2に記載の排気浄化装置。
発明の詳細な説明
【技術分野】
【0001】
本発明は、内燃機関に設けられる排気浄化装置に関する。
続きを表示(約 2,300 文字)
【背景技術】
【0002】
特許文献1は、排気マニホールドと、触媒コンバータと、排気マニホールドと触媒コンバータとの間に介在する旋回流発生器と、を備えた排気浄化装置の一例を開示している。当該排気浄化装置では、排気マニホールドから旋回流発生器に排気が流入すると、当該旋回流発生器内で排気の旋回流が発生する。これにより、触媒コンバータに流れ込む排気の流れが拡散される。
【先行技術文献】
【特許文献】
【0003】
特開2006-9793号公報
【発明の概要】
【発明が解決しようとする課題】
【0004】
上記の排気浄化装置にあっては、排気マニホールドで発生した凝縮水が、下方に位置する旋回流発生器に流れ込む。触媒コンバータに排気を導く流出部は、旋回流発生部の最下部よりも上方に接続されている。そのため、旋回流発生器に凝縮水が溜まるおそれがある。
【課題を解決するための手段】
【0005】
上記課題を解決するための排気浄化装置の第1態様は、排気マニホールドと、円筒状の触媒コンバータと、前記排気マニホールドと前記触媒コンバータとを繋ぐ接続部と、を備え、前記排気マニホールドから前記接続部に流入した排気が前記触媒コンバータに導かれるように構成されている。当該排気浄化装置において、前記接続部は、前記排気マニホールドが接続される筒状の拡散部と、前記拡散部と前記触媒コンバータとを連結する連結部と、を有している。前記拡散部は、当該拡散部の中心軸と前記触媒コンバータの中心軸とが揃うように配置されている。前記連結部は、前記拡散部との接続箇所から前記触媒コンバータとの接続箇所に向かうにつれて通路断面積が拡大するように構成されている。前記拡散部の側面は、前記排気マニホールドが接続される面である接続面と、前記拡散部の中心軸を挟んだ前記接続面の反対側の面であって、前記排気マニホールドから前記拡散部内に流入した排気が衝突する面である衝突面と、前記接続面の上端と前記衝突面の上端とを繋ぐ第1連結面と、前記接続面の下端と前記衝突面の下端とを繋ぐ第2連結面と、を含んでいる。前記拡散部の中心軸と直交する面で当該拡散部を切断した場合における、前記第1連結面、前記第2連結面及び前記衝突面の断面形状が円弧状をなしており、前記衝突面の断面形状の曲率が前記第1連結面及び前記第2連結面の断面形状の曲率よりも小さい。
【0006】
上記課題を解決するための排気浄化装置の第2態様は、排気マニホールドと、円筒状の触媒コンバータと、前記排気マニホールドと前記触媒コンバータとを繋ぐ接続部と、を備え、前記排気マニホールドから前記接続部に流入した排気が前記触媒コンバータに導かれるように構成されている。当該排気浄化装置において、前記接続部は、前記排気マニホールドが接続される筒状の拡散部と、前記拡散部と前記触媒コンバータとを連結する連結部と、を有している。前記拡散部は、当該拡散部の中心軸と前記触媒コンバータの中心軸とが揃うように配置されている。前記連結部は、前記拡散部との接続箇所から前記触媒コンバータとの接続箇所に向かうにつれて通路断面積が拡大するように構成されている。前記拡散部の側面は、前記排気マニホールドが接続される面である接続面と、前記拡散部の中心軸を挟んだ前記接続面の反対側の面であって、前記排気マニホールドから前記拡散部内に流入した排気が衝突する面である衝突面と、前記接続面の上端と前記衝突面の上端とを繋ぐ第1連結面と、前記接続面の下端と前記衝突面の下端とを繋ぐ第2連結面と、を含んでいる。前記衝突面は平面である。
【発明の効果】
【0007】
上記排気浄化装置は、触媒コンバータに流れ込む排気の拡散の促進と、凝縮水の滞留の抑制と、を両立させることができるという効果を奏する。
【図面の簡単な説明】
【0008】
図1は、第1実施形態の排気浄化装置と、当該排気浄化装置に排気を排出する内燃機関とを示す模式図である。
図2において、(A)及び(B)は、図1の排気浄化装置が備える拡散部の断面形状を模式的に示す図である。
図3において、(A)及び(B)は、比較例の拡散部の断面形状を模式的に示す図である。
図4において、(A)及び(B)は、第2実施形態の排気浄化装置が備える拡散部の断面形状を模式的に示す図である。
【発明を実施するための形態】
【0009】
(第1実施形態)
以下、排気浄化装置の第1実施形態を図1~図3に従って説明する。
<排気浄化装置の構成>
図1は、排気浄化装置20と、排気浄化装置20が適用される内燃機関10と、を示している。排気浄化装置20は、排気マニホールド21と、接続部30と、円筒状の触媒コンバータ25と、を備えている。内燃機関10の複数の気筒内で生成された排気が排気マニホールド21に排出される。排気マニホールド21は、複数の気筒から流出した排気が合流する合流部22を有している。
【0010】
接続部30は、排気マニホールド21の合流部22と触媒コンバータ25とを繋ぐ。そのため、図1に白抜き矢印で示すように、合流部22から接続部30に流入した排気が、触媒コンバータ25に導かれる。
(【0011】以降は省略されています)
この特許をJ-PlatPat(特許庁公式サイト)で参照する
関連特許
トヨタ自動車株式会社
方法
1日前
トヨタ自動車株式会社
車両
2日前
トヨタ自動車株式会社
冷凍回路
1日前
トヨタ自動車株式会社
駆動装置
1日前
トヨタ自動車株式会社
蓄電装置
2日前
トヨタ自動車株式会社
蓄電装置
2日前
トヨタ自動車株式会社
エンジン
1日前
トヨタ自動車株式会社
受電装置
1日前
トヨタ自動車株式会社
蓄電装置
3日前
トヨタ自動車株式会社
接合構造
1日前
トヨタ自動車株式会社
車載装置
2日前
トヨタ自動車株式会社
制御装置
1日前
トヨタ自動車株式会社
予測モデル
3日前
トヨタ自動車株式会社
電気自動車
3日前
トヨタ自動車株式会社
電気自動車
3日前
トヨタ自動車株式会社
電気自動車
3日前
トヨタ自動車株式会社
電池パック
2日前
トヨタ自動車株式会社
正極活物質
1日前
トヨタ自動車株式会社
電気自動車
3日前
トヨタ自動車株式会社
電池パック
2日前
トヨタ自動車株式会社
電気自動車
3日前
トヨタ自動車株式会社
車両制御装置
2日前
トヨタ自動車株式会社
本人認証方法
2日前
トヨタ自動車株式会社
情報処理装置
2日前
トヨタ自動車株式会社
回転トランス
3日前
トヨタ自動車株式会社
情報処理装置
1日前
トヨタ自動車株式会社
充電制御装置
3日前
トヨタ自動車株式会社
情報処理装置
1日前
トヨタ自動車株式会社
動力伝達装置
1日前
トヨタ自動車株式会社
車両前部構造
2日前
トヨタ自動車株式会社
触媒コンバータ
1日前
トヨタ自動車株式会社
車両用駆動装置
1日前
トヨタ自動車株式会社
触媒コンバータ
1日前
トヨタ自動車株式会社
車両用駆動装置
1日前
トヨタ自動車株式会社
車両用蓄電装置
1日前
トヨタ自動車株式会社
車両の配管構造
3日前
続きを見る
他の特許を見る