TOP
|
特許
|
意匠
|
商標
特許ウォッチ
Twitter
他の特許を見る
公開番号
2025169598
公報種別
公開特許公報(A)
公開日
2025-11-14
出願番号
2024074441
出願日
2024-05-01
発明の名称
監視装置
出願人
トヨタ自動車株式会社
代理人
個人
,
個人
,
個人
,
個人
,
個人
,
個人
,
個人
主分類
G08G
1/16 20060101AFI20251107BHJP(信号)
要約
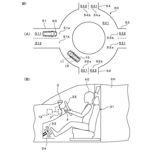
【課題】ラウンドアバウトにおいて、ドライバが他車両の進入位置を見ていても、脇見と判定しない監視装置を提供する。
【解決手段】監視装置は、ドライバの顔の向きを表す情報に基づいて、所定の判定基準を用いて、ドライバが脇見をしているか否かを判定する第1判定部と、地図情報に基づいて、自車両の現在位置がラウンドアバウト内にあるか否かを判定する第2判定部と、第2判定部によって自車両の現在位置がラウンドアバウト内にあると判定された場合、ラウンドアバウトへの他車両の進入位置の方向にドライバの顔が向くことに対して、ドライバが脇見をしていると判定されないように判定基準を変更する変更部と、を有する。
【選択図】図2
特許請求の範囲
【請求項1】
ドライバの顔の向きを表す情報に基づいて、所定の判定基準を用いて、ドライバが脇見をしているか否かを判定する第1判定部と、
地図情報に基づいて、自車両の現在位置がラウンドアバウト内にあるか否かを判定する第2判定部と、
前記第2判定部によって自車両の現在位置がラウンドアバウト内にあると判定された場合、当該ラウンドアバウトへの他車両の進入位置の方向にドライバの顔が向くことに対して、ドライバが脇見をしていると判定されないように前記判定基準を変更する変更部と、
を有する、ことを特徴とする監視装置。
続きを表示(約 670 文字)
【請求項2】
前記第2判定部は、地図情報に基づいて自車両の現在位置がラウンドアバウト内に位置していると判定し、且つ、自車両の当該ラウンドアバウト内への進入動作が完了したと判定した場合、自車両の現在位置がラウンドアバウト内にあると判定する、請求項1に記載の監視装置。
【請求項3】
前記第2判定部は、自車両のステアリングホイールの操舵角が、当該ラウンドアバウト内への進入のための第1方向の操舵角からゼロとなって当該第1方向とは反対の第2方向の操舵角となるか、又は、自車両のヨーレートが、前記第1方向のヨーレートからゼロとなり前記第2方向のヨーレートへと変化した場合、自車両の当該ラウンドアバウト内への前記進入動作が完了したと判定する、請求項2に記載の監視装置。
【請求項4】
自車両がラウンドアバウトから退出する退出位置において、当該ラウンドアバウトから退出するための自車両の進行方向の変更を表すウィンカ操作部への操作が行われたか否かを判定する第3判定部を有し、
前記変更部は、前記第3判定部によってウィンカ操作部への前記操作が行われたと判定された場合、前記判定基準を変更前の初期値に変更する、請求項1に記載の監視装置。
【請求項5】
前記第2判定部によって自車両の現在位置がラウンドアバウト内にあると判定された場合、前記変更部は、自車両が走行している道路の曲がっている方向にドライバの顔が向いていることに対して、前記判定基準を緩和するように変更する、請求項1に記載の監視装置。
発明の詳細な説明
【技術分野】
【0001】
本開示は、監視装置に関する。
続きを表示(約 1,100 文字)
【背景技術】
【0002】
従来、ドライバの状態を監視するために監視装置が車両に搭載されている。例えば、監視装置は、ドライバが脇見をしているかを監視する。
【0003】
監視装置は、車両の進行方向に対して水平方向に所定の角度以上の方向をドライバが向いている場合、脇見をしていると判定して警告を通知する。
【0004】
車両が交差点等において他車両が進入してくる進入位置を走行する場合、ドライバは進入位置の方向を見る。これは安全確認のための動作であり、このような動作に対して警告が通知されることはドライバに対して煩わしいので、脇見の判定基準が緩和されていた(例えば、特許文献1を参照)。
【0005】
例えば、所定の判定時間におけるトータルの脇見時間が基準時間を超えた時に脇見をしていると判定する場合、判定基準の緩和として、基準時間を長くすることがある。
【先行技術文献】
【特許文献】
【0006】
特開2007-226666号公報
【発明の概要】
【発明が解決しようとする課題】
【0007】
車両は、ラウンドアバウト(環状交差点)を走行することがある。ラウンドアバウトは、環状道路と、この環状道路に他車両が進入する複数の進入位置を有する。車両がラウンドアバウトを走行している時、ドライバは、進入位置から他車両が進入してくるか否かを確認する。
【0008】
ラウンドアバウトでは進入位置が環状道路上に頻繁に現れるので、判定基準を緩和しても、トータルの脇見時間が基準時間を超えるおそれがある。脇見時間が基準時間を超えると、ドライバに対して警告が通知されることになる。
【0009】
そこで、本開示は、ラウンドアバウトにおいて、ドライバが他車両の進入位置を見ていても、脇見と判定しない監視装置を提供することを課題とする。
【課題を解決するための手段】
【0010】
(1)一実施形態によれば、監視装置が提供される。この監視装置は、ドライバの顔の向きを表す情報に基づいて、所定の判定基準を用いて、ドライバが脇見をしているか否かを判定する第1判定部と、地図情報に基づいて、自車両の現在位置がラウンドアバウト内にあるか否かを判定する第2判定部と、第2判定部によって自車両の現在位置がラウンドアバウト内にあると判定された場合、当該ラウンドアバウトへの他車両の進入位置の方向にドライバの顔が向くことに対して、ドライバが脇見をしていると判定されないように判定基準を変更する変更部と、を有する、ことを特徴とする。
(【0011】以降は省略されています)
この特許をJ-PlatPat(特許庁公式サイト)で参照する
関連特許
日本精機株式会社
警報システム
2か月前
個人
安全支援装置
10日前
個人
自動電動車椅子
1か月前
株式会社SUBARU
車両
1か月前
スズキ株式会社
運転支援装置
2か月前
エムケー精工株式会社
車両誘導装置
2か月前
株式会社国際電気
防災システム
2か月前
ニッタン株式会社
検知器
2か月前
日本無線株式会社
船舶システム
11日前
ニッタン株式会社
検知器
2か月前
ニッタン株式会社
検知器
2か月前
ニッタン株式会社
検知器
1か月前
個人
磁気路上での車両の路線離脱防御
1か月前
トヨタ自動車株式会社
サーバ
19日前
トヨタ自動車株式会社
サーバ
1か月前
株式会社SUBARU
運転支援装置
1か月前
大阪瓦斯株式会社
音声出力システム
1か月前
株式会社小糸製作所
移動体検出装置
2か月前
ダイハツ工業株式会社
移動支援装置
29日前
日本信号株式会社
異常走行検出装置
1か月前
株式会社CCT
通信装置及び表示方法
1か月前
日本精機株式会社
報知装置及び報知システム
1か月前
三菱自動車工業株式会社
制御システム
1か月前
株式会社小糸製作所
車両検出システム
2か月前
株式会社デンソー
運航管理装置
1か月前
能美防災株式会社
火災感知器
2か月前
株式会社 ミックウェア
車内環境制御システム
1か月前
株式会社SUBARU
事故情報収集装置
1か月前
株式会社SUBARU
車室内異常検知装置
1か月前
能美防災株式会社
非常伝達装置
2か月前
ホーチキ株式会社
火災検出システム
1か月前
ヨシモトポール株式会社
接近報知システム
2か月前
本田技研工業株式会社
物体検出装置
2か月前
シャープ株式会社
駐車制御装置
1か月前
大阪瓦斯株式会社
音声出力装置
1か月前
株式会社豊田中央研究所
注意喚起装置
1か月前
続きを見る
他の特許を見る