TOP
|
特許
|
意匠
|
商標
特許ウォッチ
Twitter
他の特許を見る
公開番号
2025173290
公報種別
公開特許公報(A)
公開日
2025-11-27
出願番号
2024078805
出願日
2024-05-14
発明の名称
蓄電装置
出願人
トヨタ自動車株式会社
代理人
弁理士法人深見特許事務所
主分類
H01M
50/262 20210101AFI20251119BHJP(基本的電気素子)
要約
【課題】エンドプレートとバンドとが接続される部分の構造に起因して蓄電装置が大型化するのを抑制することが可能な蓄電装置を提供する。
【解決手段】蓄電装置100は、X方向に配列される複数の蓄電セル10と、複数の蓄電セル10をX方向に挟み込むエンドプレート20aおよびエンドプレート20bと、バンド30とを備える。バンド30は、バンド本体部31と、バンド本体部31のうちX方向の端部に設けられたコンタクトプレート32とを含む。コンタクトプレート32のうちY方向における一方端および他方端には、それぞれ、凸部33および凸部34が形成されている。エンドプレート20aには、凸部33と嵌合する凹部25と、凸部34と嵌合する凹部26とが形成されている。
【選択図】図3
特許請求の範囲
【請求項1】
配列方向に配列される複数の蓄電セルと、
前記複数の蓄電セルを前記配列方向に挟み込む第1エンドプレートおよび第2エンドプレートと、
前記複数の蓄電セル、前記第1エンドプレート、および、前記第2エンドプレートを接続するバンドと、を備え、
前記バンドは、
前記複数の蓄電セルに沿って前記配列方向に延びるバンド本体部と、
前記バンド本体部のうち前記配列方向の端部に設けられた接続部と、を含み、
前記接続部は、前記配列方向と交差する交差方向に延びるように形成されており、
前記接続部のうち前記交差方向における一方端および他方端には、それぞれ、第1嵌合部および第2嵌合部が形成されており、
前記第1エンドプレートには、
前記第1嵌合部と嵌合する第1被嵌合部と、
前記第2嵌合部と嵌合する第2被嵌合部と、が形成されている、蓄電装置。
続きを表示(約 580 文字)
【請求項2】
前記接続部は、前記配列方向に延びるように形成されており、
前記第1嵌合部と前記第1被嵌合部とは、互いに嵌合し合いながら前記配列方向に延びるように形成されており、
前記第2嵌合部と前記第2被嵌合部とは、互いに嵌合し合いながら前記配列方向に延びるように形成されている、請求項1に記載の蓄電装置。
【請求項3】
前記第1嵌合部は、前記交差方向の外側に凸の第1凸部を含み、
前記第2嵌合部は、前記交差方向の外側に凸の第2凸部を含み、
前記第1被嵌合部は、前記第1凸部と嵌合する第1凹部を含み、
前記第2被嵌合部は、前記第2凸部と嵌合する第2凹部を含む、請求項1または2に記載の蓄電装置。
【請求項4】
前記接続部のうち前記配列方向における前記複数の蓄電セル側の端部には、前記配列方向の外側に凸の凸部が形成されており、
前記第1エンドプレートには、前記凸部と嵌合する凹部が形成されている、請求項1または2に記載の蓄電装置。
【請求項5】
前記配列方向および前記交差方向のいずれにも交差する方向を厚さ方向とすると、
前記厚さ方向における前記接続部の厚さは、前記厚さ方向における前記バンド本体部の厚さよりも大きい、請求項1または2に記載の蓄電装置。
発明の詳細な説明
【技術分野】
【0001】
本開示は、蓄電装置に関する。
続きを表示(約 1,600 文字)
【背景技術】
【0002】
特開2013-069657号公報(特許文献1)には、所定方向に並んで配置された複数の蓄電素子と、所定方向において複数の蓄電素子を挟む一対のエンドプレートと、所定方向に延びて一対のエンドプレートに連結される連結部材とを備える蓄電装置が開示されている。上記特許文献1では、エンドプレートと連結部材とがリベットにより締結されている例が記載されている。
【先行技術文献】
【特許文献】
【0003】
特開2013-069657号公報
【発明の概要】
【発明が解決しようとする課題】
【0004】
上記特許文献1では、上記のように、エンドプレートと連結部材(バンド)とがリベットにより締結されている例が記載されている。この場合、リベットを配置するためのスペースが必要となり、蓄電装置が大型化することが考えられる。
【0005】
本開示は、上記課題を解決するためになされたものであり、その目的は、エンドプレートとバンドとが接続される部分の構造に起因して蓄電装置が大型化するのを抑制することが可能な蓄電装置を提供することである。
【課題を解決するための手段】
【0006】
本開示の一の局面に係る蓄電装置は、配列方向に配列される複数の蓄電セルと、複数の蓄電セルを配列方向に挟み込む第1エンドプレートおよび第2エンドプレートと、複数の蓄電セル、第1エンドプレート、および、第2エンドプレートを接続するバンドと、を備える。バンドは、複数の蓄電セルに沿って配列方向に延びるバンド本体部と、バンド本体部のうち配列方向の端部に設けられた接続部と、を含む。接続部は、配列方向と交差する交差方向に延びるように形成されている。接続部のうち交差方向における一方端および他方端には、それぞれ、第1嵌合部および第2嵌合部が形成されている。第1エンドプレートには、第1嵌合部と嵌合する第1被嵌合部と、第2嵌合部と嵌合する第2被嵌合部と、が形成されている。
【0007】
本開示の一の局面に係る蓄電装置では、上記のように、接続部のうち交差方向における一方端および他方端にはそれぞれ第1嵌合部および第2嵌合部が形成されており、第1エンドプレートには、第1嵌合部と嵌合する第1被嵌合部と、第2嵌合部と嵌合する第2被嵌合部とが形成されている。これにより、接続部とエンドプレートとが嵌合することによって、バンドをエンドプレートに固定することができる。したがって、リベット等を用いずにバンドをエンドプレートに固定することができる。その結果、エンドプレートとバンドとが接続される部分の構造に起因して蓄電装置が大型化するのを抑制することができる。
【発明の効果】
【0008】
本開示によれば、エンドプレートとバンドとが接続される部分の構造に起因して蓄電装置が大型化するのを抑制することができる。
【図面の簡単な説明】
【0009】
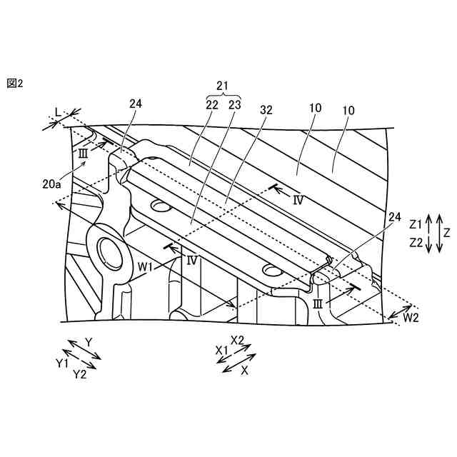
一実施形態による蓄電装置の構成を示す概略的な斜視図である。
一実施形態によるコンタクトプレート近傍の構成を示す部分拡大斜視図である。
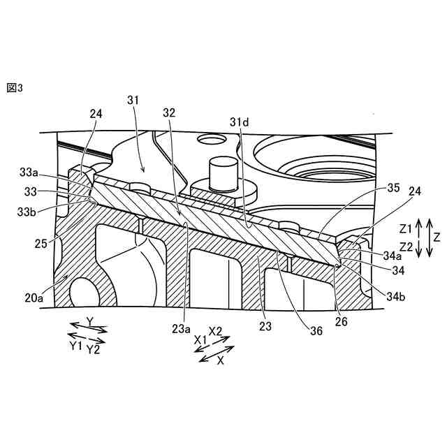
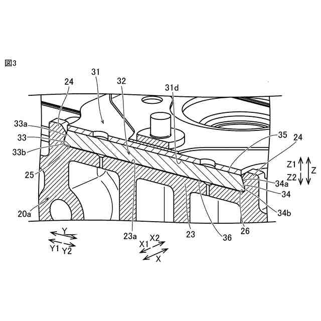
図2のIII-III線に沿った断面図である。
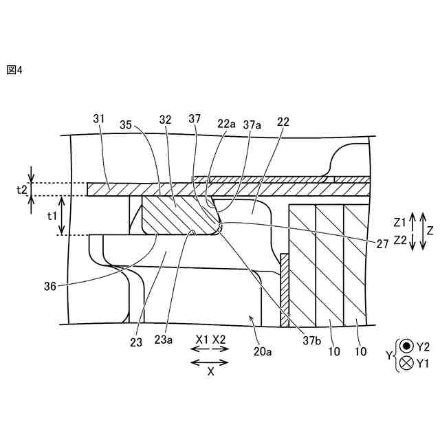
図2のIV-IV線に沿った断面図である。
一実施形態の第1変形例によるエンドプレートの構成を示す斜視図である。
一実施形態の第2変形例によるエンドプレートおよびコンタクトプレートの構成を示す断面図である。
【発明を実施するための形態】
【0010】
本開示の実施形態について、図面を参照して説明する。なお、以下で参照する図面では、同一又はそれに相当する部材には、同じ番号が付されている。
(【0011】以降は省略されています)
この特許をJ-PlatPat(特許庁公式サイト)で参照する
関連特許
トヨタ自動車株式会社
配管
8日前
トヨタ自動車株式会社
車両
21日前
トヨタ自動車株式会社
車体
21日前
トヨタ自動車株式会社
電池
22日前
トヨタ自動車株式会社
車両
8日前
トヨタ自動車株式会社
車両
22日前
トヨタ自動車株式会社
電池
13日前
トヨタ自動車株式会社
車両
21日前
トヨタ自動車株式会社
電池
7日前
トヨタ自動車株式会社
方法
21日前
トヨタ自動車株式会社
車両
7日前
トヨタ自動車株式会社
蓄電池
21日前
トヨタ自動車株式会社
モータ
20日前
トヨタ自動車株式会社
電動車
7日前
トヨタ自動車株式会社
ロータ
8日前
トヨタ自動車株式会社
電動車
8日前
トヨタ自動車株式会社
電動車両
20日前
トヨタ自動車株式会社
反応容器
7日前
トヨタ自動車株式会社
蓄電装置
7日前
トヨタ自動車株式会社
鋳造装置
20日前
トヨタ自動車株式会社
制御装置
8日前
トヨタ自動車株式会社
制御装置
7日前
トヨタ自動車株式会社
蓄電装置
7日前
トヨタ自動車株式会社
蓄電装置
7日前
トヨタ自動車株式会社
電動車両
21日前
トヨタ自動車株式会社
制御装置
8日前
トヨタ自動車株式会社
エンジン
8日前
トヨタ自動車株式会社
制御装置
20日前
トヨタ自動車株式会社
制御装置
7日前
トヨタ自動車株式会社
制御装置
8日前
トヨタ自動車株式会社
電動車両
20日前
トヨタ自動車株式会社
蓄電装置
20日前
トヨタ自動車株式会社
蓄電装置
今日
トヨタ自動車株式会社
制御装置
20日前
トヨタ自動車株式会社
コネクタ
7日前
トヨタ自動車株式会社
蓄電セル
15日前
続きを見る
他の特許を見る