TOP
|
特許
|
意匠
|
商標
特許ウォッチ
Twitter
他の特許を見る
公開番号
2025165485
公報種別
公開特許公報(A)
公開日
2025-11-05
出願番号
2024069545
出願日
2024-04-23
発明の名称
車両
出願人
トヨタ自動車株式会社
代理人
弁理士法人深見特許事務所
主分類
B60H
1/02 20060101AFI20251028BHJP(車両一般)
要約
【課題】トランスアクスルで発生する熱を、有効に、車室内の暖房に利用する。
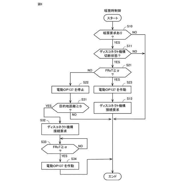
【解決手段】車両は、前輪駆動を基本とした四輪駆動車である。前輪側トランスアクスルは、前輪用モータ、減速機、および差動歯車を含み、前輪用モータの駆動力を前輪に伝達する。前輪側トランスアクスルは、ディスコネクト機構を含む。空調装置は、前輪側トランスアクスルで発生した熱(廃熱)を車室内の暖房に利用する。制御ECUは、暖房要求があり(S10で肯定判定)、ディスコネクト機構が切断状態のとき(S11で肯定判定)、第1条件(前輪側トランスアクスルから大気への放熱量が所定値以上である走行状態)が成立していなければ(S12で否定判定)、ディスコネクト機構の接続要求を行う。前輪側トランスアクスルが連れ回り発生する熱を、車室内の暖房に利用できる。
【選択図】図3
特許請求の範囲
【請求項1】
前輪用モータの駆動力を前輪に伝達する前輪側トランスアクスルと、
後輪用モータの駆動力を後輪に伝達する後輪側トランスアクスルと、
車室内の暖房を行う暖房装置と、
前記前輪側トランスアクスルで発生する熱、および、前記後輪側トランスアクスルで発生する熱を、前記暖房に利用する熱管理装置と、
制御装置と、を備えた車両であって、
前記前輪側トランスアクスルおよび前記後輪側トランスアクスルの少なくとも一方は、トルク伝達を断接するディスコネクト機構を備えており、
前記制御装置は、
前記暖房装置の暖房要求がある場合、前記ディスコネクト機構を接続状態とし、前記トルク伝達を行うよう構成されている、車両。
続きを表示(約 850 文字)
【請求項2】
前記制御装置は、
前記暖房装置の暖房要求があるとき、前記ディスコネクト機構が切断状態であり前記トルク伝達が切断されている場合に、前記ディスコネクト機構が切断状態であるトランスアクスルから大気への放熱量が所定値以上であると推定されると、前記ディスコネクト機構の切断状態を維持するよう構成されている、請求項1に記載の車両。
【請求項3】
前記熱管理装置は、
前記ディスコネクト機構を備えたトランスアクスルで発生する熱を前記暖房装置に熱輸送する輸送状態と、当該熱輸送を停止する停止状態とを切替可能に構成されており、
前記制御装置は、
前記暖房装置の暖房要求があるとき、前記ディスコネクト機構が切断状態であり前記トルク伝達が切断されている場合に、前記ディスコネクト機構を接続状態とし、
前記接続状態とした前記ディスコネクト装置を備える前記トランスアクスルの潤滑油温度が所定温度以上のとき、前記熱管理装置を前記輸送状態とするとともに、前記潤滑油温度が前記所定値未満のとき、前記熱管理装置を前記停止状態とする、請求項1に記載の車両。
【請求項4】
前記制御装置は、
前記暖房装置の暖房要求があるとき、前記ディスコネクト機構が切断状態であり前記トルク伝達が切断されている場合に、前記ディスコネクト機構を接続状態にするとともに、前記ディスコネクト機構を備えるトランスアクスルのモータを駆動状態にするよう構成されている、請求項1に記載の車両。
【請求項5】
前記車両の経路案内を行うナビゲーション装置を、さらに備え、
前記制御装置は、
前記ディスコネクト機構が切断状態であり前記トルク伝達が切断されている場合に、前記暖房装置の暖房要求があるとき、前記経路案内の目的地と現在位置の距離が所定距離以上の場合、前記ディスコネクト機構を接続するよう構成されている、請求項1に記載の車両。
発明の詳細な説明
【技術分野】
【0001】
本開示は、車両に関する。
続きを表示(約 1,600 文字)
【背景技術】
【0002】
特開2020-165604号公報(特許文献1)には、電気自動車の空調装置に適用された冷媒回路装置が開示されている。この冷媒回路装置では、冷媒回路(ヒートポンプサイクル)に配置されたチラーによって吸熱した、電池やインバータ等の熱を、車室内の暖房に利用している。電池やインバータ等の熱は、低温側熱媒体回路によって、チラーにおいて吸熱され、空調装置のヒータコアに輸送される。
【先行技術文献】
【特許文献】
【0003】
特開2020-165604号公報
【発明の概要】
【発明が解決しようとする課題】
【0004】
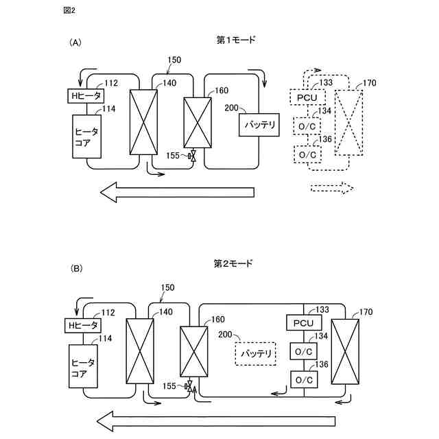
車室内の暖房に、駆動用モータ(モータージェネレータ)の駆動力を車輪に伝達するトランスアクスルで発生した熱(廃熱)を利用することがある。四輪駆動車では、前輪駆動用の前輪側トランスアクスルと後輪駆動用の後輪側トランスアクスルを備える。四輪駆動状態から二輪駆動状態に切り替えた際、従動輪の回転によるトランスアクスルあるいは駆動用モータの連れ回りを無くして、エネルギーの消費効率を向上するために、トランスアクスルにディスコネクト機構を設ける場合がある。ディスコネクト機構が切断状態になると、従動輪から駆動用モータへのトルク伝達が切断され、連れ回りが抑制される。
【0005】
ディスコネクト機構が切断状態になり連れ回りが抑制されると、トランスアクスルで発生する熱量が小さくなる、あるいは、熱が発生しない。このため、トランスアクスルで発生する熱を、車室内の暖房に有効に利用できない。
【0006】
本開示の目的は、トランスアクスルで発生する熱を、有効に、車室内の暖房に利用することである。
【課題を解決するための手段】
【0007】
本開示の車両は、前輪用モータの駆動力を前輪に伝達する前輪側トランスアクスルと、後輪用モータの駆動力を後輪に伝達する後輪側トランスアクスルと、車室内の暖房を行う暖房装置と、前輪側トランスアクスルで発生する熱、および、後輪側トランスアクスルで発生する熱を、暖房に利用する熱管理装置と、制御装置と、を備えた車両であって、前輪側トランスアクスルおよび後輪側トランスアクスルの少なくとも一方は、トルク伝達を断接するディスコネクト機構を備えている。制御装置は、暖房装置の暖房要求がある場合、ディスコネクト機構を接続状態とし、トルク伝達を行うよう構成されている。
【0008】
この構成によれば、制御装置は、暖房装置の暖房要求がある場合、ディスコネクト機構を接続状態する。車両が二輪駆動状態になっても、従動輪の回転によるトランスアアクスルあるいは駆動用モータの連れ回りが生じるので、トランスアクスルで発生する熱量が小さくなることが抑制され、トランスアクスルで発生する熱を、有効に、車室内の暖房に利用できる。
【0009】
好ましくは、制御装置は、暖房装置の暖房要求があるとき、ディスコネクト機構が切断状態でありトルク伝達が切断されている場合に、ディスコネクト機構が切断状態であるトランスアクスルから大気への放熱量が所定値以上であると推定されると、ディスコネクト機構の切断状態を維持するよう構成してもよい。
【0010】
この構成によれば、トランスアクスルから大気への放熱量が所定値以上であると推定されると、ディスコネクト機構の切断状態を維持する。トランスアクスルの放熱量が大きいときには、トランスアクスルで発生する熱を暖房に利用することに、大きな期待を持てない。このような場合は、ディスコネクト機構の切断を維持することによって、エネルギーの消費効率を向上できる。
(【0011】以降は省略されています)
この特許をJ-PlatPat(特許庁公式サイト)で参照する
関連特許
トヨタ自動車株式会社
電池
1日前
トヨタ自動車株式会社
電池
1日前
トヨタ自動車株式会社
蓄電装置
1日前
トヨタ自動車株式会社
蓄電装置
1日前
トヨタ自動車株式会社
処理装置
1日前
トヨタ自動車株式会社
制御装置
1日前
トヨタ自動車株式会社
蓄電装置
1日前
トヨタ自動車株式会社
蓄電装置
1日前
トヨタ自動車株式会社
蓄電装置
1日前
トヨタ自動車株式会社
蓄電装置
1日前
トヨタ自動車株式会社
蓄電装置
1日前
トヨタ自動車株式会社
蓄電装置
1日前
トヨタ自動車株式会社
蓄電装置
1日前
トヨタ自動車株式会社
蓄電装置
1日前
トヨタ自動車株式会社
蓄電装置
1日前
トヨタ自動車株式会社
蓄電装置
1日前
トヨタ自動車株式会社
車両装置
1日前
トヨタ自動車株式会社
エンジン
1日前
トヨタ自動車株式会社
塗工装置
1日前
トヨタ自動車株式会社
蓄電装置
1日前
トヨタ自動車株式会社
蓄電装置
1日前
トヨタ自動車株式会社
蓄電装置
2日前
トヨタ自動車株式会社
蓄電装置
2日前
トヨタ自動車株式会社
投影システム
1日前
トヨタ自動車株式会社
作業システム
1日前
トヨタ自動車株式会社
情報処理装置
3日前
トヨタ自動車株式会社
充電システム
2日前
トヨタ自動車株式会社
通信システム
2日前
トヨタ自動車株式会社
情報処理装置
2日前
トヨタ自動車株式会社
車両側部構造
1日前
トヨタ自動車株式会社
車両前部構造
1日前
トヨタ自動車株式会社
電池スタック
1日前
トヨタ自動車株式会社
車両下部構造
1日前
トヨタ自動車株式会社
投影システム
1日前
トヨタ自動車株式会社
オイルシール
1日前
トヨタ自動車株式会社
投影システム
1日前
続きを見る
他の特許を見る