TOP
|
特許
|
意匠
|
商標
特許ウォッチ
Twitter
他の特許を見る
公開番号
2025173110
公報種別
公開特許公報(A)
公開日
2025-11-27
出願番号
2024078508
出願日
2024-05-14
発明の名称
充電システム
出願人
トヨタ自動車株式会社
代理人
弁理士法人 快友国際特許事務所
主分類
H02J
7/02 20160101AFI20251119BHJP(電力の発電,変換,配電)
要約
【課題】本明細書は、供給される電力のピーク値で定まる基本料金と使った電力量に応じた従量料金が課せられる一契約に属する第1充電器と第2充電器を備えた充電システムにおいて、基本料金の増大を抑える技術を提供する。
【解決手段】本明細書が開示する充電システムのコントローラは、第1バッテリの情報から第1バッテリを充電するための第1充電器の第1出力パターンを決定する。コントローラは、第2バッテリの充電を要求するユーザが現れたとき、第1充電器と第2充電器の合計出力電力が所定のピーク設定値を超えないように、第2バッテリを充電するための第2充電器の第2出力パターンと、充電開始時刻と終了時刻のスケジュールを決定する。コントローラは、決定したスケジュールを第2バッテリのユーザに提示する。コントローラは、スケジュールでの充電を承諾する旨の回答をユーザから受けたらそのスケジュールに従って第2バッテリを充電する。
【選択図】図3
特許請求の範囲
【請求項1】
電力会社との受電契約であって、供給される電力のピーク値で定まる基本料金と使った電力量に応じた従量料金が課せられる一契約に属する第1充電器と第2充電器と、
前記第1充電器と前記第2充電器を制御するコントローラと、
を備えており、前記コントローラは、
第1バッテリの情報から前記第1充電器の前記第1バッテリを充電するための第1出力パターンを決定し、
前記第1充電器で前記第1バッテリを充電することが決定した後に第2バッテリの充電を要求するユーザが現れたとき、前記第1充電器と前記第2充電器の合計出力電力が所定のピーク設定値を超えないように、前記第2バッテリを充電するための前記第2充電器の第2出力パターンと、前記第2バッテリの充電開始時刻と終了時刻のスケジュールを決定し、
決定した前記スケジュールを前記ユーザに提示し、
前記スケジュールでの充電を承諾する旨の回答を受けたら前記スケジュールに従って前記第2バッテリを充電する、
充電システム。
発明の詳細な説明
【技術分野】
【0001】
本明細書が開示する技術は、2台のバッテリを充電することのできる充電システムに関する。
続きを表示(約 1,800 文字)
【背景技術】
【0002】
電力会社から電力供給を受けるための受電契約の一つに、電気料金が、30分毎の供給電力のピーク値で定まる基本料金と、使った電力量で定まる従量料金の合計で定まる契約形式がある。特許文献1にそのような受電契約が開示されている。電力のピーク値が一度定まると、以後一年間は、そのピーク値に基づく基本料金が継続される。設定されたピーク値は、より大きいピーク値に更新されることがあり、更新されると、さらに以後一年間は更新されたピーク値に基づく基本料金が継続される。基本料金の基準となるピーク値が一度設定されると、以後一年間のピーク値がいかに低くとも、設定されたピーク値は下げられることはない。
【先行技術文献】
【特許文献】
【0003】
特開2001-069678号公報
【発明の概要】
【発明が解決しようとする課題】
【0004】
本明細書は、供給される電力のピーク値で定まる基本料金と使った電力量に応じた従量料金が課せられる一契約に属する第1充電器と第2充電器を備えた充電システムにおいて、基本料金の増大を抑える技術を提供する。
【課題を解決するための手段】
【0005】
本明細書が開示する充電システムは、第1充電器と、第2充電器と、それらを制御するコントローラを備える。第1充電器と第2充電器は、電力会社との受電契約であって、供給される電力のピーク値で定まる基本料金と使った電力量に応じた従量料金が課せられる一契約に属する。コントローラは、以下の処理を実行する。コントローラは、第1充電器で第1バッテリを充電することが決定すると第1バッテリの情報から第1バッテリを充電するための第1充電器の第1出力パターンを決定する。コントローラは、第1充電器で第1バッテリを充電することが決定した後に第2バッテリの充電を要求するユーザが現れたとき、第1充電器と第2充電器の合計出力電力が所定のピーク設定値を超えないように、第2バッテリを充電するための第2充電器の第2出力パターンと、充電開始時刻と終了時刻のスケジュールを決定する。コントローラは、決定したスケジュールを第2バッテリのユーザに提示する。コントローラは、スケジュールでの充電を承諾する旨の回答をユーザから受けたらそのスケジュールに従って第2バッテリを充電する。
【0006】
第1/第2充電器の合計出力電力がピーク設定値を超えないようにするためには、第1出力パターンに応じて第2出力パターンの開始時期を遅らせる必要が生じる。すなわち、第2バッテリの充電終了時刻が遅くなる場合がある。第2バッテリの充電のスケジュールをユーザに提示し、ユーザの承諾を得た上で第2バッテリの充電を開始することで、基本料金の増大を抑えつつ、ユーザに納得してもらった上で第2バッテリを充電することができる。
【0007】
本明細書が開示する技術の詳細とさらなる改良は以下の「発明を実施するための形態」にて説明する。
【図面の簡単な説明】
【0008】
実施例の充電システムのブロック図である。
コントローラの処理のフローチャートである(第1バッテリの充電スケジュール決定)。
コントローラの処理のフローチャートである(第2バッテリの充電スケジュール決定)。
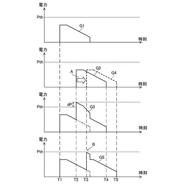
第2充電スケジュール決定プロセスを説明するグラフである。
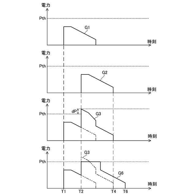
第2充電スケジュール決定プロセス(変形例)を説明するグラフである。
【発明を実施するための形態】
【0009】
図面を参照して実施例の充電システム2を説明する。図1に、充電システム2のブロック図を示す。充電システム2は、第1充電器11と第2充電器12とコントローラ13を備える。それらは充電ステーション10に備えられている。
【0010】
第1充電器11と第2充電器12は、電気自動車のバッテリを充電するように設計されたデバイスであり、電気自動車に備えられた充電インレットに接続することができる。図1では、第1充電器11が第1電気自動車21に接続され、第1電気自動車21に備えられた第1バッテリ23を充電し、第2充電器12が第2電気自動車22に接続され、第2電気自動車22に備えられた第2バッテリ24を充電する様子が描かれている。
(【0011】以降は省略されています)
この特許をJ-PlatPat(特許庁公式サイト)で参照する
関連特許
トヨタ自動車株式会社
電池
7日前
トヨタ自動車株式会社
電池
22日前
トヨタ自動車株式会社
車両
7日前
トヨタ自動車株式会社
車両
1か月前
トヨタ自動車株式会社
車両
21日前
トヨタ自動車株式会社
車両
1か月前
トヨタ自動車株式会社
配管
8日前
トヨタ自動車株式会社
車両
21日前
トヨタ自動車株式会社
車両
22日前
トヨタ自動車株式会社
方法
1か月前
トヨタ自動車株式会社
車両
8日前
トヨタ自動車株式会社
車両
28日前
トヨタ自動車株式会社
車両
28日前
トヨタ自動車株式会社
電池
1か月前
トヨタ自動車株式会社
方法
1か月前
トヨタ自動車株式会社
治具
29日前
トヨタ自動車株式会社
方法
21日前
トヨタ自動車株式会社
車体
21日前
トヨタ自動車株式会社
車両
1か月前
トヨタ自動車株式会社
車両
1か月前
トヨタ自動車株式会社
方法
1か月前
トヨタ自動車株式会社
方法
1か月前
トヨタ自動車株式会社
電池
13日前
トヨタ自動車株式会社
電動機
1か月前
トヨタ自動車株式会社
自動車
1か月前
トヨタ自動車株式会社
電動車
8日前
トヨタ自動車株式会社
モータ
1か月前
トヨタ自動車株式会社
正極層
1か月前
トヨタ自動車株式会社
電動車
7日前
トヨタ自動車株式会社
蓄電池
21日前
トヨタ自動車株式会社
モータ
20日前
トヨタ自動車株式会社
サーバ
1か月前
トヨタ自動車株式会社
ロータ
8日前
トヨタ自動車株式会社
蓄電装置
28日前
トヨタ自動車株式会社
コネクタ
7日前
トヨタ自動車株式会社
制御装置
20日前
続きを見る
他の特許を見る