TOP
|
特許
|
意匠
|
商標
特許ウォッチ
Twitter
他の特許を見る
公開番号
2025161220
公報種別
公開特許公報(A)
公開日
2025-10-24
出願番号
2024064224
出願日
2024-04-11
発明の名称
電動機
出願人
トヨタ自動車株式会社
代理人
弁理士法人平木国際特許事務所
主分類
H02K
1/276 20220101AFI20251017BHJP(電力の発電,変換,配電)
要約
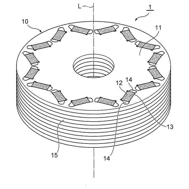
【課題】放熱性の低下を防止できる電動機を提供する。
【解決手段】電動機1は、複数の電磁鋼板15が積層されたロータコア11と、ロータコア11の周方向に沿って所定の間隔で配置された複数の磁石挿入孔と12、各磁石挿入孔12に挿入されるとともに該磁石挿入孔12に充填された樹脂モールド14によって固定された磁石13と、を備える。樹脂モールド14は樹脂とフィラーとで構成される。フィラーは、2種類の異なる粒径を有する第1のフィラー21と第2のフィラー22とを含む。
【選択図】図3
特許請求の範囲
【請求項1】
複数の電磁鋼板が積層されたロータコアと、
前記ロータコアの周方向に沿って所定の間隔で配置された複数の磁石挿入孔と、
各磁石挿入孔に挿入され、該磁石挿入孔に充填された樹脂モールドによって固定された磁石と、
を備え、
前記樹脂モールドは、樹脂とフィラーとで構成され、
前記フィラーは、複数種類の異なる粒径を有することを特徴とする電動機。
発明の詳細な説明
【技術分野】
【0001】
本発明は、電動機に関する。
続きを表示(約 1,400 文字)
【背景技術】
【0002】
従来、このような技術分野として、例えば特許文献1に記載されるものがある。特許文献1に記載の電動機は、回転軸方向に延びる磁石挿入孔を有するロータコアと、磁石挿入孔に挿入された磁石と、回転軸方向の磁石端部を覆うように磁石と磁石挿入孔との空間を埋める樹脂モールドとを備えている。ロータコアは、回転軸方向に沿って積層された複数の電磁鋼板により形成されている。樹脂モールドには、熱伝導性や強度を向上させるために、セラミックスなどのフィラーが添加されている。
【先行技術文献】
【特許文献】
【0003】
特開2015-139231号公報
【発明の概要】
【発明が解決しようとする課題】
【0004】
上述の電動機では、電磁鋼板を打ち抜いて積層することによりロータコアを製造するため、打ち抜き加工に起因し、磁石挿入孔を囲む電磁鋼板の内壁面には凹凸が生じてしまう。そして、該磁石挿入孔に挿入された磁石を樹脂モールドで埋める際に、樹脂モールドに含まれたフィラーの粒径が凹凸のサイズよりも大きい場合、フィラーが凹凸に十分に充填されない。フィラーが十分充填されないと、フィラーと電磁鋼板との間の接触面積が小さくなり、電磁鋼板の放熱性を低下させる問題があった。
【0005】
本発明は、このような技術課題を解決するためになされたものであって、放熱性の低下を防止できる電動機を提供することを目的とする。
【課題を解決するための手段】
【0006】
本発明に係る電動機は、複数の電磁鋼板が積層されたロータコアと、前記ロータコアの周方向に沿って所定の間隔で配置された複数の磁石挿入孔と、各磁石挿入孔に挿入され、該磁石挿入孔に充填された樹脂モールドによって固定された磁石と、を備え、前記樹脂モールドは、樹脂とフィラーとで構成され、前記フィラーは、複数種類の異なる粒径を有することを特徴とする。
【0007】
本発明に係る電動機では、樹脂モールドは樹脂とフィラーとで構成され、フィラーは複数種類の異なる粒径を有する。従って、磁石挿入孔を囲む電磁鋼板の内壁面の凹凸に収まる粒径を有するフィラー、及び、磁石挿入孔を囲む電磁鋼板の内壁面と磁石との隙間に収まる粒径を有するフィラーとを組み合わせることで、電磁鋼板及び磁石の放熱経路を増やすことができる。その結果、電動機の放熱性の低下を防止することができる。
【発明の効果】
【0008】
本発明によれば、電動機の放熱性の低下を防止することができる。
【図面の簡単な説明】
【0009】
実施形態に係る電動機のロータを示す斜視図である。
実施形態に係る電動機のロータを示す平面図である。
2種類の異なる粒径を有するフィラーを説明するための模式図である。
【発明を実施するための形態】
【0010】
以下、図面を参照して本発明に係る電動機の実施形態について説明する。本実施形態の電動機1は、例えばハイブリッド自動車や電気自動車の駆動源として用いられるものであり、磁石(永久磁石)13をロータコア11の内部に埋め込んでなる磁石埋め込み型モータ(IPMモータ)である。IPMモータの場合、コイルと磁石の吸引力/反発力に起因するマグネットトルクに加えてリラクタンストルクを活用することができる。
(【0011】以降は省略されています)
この特許をJ-PlatPat(特許庁公式サイト)で参照する
関連特許
トヨタ自動車株式会社
電池
6日前
トヨタ自動車株式会社
電池
6日前
トヨタ自動車株式会社
車両
今日
トヨタ自動車株式会社
蓄電装置
6日前
トヨタ自動車株式会社
蓄電装置
6日前
トヨタ自動車株式会社
制御装置
6日前
トヨタ自動車株式会社
処理装置
6日前
トヨタ自動車株式会社
蓄電装置
6日前
トヨタ自動車株式会社
塗工装置
6日前
トヨタ自動車株式会社
蓄電装置
6日前
トヨタ自動車株式会社
車両装置
6日前
トヨタ自動車株式会社
蓄電装置
6日前
トヨタ自動車株式会社
蓄電装置
6日前
トヨタ自動車株式会社
蓄電装置
6日前
トヨタ自動車株式会社
蓄電装置
6日前
トヨタ自動車株式会社
蓄電装置
6日前
トヨタ自動車株式会社
エンジン
6日前
トヨタ自動車株式会社
蓄電装置
6日前
トヨタ自動車株式会社
蓄電装置
6日前
トヨタ自動車株式会社
蓄電装置
6日前
トヨタ自動車株式会社
蓄電装置
6日前
トヨタ自動車株式会社
蓄電装置
6日前
トヨタ自動車株式会社
電池用電極
1日前
トヨタ自動車株式会社
作業システム
6日前
トヨタ自動車株式会社
投影システム
6日前
トヨタ自動車株式会社
車両側部構造
6日前
トヨタ自動車株式会社
作業システム
6日前
トヨタ自動車株式会社
投影システム
6日前
トヨタ自動車株式会社
投影システム
6日前
トヨタ自動車株式会社
アイオノマー
6日前
トヨタ自動車株式会社
アイオノマー
6日前
トヨタ自動車株式会社
車両前部構造
6日前
トヨタ自動車株式会社
支援ロボット
6日前
トヨタ自動車株式会社
投影システム
6日前
トヨタ自動車株式会社
投影システム
6日前
トヨタ自動車株式会社
車両下部構造
6日前
続きを見る
他の特許を見る