TOP
|
特許
|
意匠
|
商標
特許ウォッチ
Twitter
他の特許を見る
公開番号
2025174017
公報種別
公開特許公報(A)
公開日
2025-11-28
出願番号
2024080003
出願日
2024-05-16
発明の名称
蓄電装置
出願人
トヨタ自動車株式会社
代理人
弁理士法人深見特許事務所
主分類
H01M
50/35 20210101AFI20251120BHJP(基本的電気素子)
要約
【課題】セルケースのうち安全弁を含む弁設置面の破損を抑制することが可能な蓄電装置を提供すること。
【解決手段】蓄電装置10は、下面に配置された安全弁SVを含む少なくとも1つの蓄電セルと、少なくとも1つの蓄電セルの下方に位置する底面312を含むロアケース310と、ロアケースの底面と少なくとも1つの蓄電セルとの間に設けられており、ロアケースの底面とともに空間Sを形成する空間形成部材340と、を備える。空間形成部材340は、安全弁SVの下方に設けられた貫通孔343hを有する。
【選択図】図4
特許請求の範囲
【請求項1】
下面に配置された安全弁を含む少なくとも1つの蓄電セルと、
前記少なくとも1つの蓄電セルの下方に位置する底面を含むロアケースと、
前記ロアケースの前記底面と前記少なくとも1つの蓄電セルとの間に設けられており、前記ロアケースの前記底面とともに空間を形成する空間形成部材と、を備え、
前記空間形成部材は、前記安全弁の下方に設けられた貫通孔を有する、蓄電装置。
続きを表示(約 1,000 文字)
【請求項2】
前記ロアケースとともに前記少なくとも1つの蓄電セルを収容するアッパーカバーと、
前記少なくとも1つの蓄電セルを冷却する冷却器と、をさらに備え、
前記少なくとも1つの蓄電セルは、複数の蓄電セルを含み、
各前記蓄電セルは、
電極体と、
前記電極体を収容するセルケースと、
前記電極体に電気的に接続されており、前記セルケース外に設けられた外部端子と、を有し、
前記安全弁は、前記セルケースの下面に設けられており、
前記冷却器は、前記セルケースの前記下面と前記空間形成部材とに間に配置されている、請求項1に記載の蓄電装置。
【請求項3】
前記ロアケースの前記底面に配置されており、前記安全弁から排出されたブラストを受ける保護板をさらに備える、請求項1に記載の蓄電装置。
【請求項4】
前記空間形成部材は、前記安全弁と前記ロアケースの前記底面との間に配置されており、前記安全弁から排出されたブラストを受ける受け部を含む、請求項2に記載の蓄電装置。
【請求項5】
前記空間形成部材は、
前記冷却器を支持する支持部と、
前記支持部から下方に窪んでおり、前記受け部を含む凹部と、を有する、請求項4に記載の蓄電装置。
【請求項6】
前記凹部は、当該凹部と前記複数の蓄電セルとの間に前記複数の蓄電セルの並び方向に延びる単一の空間を形成しており、
前記凹部は、前記並び方向と上下方向との双方と直交する直交方向における前記受け部の縁部と前記支持部とを連結する連結面をさらに有し、
前記貫通孔は、前記連結面に設けられている、請求項5に記載の蓄電装置。
【請求項7】
前記貫通孔は、前記複数の蓄電セルの並び方向と平行な向きに開口している、請求項5に記載の蓄電装置。
【請求項8】
前記受け部と前記ロアケースの前記底面との間に設けられており、前記受け部を支持する支持部材をさらに備える、請求項4に記載の蓄電装置。
【請求項9】
前記空間形成部材は、前記受け部から前記ロアケースの前記底面に向かって窪むとともに前記底面と接する着座部をさらに含む、請求項4に記載の蓄電装置。
【請求項10】
前記ロアケースの前記底面に接合されたパネル部材をさらに備える、請求項1に記載の蓄電装置。
発明の詳細な説明
【技術分野】
【0001】
本開示は、蓄電装置に関する。
続きを表示(約 1,500 文字)
【背景技術】
【0002】
例えば、特表2022-525014号公報には、複数の単電池と、収容装置と、を備える動力電池パックが開示されている。各単電池のケースの側面には、外部端子と防爆弁とが設けられている。複数の単電池の上面に、冷却構造を有するモジュール天板が配置されている。
【先行技術文献】
【特許文献】
【0003】
特表2022-525014号公報
【発明の概要】
【発明が解決しようとする課題】
【0004】
特表2022-525014号公報に記載される動力電池パックでは、いずれかの単電池において短絡等が生じると、当該単電池における防爆弁から高温のガスが流出する。このとき、防爆弁を通じて単電池の含有物(いわゆるデブリ)が排出され、外部端子等に付着する懸念がある。
【0005】
本開示の目的は、安全弁SVから排出されるガスに含まれる蓄電セルの含有物が蓄電セルに付着するのを抑制することが可能な蓄電装置を提供することである。
【課題を解決するための手段】
【0006】
本開示の一局面に従った蓄電装置は、下面に配置された安全弁を含む少なくとも1つの蓄電セルと、前記少なくとも1つの蓄電セルの下方に位置する底面を含むロアケースと、前記ロアケースの前記底面と前記少なくとも1つの蓄電セルとの間に設けられており、前記ロアケースの前記底面とともに空間を形成する空間形成部材と、を備え、前記空間形成部材は、前記安全弁の下方に設けられた貫通孔を有する。
【発明の効果】
【0007】
本開示によれば、安全弁SVから排出されるガスに含まれる蓄電セルの含有物が蓄電セルに付着するのを抑制することが可能な蓄電装置を提供することができる。
【図面の簡単な説明】
【0008】
本開示の一実施形態における蓄電装置を備える車両を概略的に示す図である。
蓄電装置及びフレーム部材を概略的に示す斜視図である。
図2におけるIII-III線での断面図である。
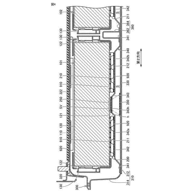
図3におけるIV-IV線での断面図である。
冷却器を概略的に示す平面図である。
図5におけるVI-VI線での断面図である。
空間形成部材の変形例を概略的に示す断面図である。
図7に示される空間形成部材を概略的に示す斜視図である。
空間形成部材の変形例を概略的に示す断面図である。
図9に示される空間形成部材を概略的に示す斜視図である。
図9に示される空間形成部材を含む蓄電装置を概略的に示す断面図である。
蓄電装置の変形例を概略的に示す断面図である。
空間形成部材の変形例を概略的に示す断面図である。
図13に示される空間形成部材を概略的に示す斜視図である。
【発明を実施するための形態】
【0009】
本開示の実施形態について、図面を参照して説明する。なお、以下で参照する図面では、同一又はそれに相当する部材には、同じ番号が付されている。
【0010】
図1は、本開示の一実施形態における蓄電装置を備える車両を概略的に示す図である。図2は、蓄電装置及びフレーム部材を概略的に示す斜視図である。図3は、図2におけるIII-III線での断面図である。図4は、図3におけるIV-IV線での断面図である。
(【0011】以降は省略されています)
この特許をJ-PlatPat(特許庁公式サイト)で参照する
関連特許
トヨタ自動車株式会社
車両
29日前
トヨタ自動車株式会社
車両
22日前
トヨタ自動車株式会社
配管
9日前
トヨタ自動車株式会社
電池
23日前
トヨタ自動車株式会社
方法
22日前
トヨタ自動車株式会社
電池
今日
トヨタ自動車株式会社
車両
9日前
トヨタ自動車株式会社
車両
29日前
トヨタ自動車株式会社
車体
22日前
トヨタ自動車株式会社
電池
今日
トヨタ自動車株式会社
車両
8日前
トヨタ自動車株式会社
車両
23日前
トヨタ自動車株式会社
車両
22日前
トヨタ自動車株式会社
電池
14日前
トヨタ自動車株式会社
治具
1か月前
トヨタ自動車株式会社
電池
8日前
トヨタ自動車株式会社
電動車
8日前
トヨタ自動車株式会社
ロータ
9日前
トヨタ自動車株式会社
モータ
21日前
トヨタ自動車株式会社
電動車
9日前
トヨタ自動車株式会社
蓄電池
22日前
トヨタ自動車株式会社
電動車両
22日前
トヨタ自動車株式会社
蓄電装置
今日
トヨタ自動車株式会社
処理装置
今日
トヨタ自動車株式会社
蓄電装置
1日前
トヨタ自動車株式会社
制御装置
今日
トヨタ自動車株式会社
樹脂外板
22日前
トヨタ自動車株式会社
蓄電装置
今日
トヨタ自動車株式会社
蓄電装置
1日前
トヨタ自動車株式会社
蓄電装置
今日
トヨタ自動車株式会社
電源装置
1か月前
トヨタ自動車株式会社
蓄電装置
今日
トヨタ自動車株式会社
蓄電装置
今日
トヨタ自動車株式会社
製造設備
14日前
トヨタ自動車株式会社
判定装置
8日前
トヨタ自動車株式会社
エンジン
8日前
続きを見る
他の特許を見る