TOP
|
特許
|
意匠
|
商標
特許ウォッチ
Twitter
他の特許を見る
公開番号
2025170571
公報種別
公開特許公報(A)
公開日
2025-11-19
出願番号
2024075247
出願日
2024-05-07
発明の名称
ロータ
出願人
トヨタ自動車株式会社
代理人
弁理士法人 快友国際特許事務所
主分類
H02K
21/14 20060101AFI20251112BHJP(電力の発電,変換,配電)
要約
【課題】複数の回動ロータコアを有するロータにおいて、連結ピンとロータコアとの接触を緩和する。
【解決手段】ロータは、シャフトと、シャフトに固定された複数の固定ロータコアと、シャフトに取り付けられた複数の回動ロータコアと、複数の回動ロータコアを連結する連結ピンと、連結ピンを介して連結された複数の回動ロータコアに接続され、複数の回動ロータコアをシャフトに対して相対的に回動させる回動機構を備える。複数の固定ロータコアと複数の回動ロータコアは、シャフトの軸方向において交互に配置されている。複数の固定ロータコアの各々には、固定ロータコアを軸方向において貫通し、シャフトの周方向に沿って延びるスリット孔が設けられている。連結ピンは、複数の固定ロータコアの各々のスリット孔を通じて複数の回動ロータコアの間を延在する。複数の固定ロータコアの各々には、スリット孔へ潤滑液を導入する導入経路が設けられている。
【選択図】図1
特許請求の範囲
【請求項1】
ロータであって、
シャフトと、
前記シャフトに固定されている複数の固定ロータコアと、
前記シャフトに取り付けられており、前記シャフトを中心に前記シャフトに対して相対的に回動可能な複数の回動ロータコアと、
前記複数の回動ロータコアを連結する連結ピンと、
前記連結ピンを介して連結された前記複数の回動ロータコアに接続され、前記複数の回動ロータコアを前記シャフトに対して相対的に回動させる回動機構と、
を備え、
前記複数の固定ロータコアと前記複数の回動ロータコアとは、前記シャフトの軸方向において交互に配置されており、
前記複数の固定ロータコアの各々には、前記固定ロータコアを前記軸方向において貫通しているとともに前記シャフトの周方向に沿って延びるスリット孔が設けられており、
前記連結ピンは、前記複数の固定ロータコアの各々の前記スリット孔を通じて、前記複数の回動ロータコアの間を延在しており、
前記複数の固定ロータコアの各々には、前記スリット孔へ潤滑液を導入する導入経路がさらに設けられている、
ロータ。
発明の詳細な説明
【技術分野】
【0001】
本明細書が開示する技術は、ロータに関する。
続きを表示(約 2,300 文字)
【背景技術】
【0002】
特許文献1には、固定ロータコアと回動ロータコアとを備えるロータが記載されている。固定ロータコアはシャフトに固定されており、回動ロータコアはシャフトに対して相対的に回動可能である。また、このロータは、回動ロータコアを回動させる回動機構を有している。
【先行技術文献】
【特許文献】
【0003】
特開2010-154699号
【発明の概要】
【発明が解決しようとする課題】
【0004】
シャフトに複数の回動ロータコアを設ける場合において、連結ピンを用いて、複数の回動ロータコアを一体としてシャフトに対して相対的に回動させることが考えられる。この場合、連結ピンは、固定ロータコアに形成されたスリット孔を通じて複数の回動ロータコアを連結する。しかしながら、連結ピンがスリット孔内を移動する際に、連結ピンがロータコアのスリット孔を画定する内縁に接触し、それに起因して比較的に大きな接触音が生じたり、連結ピンと固定ロータコアとが互いを摩耗させるおそれがある。本明細書は、複数の回動ロータコアを有するロータにおいて、連結ピンとロータコアとの接触を緩和し得る技術を提供する。
【課題を解決するための手段】
【0005】
本明細書が開示するロータは、シャフトと、前記シャフトに固定されている複数の固定ロータコアと、前記シャフトに取り付けられており、前記シャフトを中心に前記シャフトに対して相対的に回動可能な複数の回動ロータコアと、前記複数の回動ロータコアを連結する連結ピンと、前記連結ピンを介して連結された前記複数の回動ロータコアに接続され、前記複数の回動ロータコアを前記シャフトに対して相対的に回動させる回動機構と、を備える。前記複数の固定ロータコアと前記複数の回動ロータコアは、前記シャフトの軸方向において交互に配置されている。前記複数の固定ロータコアの各々には、前記固定ロータコアを前記軸方向において貫通しているとともに前記シャフトの周方向に沿って延びるスリット孔が設けられている。前記連結ピンは、前記複数の固定ロータコアの各々の前記スリット孔を通じて、前記複数の回動ロータコアの間を延在する。前記複数の固定ロータコアの各々には、前記スリット孔へ潤滑液を導入する導入経路がさらに設けられている。
【0006】
上記した構成では、複数の回動ロータコアが、各固定ロータコアのスリット孔を通じて延在する連結ピンによって連結されている。従って、連結ピンが、スリット孔内を移動することにより、複数の回動ロータコアが一体としてシャフトに対して相対的に回動する。そして、各固定ロータコアには、スリット孔へ潤滑液を導入する導入経路が設けられている。このような構成によると、導入経路からスリット孔に導入される潤滑液は、連結ピンがスリット孔内を移動する際の緩衝材として機能することができる。これにより、連結ピンと各固定ロータコアの内縁との接触が緩和される。連結ピンと各固定ロータコアとの接触に起因する接触音が低減されるとともに、連結ピンと各固定ロータコアとが互いを摩耗させることが抑制される。
【図面の簡単な説明】
【0007】
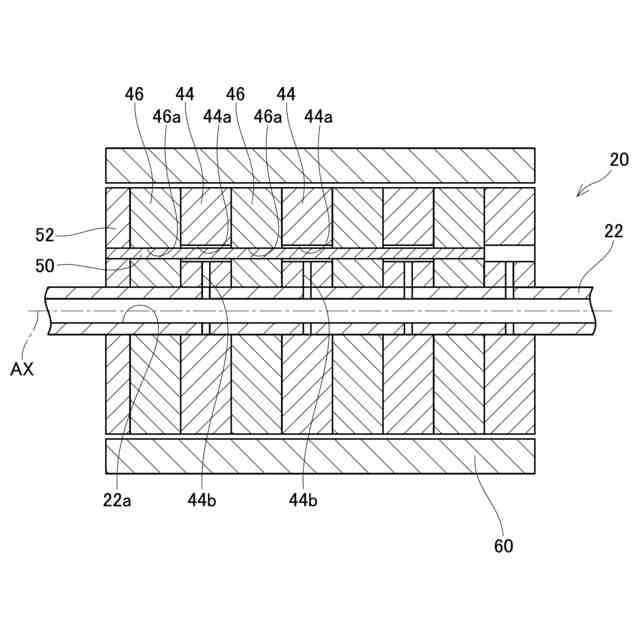
電気モータの回転軸に沿う断面図を示す。
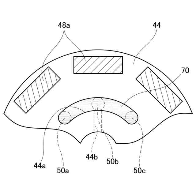
軸方向に沿って見た固定ロータコアの平面図を示す。
軸方向に沿って見た回動ロータコアの平面図を示す。
【発明を実施するための形態】
【0008】
図1に示す電気モータは、電動車に搭載されている。電気モータは、電動車の車輪を駆動する。電気モータは、ロータ20とステータ60を備えている。ステータ60は、円筒形状を有している。ロータ20は、ステータ60の径方向内側に配置されている。ロータ20は、回転軸AXを中心に回転可能に配置されている。
【0009】
ロータ20は、シャフト22を有している。シャフト22は、その中心軸が回転軸AXと一致するように配置されている。シャフト22には、ロータコアが同心状に取り付けられている。ロータコアは、複数の固定ロータコア44と複数の回動ロータコア46によって構成されている。固定ロータコア44と回動ロータコア46のそれぞれは、高い透磁率を有する材料により構成されている。固定ロータコア44と回動ロータコア46のそれぞれは、中心に貫通孔が設けられた円盤形状を有している。固定ロータコア44と回動ロータコア46のそれぞれの中心孔内にシャフト22が挿通されている。各固定ロータコア44は、シャフト22に固定されている。各回動ロータコア46は、回転軸AXを中心としてシャフト22に対して相対的に回動可能である。シャフト22の回転軸AXと平行な方向(以下、軸方向という)において、固定ロータコア44と回動ロータコア46が交互に配置されている。
【0010】
図2に示すように、各固定ロータコア44の内部には、複数の磁極48aが配置されている。各磁極48aは、例えば永久磁石である。各固定ロータコア44において、複数の磁極48aは、回転軸AXに対して回転対称に配置されている。図3に示すように、各回動ロータコア46の内部には、複数の磁極48bが配置されている。各磁極48bは、例えば永久磁石である。各回動ロータコア46において、複数の磁極48bは、回転軸AXに対して回転対称に配置されている。
(【0011】以降は省略されています)
この特許をJ-PlatPat(特許庁公式サイト)で参照する
関連特許
個人
電気を重力で発電装置
15日前
個人
高圧電気機器の開閉器
2日前
キヤノン電子株式会社
モータ
14日前
株式会社アイドゥス企画
減反モータ
2日前
トヨタ自動車株式会社
モータ
14日前
矢崎総業株式会社
電源回路
1日前
日産自動車株式会社
ロータシャフト
9日前
日産自動車株式会社
ロータシャフト
9日前
トヨタ自動車株式会社
ステータの製造装置
15日前
個人
非対称鏡像力を有する4層PWB電荷搬送体
9日前
ローム株式会社
モータドライバ回路
9日前
個人
電線盗難防止方法及び電線盗難防止装置
22日前
京商株式会社
模型用非接触電力供給システム
2日前
トヨタ自動車株式会社
可変界磁ロータ
17日前
株式会社アイシン
電力変換装置
14日前
ニデック株式会社
回転電機
14日前
ルネサスエレクトロニクス株式会社
半導体装置
14日前
大阪瓦斯株式会社
充放電中継装置
15日前
大阪瓦斯株式会社
充放電中継装置
15日前
株式会社豊田自動織機
電力供給システム
14日前
豊田合成株式会社
車両用非接触充電装置
14日前
本田技研工業株式会社
回転電機用ロータ
2日前
株式会社京三製作所
パルス電源装置
1日前
株式会社京三製作所
パルス電源装置
1日前
株式会社豊田中央研究所
分散電源システム
9日前
個人
電動自動車用同期電動機の変速方法と駆動制御装置
16日前
日動電工株式会社
壁内配線用のブランクプレート
1日前
パナソニック株式会社
分電盤
14日前
株式会社日立産機システム
電力変換装置
16日前
パナソニック株式会社
分電盤
14日前
株式会社日立産機システム
キュービクル
17日前
パナソニック株式会社
分電盤
14日前
パナソニック株式会社
分電盤
14日前
ローム株式会社
電源制御装置
9日前
キヤノン株式会社
振動型アクチュエータ及び電子機器
14日前
株式会社GSユアサ
蓄電装置
9日前
続きを見る
他の特許を見る