TOP
|
特許
|
意匠
|
商標
特許ウォッチ
Twitter
他の特許を見る
公開番号
2025178914
公報種別
公開特許公報(A)
公開日
2025-12-09
出願番号
2024085791
出願日
2024-05-27
発明の名称
充電器
出願人
株式会社東光高岳
代理人
個人
主分類
H02J
7/00 20060101AFI20251202BHJP(電力の発電,変換,配電)
要約
【課題】高出力で電気自動車を充電可能であって、稀な非常事態に備えて低出力であっても電力負荷に電力を供給可能であり、コストが抑えられた充電器を提供すること。
【解決手段】本発明の一態様は、電動移動体に電気エネルギーを供給する充電器である。充電器は、交流電力を直流電力に変換する第1コンバータを備える。充電器は、交流電力を直流電力に変換可能であると共に直流電力を交流電力に変換可能である第2コンバータを備える。充電器は、第1コンバータ及び第2コンバータを用いて、交流電源から供給される交流電力を直流電力に変換して電動移動体に供給する。充電器は、第2コンバータを用いて、電動移動体から供給される直流電力を交流電力に変換して電力負荷に供給する。
【選択図】図2
特許請求の範囲
【請求項1】
電動移動体に電気エネルギーを供給する充電器であって、
交流電力を直流電力に変換する第1コンバータと、
交流電力を直流電力に変換可能であると共に直流電力を交流電力に変換可能である第2コンバータと、を備え、
前記第1コンバータ及び前記第2コンバータを用いて、交流電源から供給される交流電力を直流電力に変換して電動移動体に供給し、
前記第2コンバータを用いて、電動移動体から供給される直流電力を交流電力に変換して電力負荷に供給する、充電器。
続きを表示(約 1,000 文字)
【請求項2】
一の前記第2コンバータを備える、請求項1に記載の充電器。
【請求項3】
複数の前記第1コンバータを備える、請求項1に記載の充電器。
【請求項4】
動作モードを制御する制御装置を備え、
前記制御装置は、電動移動体に直流電力を供給可能な第1動作モードと、電力負荷に交流電力を供給可能な第2動作モードとに前記動作モードを切り換える、請求項1に記載の充電器。
【請求項5】
前記制御装置は、交流電源からの電力供給が停止したことに起因して、前記動作モードを前記第1動作モードから前記第2動作モードに切り換える、請求項4に記載の充電器。
【請求項6】
前記制御装置は、交流電源からの電力供給が復旧したことに起因して、前記動作モードを前記第2動作モードから前記第1動作モードに切り換える、請求項4に記載の充電器。
【請求項7】
前記制御装置は、操作権限を有する者の操作に起因して、前記動作モードを切り換える、請求項4に記載の充電器。
【請求項8】
交流電源から電力が供給される側に使用される電源プラグと、
電動移動体に電力を供給する側に使用される充電プラグと、
電力負荷に電力を供給する側に使用される放電プラグと、
前記第1コンバータ及び前記第2コンバータと前記電源プラグとを接続する電路を開閉する第1開閉器と、
前記第1コンバータと前記充電プラグとを接続する電路を開閉する第2開閉器と、
前記第2コンバータと前記放電プラグとを接続する電路を開閉する第3開閉器と、を備え、
前記制御装置は、前記第1開閉器、前記第2開閉器及び前記第3開閉器を制御することにより、前記動作モードを切り換える、請求項4に記載の充電器。
【請求項9】
前記制御装置は、前記第1開閉器及び前記第2開閉器を閉状態から開状態に制御した後に、前記第3開閉器を開状態から閉状態に制御することにより、前記動作モードを前記第1動作モードから前記第2動作モードに切り換える、請求項8に記載の充電器。
【請求項10】
前記制御装置は、前記第3開閉器を閉状態から開状態に制御した後に、前記第1開閉器及び前記第2開閉器を開状態から閉状態に制御することにより、前記動作モードを前記第2動作モードから前記第1動作モードに切り換える、請求項8に記載の充電器。
発明の詳細な説明
【技術分野】
【0001】
本発明は、充電器に関する。
続きを表示(約 1,600 文字)
【背景技術】
【0002】
特許文献1に記載の技術は、充放電装置及び充放電方法に関するもので、特に住宅用電力供給システムにおいて効率的な電力供給を実現することを目的としている。特許文献1に記載のシステムは、商用電源、太陽光発電、車載バッテリを含む複数の電源を統合し、電力供給と管理を行うことができる。
【先行技術文献】
【特許文献】
【0003】
特開2023-30710号公報
【発明の概要】
【発明が解決しようとする課題】
【0004】
特許文献1に記載の充電器は、双方向コンバータを備えている。例えば、特許文献1に記載の充電器については、使用する双方向コンバータを増やせば、高出力で電気自動車を充電でき、電気自動車から供給される直流電力を交流電力に変換して電力負荷に供給することもできる。しかし、双方向コンバータは、高価である。また、電気自動車から供給される電力を電力負荷に供給することがどうしても必要な状況は、停電時や災害時といった、交流電源からの電力供給を得られない非常事態のような稀な状況である。したがって、充電器は、高出力で電気自動車を充電可能であって、稀な非常事態に備えて低出力であっても電力負荷に電力を供給可能であり、コストが抑えられていることが望ましい。
【課題を解決するための手段】
【0005】
本発明の一態様は、電動移動体に電気エネルギーを供給する充電器である。充電器は、交流電力を直流電力に変換する第1コンバータを備える。充電器は、交流電力を直流電力に変換可能であると共に直流電力を交流電力に変換可能である第2コンバータを備える。充電器は、第1コンバータ及び第2コンバータを用いて、交流電源から供給される交流電力を直流電力に変換して電動移動体に供給する。充電器は、第2コンバータを用いて、電動移動体から供給される直流電力を交流電力に変換して電力負荷に供給する。
【図面の簡単な説明】
【0006】
充電器100を利用する態様の一例を示す図である。
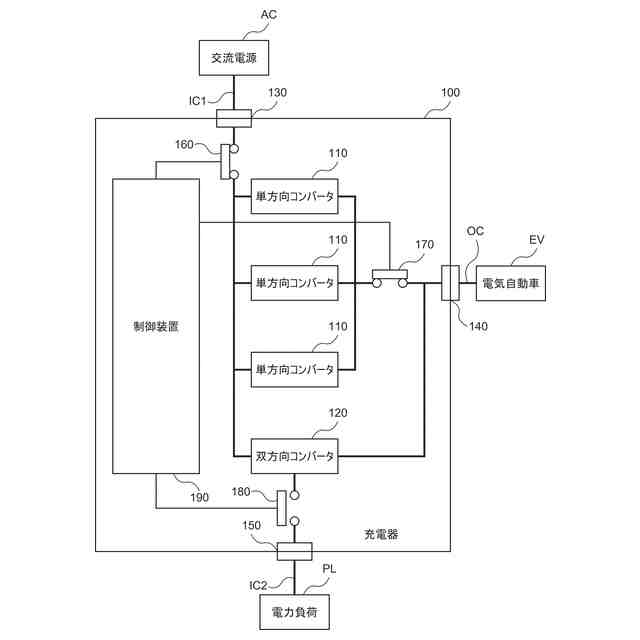
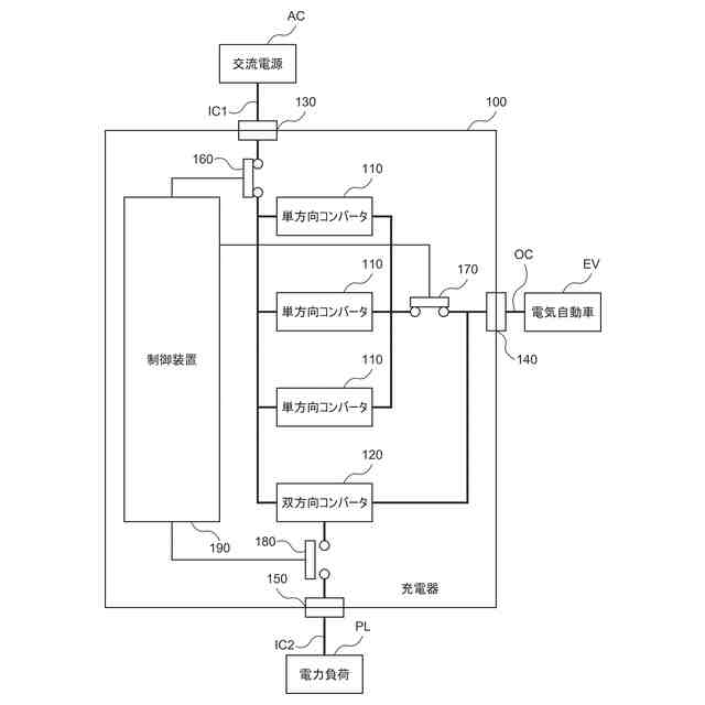
充電器100の構成の一例を示す図である。
制御装置190による制御フローの一例を示す図である。
制御装置190による制御フローの一例を示す図である。
【発明を実施するための形態】
【0007】
実施形態は、特許請求の範囲に係る発明を限定するものではない。実施形態の中で説明されている特徴の組み合わせは、全てが発明の解決手段に必須であるとは限らない。
【0008】
図1は、充電器100を利用する態様の一例を示す図である。充電器100は、電気自動車EVの電池に電気エネルギーを供給する装置である。電気自動車EVは、原動機として電動機を備えている自動車である。電気自動車EVは、電動移動体の一例である。
【0009】
充電器100は、例えば、電気自動車EVを駐車する駐車場の近傍であって、電力負荷PLの近傍に設けられる。電力負荷PLは、例えば、交流電源ACから供給される電気エネルギーを消費する電気機械器具や電気機械器具が設けられた建物である。電気機械器具は、例えば、エアコンディショナーやテレビジョン受信機等である。建物は、例えば、電気自動車EVの利用者の自宅や勤務先等である。
【0010】
充電器100は、充電ケーブルOCを用いて電気自動車EVに接続される。充電器100は、第1電源ケーブルIC1を用いて交流電源ACに接続される。充電器100は、第2電源ケーブルIC2を用いて電力負荷PLに接続される。充電器100は、交流電源ACから供給される交流電力を直流電力に変換して電気自動車EVに供給する。充電器100は、電気自動車EVから供給される直流電力を交流電力に変換して電力負荷PLに供給する。
(【0011】以降は省略されています)
この特許をJ-PlatPat(特許庁公式サイト)で参照する
関連特許
株式会社東光高岳
計器
5か月前
株式会社東光高岳
充電器
今日
株式会社東光高岳
走査ステージ
27日前
株式会社東光高岳
充電対象切換システム
今日
白山商事株式会社
空気圧式圧着装置
13日前
白山商事株式会社
圧着ダイス及び圧着装置
13日前
株式会社東光高岳
水平二点切断路器の調整方法及び水平二点切断路器
2か月前
株式会社東光高岳
変圧器
6か月前
個人
高圧電気機器の開閉器
20日前
個人
電気を重力で発電装置
1か月前
キヤノン電子株式会社
モータ
1か月前
キヤノン電子株式会社
モータ
1か月前
株式会社東光高岳
充電器
今日
コーセル株式会社
電源装置
1か月前
日星電気株式会社
ケーブル組立体
1か月前
株式会社アイドゥス企画
減反モータ
20日前
トヨタ自動車株式会社
モータ
1か月前
株式会社デンソー
回転機
1か月前
株式会社デンソー
端子台
13日前
株式会社デンソー
回転電機
4日前
個人
二次電池繰返パルス放電器用印刷基板
1か月前
株式会社ダイヘン
送配電装置
4日前
ローム株式会社
半導体集積回路
11日前
富士電機株式会社
電力変換装置
4日前
富士電機株式会社
電力変換装置
4日前
株式会社ミツバ
回転電機
1か月前
本田技研工業株式会社
回転電機
6日前
株式会社デンソー
電力変換装置
1か月前
株式会社不二越
空冷式油圧装置
4日前
トヨタ自動車株式会社
固定子の加熱装置
1か月前
株式会社日立製作所
回転電機
11日前
株式会社デンソー
非接触受電装置
1か月前
矢崎総業株式会社
給電装置
12日前
矢崎総業株式会社
電源回路
19日前
株式会社TMEIC
制御装置
12日前
株式会社東光高岳
充電対象切換システム
今日
続きを見る
他の特許を見る