TOP
|
特許
|
意匠
|
商標
特許ウォッチ
Twitter
他の特許を見る
10個以上の画像は省略されています。
公開番号
2025149277
公報種別
公開特許公報(A)
公開日
2025-10-08
出願番号
2024049820
出願日
2024-03-26
発明の名称
水平二点切断路器の調整方法及び水平二点切断路器
出願人
株式会社東光高岳
代理人
個人
主分類
H01H
31/20 20060101AFI20251001BHJP(基本的電気素子)
要約
【課題】水平二点切断路器は、閉路状態のときに可動接触部に外力が加わると、固定接触部に対して適切な位置にある可動接触部がずれてしまう可能性がある。また、水平二点切断路器は、開閉動作を重ねると、固定接触部における可動接触部が接触する部品が摩耗する。固定接触部における可動接触部が接触する部品が摩耗して摩擦抵抗が増加すると、可動接触部は、開路状態から閉路状態に移行するときに適切な位置で停止しない可能性がある。
【解決手段】本発明の一態様は、水平二点切断路器を機械的に調整する水平二点切断路器の調整方法を提供する。水平二点切断路器の調整方法は、水平二点切断路器が閉路状態のときに固定接触部に対して可動接触部が押し付けられる力である押付力を調整することを含む。
【選択図】図33
特許請求の範囲
【請求項1】
水平二点切断路器を機械的に調整する水平二点切断路器の調整方法であって、
前記水平二点切断路器が閉路状態のときに固定接触部に対して可動接触部が押し付けられる力である押付力を調整することを含む、水平二点切断路器の調整方法。
続きを表示(約 1,500 文字)
【請求項2】
閉路状態の固定接触部から可動接触部を引き離すように特定の力を加えても固定接触部から可動接触部が引き離されないように前記押付力を調整する、請求項1に記載の水平二点切断路器の調整方法。
【請求項3】
閉路状態の固定接触部から可動接触部を引き離すための力を測定することを含み、
測定された力が前記特定の力よりも大きくなるように前記押付力を調整する、請求項2に記載の水平二点切断路器の調整方法。
【請求項4】
閉路状態の固定接触部から可動接触部を引き離すための力を、ばね秤を用いて測定する、請求項3に記載の水平二点切断路器の調整方法。
【請求項5】
閉路状態の固定接触部から可動接触部を引き離すように前記ばね秤を引っ張ることにより、固定接触部から可動接触部を引き離すための力を測定する、請求項4に記載の水平二点切断路器の調整方法。
【請求項6】
可動接触部を動作させる機構の強度と、固定接触部において可動接触部が押し付けられるストッパの強度とに応じて、前記特定の力の大きさが決まっている、請求項2に記載の水平二点切断路器の調整方法。
【請求項7】
三相三線式の電路に用いる構成は、
三相三線式の第1相に対応する第1水平二点切断路器と、
三相三線式の第2相に対応する第2水平二点切断路器と、
三相三線式の第3相に対応する第3水平二点切断路器と、を備え、
前記第1水平二点切断路器の第1可動接触部、前記第2水平二点切断路器の第2可動接触部及び前記第3水平二点切断路器の第3可動接触部は、動力部の動力を受けて動作し、
前記第1可動接触部を動作させる第1機構と前記動力部とは、前記動力部の動力を伝達する第1リンク機構によって接続され、
前記第2可動接触部を動作させる第2機構と前記第1機構とは、前記動力部の動力を伝達する第2リンク機構によって接続され、
前記第3可動接触部を動作させる第3機構と前記第2機構とは、前記動力部の動力を伝達する第3リンク機構によって接続され、
閉路状態の前記第3水平二点切断路器の第3固定接触部から前記第3可動接触部を引き離すための力である第3の力を測定し、
前記第3の力が前記特定の力よりも大きい場合、調整を終了する、請求項3に記載の水平二点切断路器の調整方法。
【請求項8】
前記第3の力が前記特定の力よりも小さい場合、閉路状態の前記第2水平二点切断路器の第2固定接触部から前記第2可動接触部を引き離すための力である第2の力を測定し、
前記第2の力が前記特定の力よりも大きい場合、閉路状態の前記第3固定接触部に対して前記第3可動接触部が押し付けられる力である第3押付力を調整する、請求項7に記載の水平二点切断路器の調整方法。
【請求項9】
前記第2の力が前記特定の力よりも小さい場合、閉路状態の前記第1水平二点切断路器の第1固定接触部から前記第1可動接触部を引き離すための力である第1の力を測定し、
前記第1の力が前記特定の力よりも大きい場合、閉路状態の前記第2固定接触部に対して前記第2可動接触部が押し付けられる力である第2押付力を調整し、
前記第2押付力を調整した後に、前記第3の力を再び測定する、請求項8に記載の水平二点切断路器の調整方法。
【請求項10】
前記第1の力が前記特定の力よりも小さい場合、閉路状態の前記第1固定接触部に対して前記第1可動接触部が押し付けられる力である第1押付力を調整し、
前記第1押付力を調整した後に、前記第3の力を再び測定する、請求項9に記載の水平二点切断路器の調整方法。
発明の詳細な説明
【技術分野】
【0001】
本発明は、水平二点切断路器の調整方法に関する。
続きを表示(約 2,600 文字)
【背景技術】
【0002】
水平二点切断路器は、電気配電システムにおいて使用される一種の切断スイッチである(特許文献1参照)。
【先行技術文献】
【特許文献】
【0003】
特許第7116225号公報
【発明の概要】
【発明が解決しようとする課題】
【0004】
水平二点切断路器は、閉路状態のときに可動接触部に外力が加わると、固定接触部に対して適切な位置にある可動接触部がずれてしまう可能性がある。
【0005】
また、水平二点切断路器は、開閉動作を重ねると、固定接触部における可動接触部が接触する部品が摩耗する。固定接触部における可動接触部が接触する部品が摩耗して摩擦抵抗が増加すると、可動接触部は、開路状態から閉路状態に移行するときに適切な位置で停止しない可能性がある。
【課題を解決するための手段】
【0006】
本発明の一態様は、水平二点切断路器を機械的に調整する水平二点切断路器の調整方法を提供する。水平二点切断路器の調整方法は、水平二点切断路器が閉路状態のときに固定接触部に対して可動接触部が押し付けられる力である押付力を調整することを含む。
【図面の簡単な説明】
【0007】
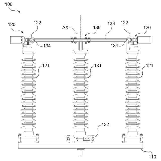
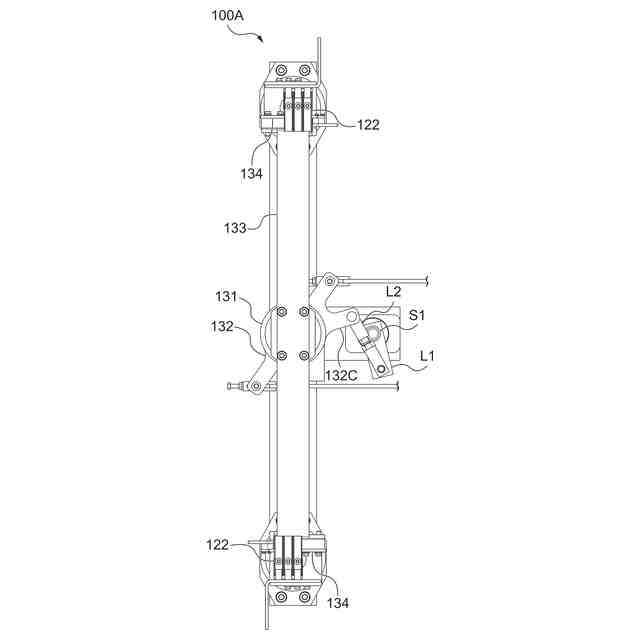
水平二点切断路器100の構成の一例を示す正面図である。
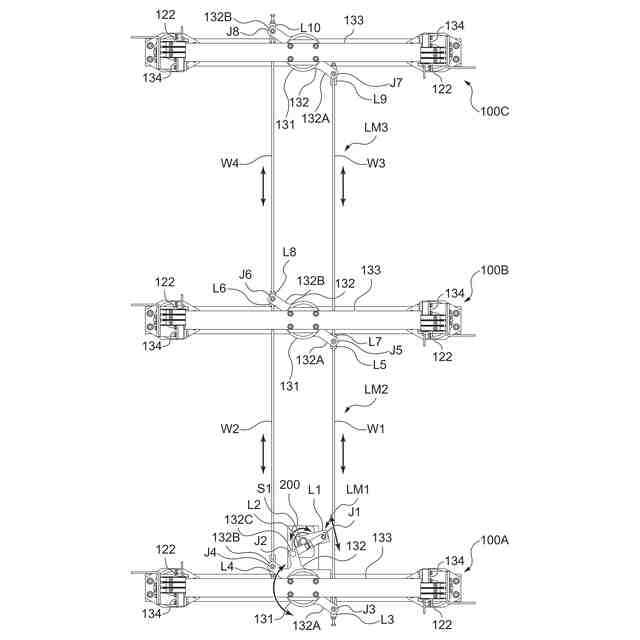
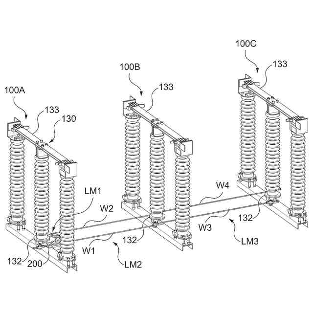
水平二点切断路器100を三相三線式の電路に用いるときの構成の一例を示す斜視図である。
水平二点切断路器100を三相三線式の電路に用いるときの構成の一例を示す平面図である。
開路状態から閉路状態に移行する第1水平二点切断路器100Aの一例を示す平面図である。
開路状態から閉路状態に移行する第1水平二点切断路器100Aの一例を示す平面図である。
開路状態から閉路状態に移行する第1水平二点切断路器100Aの一例を示す平面図である。
開路状態から閉路状態に移行する第1水平二点切断路器100Aの一例を示す平面図である。
固定接触部122の構成の一例を示す斜視図である。
可動接触部134の構成の一例を示す斜視図である。
開路状態から閉路状態に移行するときの固定接触部122と可動接触部134との関係の一例を示す斜視図である。
図10に示す状態の固定接触部122と可動接触部134との関係を示す平面図である。
開路状態から閉路状態に移行するときの固定接触部122と可動接触部134との関係の一例を示す斜視図である。
図12に示す状態の固定接触部122と可動接触部134との関係を示す要部断面図である。
開路状態から閉路状態に移行するときの固定接触部122と可動接触部134との関係の一例を示す斜視図である。
図14に示す状態の固定接触部122と可動接触部134との関係を示す要部断面図である。
開路状態から閉路状態に移行するときの固定接触部122と可動接触部134との関係の一例を示す斜視図である。
図16に示す状態の固定接触部122と可動接触部134との関係を示す要部断面図である。
閉路状態の固定接触部122と可動接触部134との関係の一例を示す斜視図である。
閉路状態の固定接触部122と可動接触部134との関係の一例を示す要部断面図である。
閉路状態の固定接触部122と可動接触部134との関係の一例を示す平面図である。
図20に示すA-A断面を示す図である。
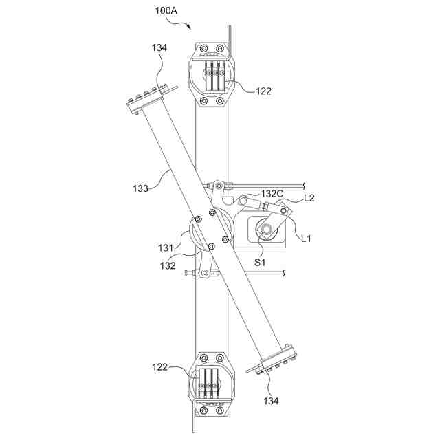
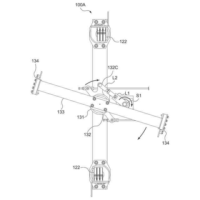
第1水平二点切断路器100Aにおける押付力を調整するための機構の一例を示す要部の斜視図である。
第1水平二点切断路器100Aにおける押付力を調整するための機構の一例を示す要部の平面図である。
第2水平二点切断路器100Bにおける押付力を調整するための機構の一例を示す要部の斜視図である。
第2水平二点切断路器100Bにおける押付力を調整するための機構の一例を示す要部の側面断面図である。
第2水平二点切断路器100Bにおける押付力を調整するための機構の一例を示す要部の斜視図である。
第2水平二点切断路器100Bにおける押付力を調整するための機構の一例を示す要部の側面断面図である。
第3水平二点切断路器100Cにおける押付力を調整するための機構の一例を示す要部の斜視図である。
第3水平二点切断路器100Cにおける押付力を調整するための機構の一例を示す要部の側面断面図である。
第3水平二点切断路器100Cにおける押付力を調整するための機構の一例を示す要部の斜視図である。
第3水平二点切断路器100Cにおける押付力を調整するための機構の一例を示す要部の側面断面図である。
閉路状態の固定接触部122から可動接触部134を引き離すための力を測定する方法の一例を示す図である。
三相三線式の電路に用いる水平二点切断路器100における押付力を調整する手順の一例を示すフローチャートである。
【発明を実施するための形態】
【0008】
以下、発明の実施形態を通じて本発明を説明するが、以下の実施形態は、特許請求の範囲にかかる発明を限定するものではない。また、実施形態の中で説明されている特徴の組み合わせは、全てが発明の解決手段に必須であるとは限らない。
【0009】
本明細書は、高さ方向と平行な方向における一方の側を「上」、他方の側を「下」と称している。本明細書は、部材の2つの主面のうち、一方の面を「上面」、他方の面を「下面」と称している。「上」、「下」、「上面」、「下面」の方向は、重力方向又は設置時における土台等への取り付け方向に限定されない。
【0010】
図1は、水平二点切断路器100の構成の一例を示す正面図である。水平二点切断路器100は、定格電圧のもとで負荷電流の開閉をたてまえとせず、充電された電路を開閉するために用いられる気中開閉装置である。水平二点切断路器100は、土台110、2つの固定部120及び1つの可動部130を備える。
(【0011】以降は省略されています)
この特許をJ-PlatPat(特許庁公式サイト)で参照する
関連特許
株式会社東光高岳
走査ステージ
22日前
白山商事株式会社
空気圧式圧着装置
8日前
白山商事株式会社
圧着ダイス及び圧着装置
8日前
株式会社東光高岳
水平二点切断路器の調整方法及び水平二点切断路器
1か月前
APB株式会社
蓄電セル
1か月前
東ソー株式会社
絶縁電線
1か月前
株式会社東芝
端子台
1か月前
ローム株式会社
半導体装置
1か月前
マクセル株式会社
電源装置
1か月前
日新イオン機器株式会社
イオン源
1か月前
富士電機株式会社
電磁接触器
14日前
株式会社GSユアサ
蓄電装置
14日前
太陽誘電株式会社
コイル部品
1か月前
三菱電機株式会社
回路遮断器
22日前
株式会社ホロン
冷陰極電子源
1か月前
株式会社GSユアサ
蓄電設備
1か月前
株式会社GSユアサ
蓄電装置
1か月前
株式会社GSユアサ
蓄電装置
1か月前
株式会社GSユアサ
蓄電設備
1か月前
株式会社GSユアサ
蓄電装置
28日前
トヨタ自動車株式会社
蓄電装置
1か月前
トヨタ自動車株式会社
バッテリ
1か月前
大電株式会社
電線又はケーブル
6日前
ホシデン株式会社
複合コネクタ
8日前
トヨタ自動車株式会社
冷却構造
1か月前
北道電設株式会社
配電具カバー
1か月前
株式会社トクミ
ケーブル
今日
日新イオン機器株式会社
基板処理装置
1か月前
日本特殊陶業株式会社
保持装置
1か月前
トヨタ自動車株式会社
蓄電装置
6日前
日本特殊陶業株式会社
保持装置
27日前
日本無線株式会社
レーダアンテナ
29日前
株式会社トクヤマ
シリコンエッチング液
1か月前
株式会社レゾナック
冷却器
22日前
矢崎総業株式会社
コネクタ
14日前
住友電装株式会社
コネクタ
1か月前
続きを見る
他の特許を見る