TOP
|
特許
|
意匠
|
商標
特許ウォッチ
Twitter
他の特許を見る
公開番号
2025172365
公報種別
公開特許公報(A)
公開日
2025-11-26
出願番号
2024077837
出願日
2024-05-13
発明の名称
圧着ダイス及び圧着装置
出願人
白山商事株式会社
,
株式会社東光高岳
代理人
個人
,
個人
主分類
H01R
43/048 20060101AFI20251118BHJP(基本的電気素子)
要約
【課題】圧着後の圧着端子及び電線に偏肉部が生じにくく、構成が簡単であり、作業者が手持ちで圧着作業をすることができ、充分なカシメ力(圧着力)を発生することができる圧着ダイス及びこの圧着ダイスを備えた圧着装置を提供する。
【解決手段】圧着ダイスは、1対の圧着アームと、1対の圧着アームの一端部にそれぞれ設けられており、1対の圧着アームの軸方向に対して垂直方向にそれぞれ伸長する1対の直角端部と、1対の直角端部の互いに対向する側面にそれぞれ設けられており、1対の圧着アームの回動により、圧着端子及び電線を押圧してカシメを行うために互いに咬合する1対の歯口部とを備えている。
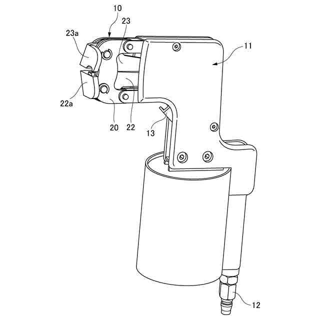
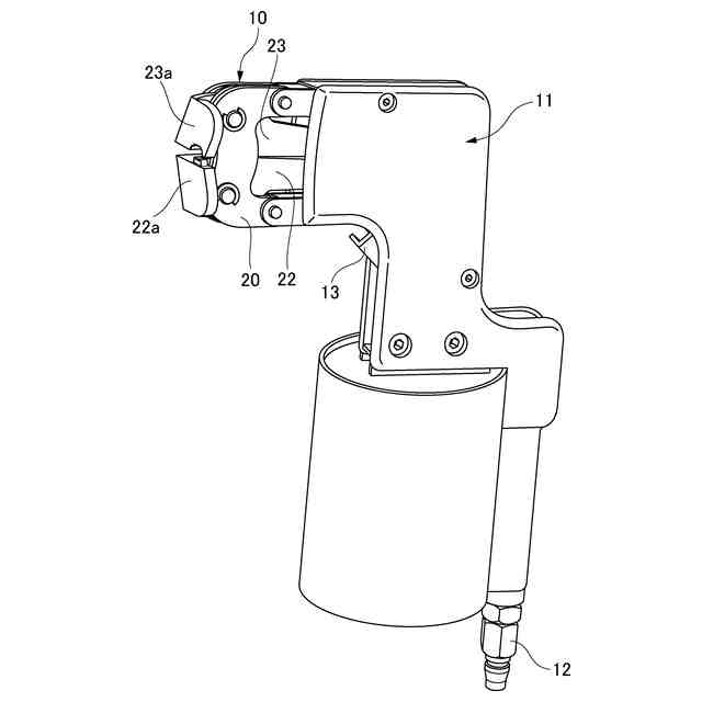
【選択図】図1
特許請求の範囲
【請求項1】
1対の圧着アームと、前記1対の圧着アームの一端部にそれぞれ設けられており、前記1対の圧着アームの軸方向に対して垂直方向にそれぞれ伸長する1対の直角端部と、前記1対の直角端部の互いに対向する側面にそれぞれ設けられており、前記1対の圧着アームの回動により、圧着端子及び電線を押圧してカシメを行うために互いに咬合する1対の歯口部とを備えていることを特徴とする圧着ダイス。
続きを表示(約 580 文字)
【請求項2】
前記1対の直角端部が、前記1対の圧着アームの回動する面に垂直の方向に伸長していることを特徴とする請求項1に記載の圧着ダイス。
【請求項3】
前記1対の圧着アームの各々が、圧着アームの一端部に設けられた前記直角端部と、前記圧着アームの他端部に設けられ、カシメ動作用の駆動力が加えられる圧力加入部と、前記直角端部及び前記圧力加入部間に設けられた枢軸部とを有し、前記枢軸部を中心とする前記1対の圧着アームの枢動によって前記1対の歯口部が圧着端子及び電線のカシメを行うように構成されていることを特徴とする請求項1に記載の圧着ダイス。
【請求項4】
請求項1から3のいずれか1項に記載の圧着ダイスを備えていることを特徴とする圧着装置。
【請求項5】
空気圧によって発生したカシメ動作用の駆動力によって駆動される空気圧式圧着装置であることを特徴とする請求項4に記載の圧着装置。
【請求項6】
一端にカシメ動作用の駆動力が加えられるスライダと、該スライダの他端に一端がそれぞれ連結された2つのリンクとを有するトグル機構をさらに備えており、前記トグル機構の前記リンクの他端が前記圧着ダイスの前記1対の圧着アームの前記圧力加入部に連結されていることを特徴とする請求項4に記載の圧着装置。
発明の詳細な説明
【技術分野】
【0001】
本発明は、電線と圧着端子との圧着接続に使用される圧着ダイス及びこの圧着ダイスを備えた圧着装置に係り、特に、アルミニウムやアルミニウム合金製の導体を用いた電線と圧着端子との圧着接続に用いて好適な圧着ダイス及び圧着装置に関する。
続きを表示(約 1,600 文字)
【背景技術】
【0002】
作業者が手持ちで圧着作業をすることができる圧着装置又は圧着工具における圧着ダイスの多くは、1対のアームを枢着部で回動自在に連結し、枢着部を中心としてこれら1対のアームを回動させることにより、それらの先端に設けた1対の歯口部で電線と圧着端子とを圧着接続する構造を有している。
【0003】
例えば、特許文献1には、先端側が互いに近づく方向に動くように配設された一対の顎部と、後端側が互いに近づく方向に回動可能に配設された一対のハンドル部と、ハンドル部のうちの少なくとも一方側又は他方側に、所定の軸部材によって回動可能に連結されたスタンド部とを備えた圧着ダイス及び圧着工具が記載されている。
【0004】
また、特許文献2には、一端から他端に至る一対の把持部材と、一対の把持部材同士を回動可能に連結する枢着部と、基端から先端に至る一対の挟持部材と、一対の挟持部材同士を基端と先端との間の中ほどで支持する支持部とを備え、一方の挟持部材は、他端側が一方の把持部材に対して回動自在に接続され、他方の挟持部材は、他方の把持部材に対して不動に固定され又は他方の把持部材と一体の部材で形成され、一対の把持部材の一端同士を近づけることにより、一対の挟持部材の先端に設けられたダイス部同士が互いに接近するようにした圧着ダイス及び圧着工具が記載されている。
【先行技術文献】
【特許文献】
【0005】
特開2020-023027号公報
特開2022-076647号公報
【発明の概要】
【発明が解決しようとする課題】
【0006】
しかしながら、これら特許文献1及び特許文献2に記載された従来の圧着ダイス及び圧着工具によると、1対のアームの回動に基づいて、1対の歯口部が円弧状に運動して互いに咬合しカシメを行っているため、圧着端子及び電線に加えられる力が加圧面の先端側と後端側とで均一とはならず、圧着後の圧着端子及び電線に偏肉部がどうしても発生していた。偏肉部が発生すると、端子の圧着強度が大幅に低下する。
【0007】
1対の歯口部が直線状に運動して互いに咬合しカシメを行う圧着ダイスを備えた圧着工具も存在するが、作業者が手持ちで圧着作業をすることができる圧着工具においては、アームの回動運動を直線運動に無理やり変換しているため、充分なカシメ力で圧着することが難しく、また、構造が複雑である。1対の歯口部が直線状に運動して互いに咬合しカシメを行う備え付けの圧着装置も存在するが、備え付けであることから、重量が重いので操作性が悪く打ち損じが起き易いこと、生産性が悪いこと、高価であることなど、種々の問題点を有している。
【0008】
従って、本発明の目的は、圧着後の圧着端子及び電線に偏肉部が生じにくく、構成が簡単な圧着ダイス及びこの圧着ダイスを備えた圧着装置を提供することにある。
【0009】
本発明の他の目的は、作業者が手持ちで圧着作業をすることができ、充分なカシメ力(圧着力)を発生することができる圧着ダイス及びこの圧着ダイスを備えた圧着装置を提供することにある。
【課題を解決するための手段】
【0010】
本発明によれば、圧着ダイスは、1対の圧着アームと、1対の圧着アームの一端部にそれぞれ設けられており、1対の圧着アームの軸方向に対して垂直方向にそれぞれ伸長する1対の直角端部と、1対の直角端部の互いに対向する側面にそれぞれ設けられており、1対の圧着アームの回動により、圧着端子及び電線を押圧してカシメを行うために互いに咬合する1対の歯口部とを備えている。
(【0011】以降は省略されています)
この特許をJ-PlatPat(特許庁公式サイト)で参照する
関連特許
白山商事株式会社
圧着接続部材
9か月前
白山商事株式会社
空気圧式圧着装置
2日前
白山商事株式会社
圧着ダイス及び圧着装置
2日前
東ソー株式会社
絶縁電線
1か月前
APB株式会社
蓄電セル
1か月前
日新イオン機器株式会社
イオン源
1か月前
株式会社東芝
端子台
29日前
ローム株式会社
半導体装置
1か月前
マクセル株式会社
電源装置
29日前
株式会社GSユアサ
蓄電装置
1か月前
株式会社GSユアサ
蓄電装置
1か月前
三菱電機株式会社
回路遮断器
16日前
富士電機株式会社
電磁接触器
8日前
株式会社GSユアサ
蓄電装置
22日前
株式会社GSユアサ
蓄電装置
8日前
株式会社ホロン
冷陰極電子源
1か月前
大電株式会社
電線又はケーブル
今日
トヨタ自動車株式会社
蓄電装置
今日
日新イオン機器株式会社
基板処理装置
1か月前
トヨタ自動車株式会社
バッテリ
1か月前
トヨタ自動車株式会社
冷却構造
1か月前
ホシデン株式会社
複合コネクタ
2日前
北道電設株式会社
配電具カバー
1か月前
日本特殊陶業株式会社
保持装置
21日前
トヨタ自動車株式会社
蓄電装置
1か月前
日本特殊陶業株式会社
保持装置
1か月前
トヨタ自動車株式会社
電池パック
1か月前
株式会社トクヤマ
シリコンエッチング液
1か月前
トヨタ自動車株式会社
密閉型電池
1か月前
日亜化学工業株式会社
半導体レーザ素子
1か月前
ローム株式会社
半導体装置
1か月前
株式会社デンソー
電子装置
1か月前
住友電装株式会社
コネクタ
1か月前
甲神電機株式会社
変流器及び零相変流器
23日前
ローム株式会社
半導体モジュール
9日前
株式会社トクヤマ
シリコンエッチング液
1か月前
続きを見る
他の特許を見る