TOP
|
特許
|
意匠
|
商標
特許ウォッチ
Twitter
他の特許を見る
公開番号
2025024303
公報種別
公開特許公報(A)
公開日
2025-02-20
出願番号
2023128323
出願日
2023-08-07
発明の名称
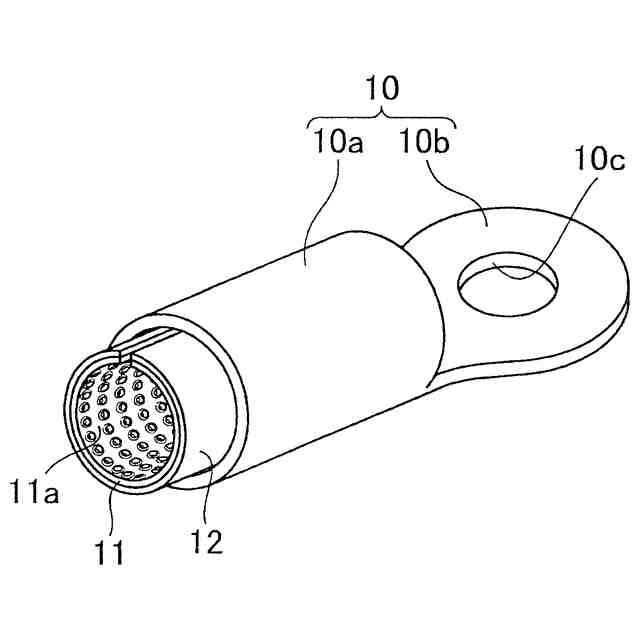
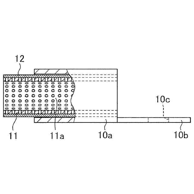
圧着接続部材
出願人
白山商事株式会社
,
株式会社ダイヘン
代理人
個人
主分類
H01R
4/18 20060101AFI20250213BHJP(基本的電気素子)
要約
【課題】表面に絶縁被膜が形成された銅又は銅合金製の電線についても圧着によって良好な電気的接続を得ることができる圧着接続部材を提供する。
【解決手段】圧着接続部材は、圧着時は圧着すべき電線を取り囲むようにその外側に設けられたセレーション部材と、セレーション部材を取り囲んでその外側に設けられセレーション部材の構成材料より硬い導電材料で形成された補強押圧部材と、補強押圧部材を取り囲んでその外側に設けられる圧着部とを備えている。
【選択図】図1
特許請求の範囲
【請求項1】
圧着時は圧着すべき電線を取り囲むようにその外側に設けられたセレーション部材と、該セレーション部材を取り囲んでその外側に設けられ前記セレーション部材の構成材料より硬い導電材料で形成された補強押圧部材と、該補強押圧部材を取り囲んでその外側に設けられる圧着部とを備えていることを特徴とする圧着接続部材。
続きを表示(約 480 文字)
【請求項2】
前記補強押圧部材が、銅より硬い銅合金材料で形成されていることを特徴とする請求項1に記載の圧着接続部材。
【請求項3】
前記補強押圧部材が、リン青銅合金材料で形成されていることを特徴とする請求項2に記載の圧着接続部材。
【請求項4】
前記補強押圧部材が、0.05~0.2mmの厚さを有していることを特徴とする請求項1に記載の圧着接続部材。
【請求項5】
前記セレーション部材が、前記電線より硬い導電材料で形成されていることを特徴とする請求項1に記載の圧着接続部材。
【請求項6】
前記セレーション部材が、銅又は銅合金材料で形成されていることを特徴とする請求項1に記載の圧着接続部材。
【請求項7】
前記電線が、絶縁被膜で被覆された銅又は銅合金材料によって形成された電線であることを特徴とする請求項1に記載の圧着接続部材。
【請求項8】
前記圧着部が、銅又は銅合金材料で形成されていることを特徴とする請求項1から7のいずれか1項に記載の圧着接続部材。
発明の詳細な説明
【技術分野】
【0001】
本発明は、電線の圧着接続に使用される圧着接続部材に係り、特に、銅又は銅合金製の導体を用いた電線の圧着接続に使用して有効な圧着接続部材に関する。
続きを表示(約 1,400 文字)
【背景技術】
【0002】
アルミニウム電線を銅製の圧着端子に圧着接続する場合、電線の表面に形成された酸化被膜や絶縁塗膜(以下、絶縁被膜)を除去するために、圧着端子の内壁にセレーションを形成して圧着するか、圧着端子内部にセレーション部材を挿入して圧着することが行われる。
【0003】
特許文献1には、圧着部の内側の表面に、導体の長さ方向に対して斜めに延びるセレーションを形成し、圧着時に、このセレーションがアルミニウム電線表面の絶縁被膜を破壊して接触し導通するようにした圧着端子が記載されている。アルミニウム電線の圧着を行う場合には、このような従来の圧着端子を用いてもセレーションがその絶縁被膜を破壊してアルミニウムに食い込み、セレーションの孔内にアルミニウムが充填されるので、良好な電気的接触を得ることができる。
【先行技術文献】
【特許文献】
【0004】
特開2003-249284号公報
【発明の概要】
【発明が解決しようとする課題】
【0005】
しかしながら、このような従来の圧着端子を銅製又は銅合金製の電線の圧着に用いると、銅製の圧着端子-セレーション-銅製又は銅合金製の電線がこの順序で重畳されて圧着することとなり、セレーションが銅製又は銅合金製の電線ではなく、銅製の圧着端子側に食い込む現象が生じて電線の絶縁被膜を効果的に破ることができず、良好な電気的接触を得ることができなかった。
【0006】
従って、本発明は従来技術の上述の問題点を解消するものであり、その目的は、表面に絶縁被膜が形成された銅又は銅合金製の電線についても圧着によって良好な電気的接続を得ることができる圧着接続部材を提供することにある。
【課題を解決するための手段】
【0007】
本発明によれば、圧着接続部材は、圧着時は圧着すべき電線を取り囲むようにその外側に設けられたセレーション部材と、セレーション部材を取り囲んでその外側に設けられたセレーション部材の構成材料より硬い導電材料で形成された補強押圧部材と、補強押圧部材を取り囲んでその外側に設けられる圧着部とを備えている。
【0008】
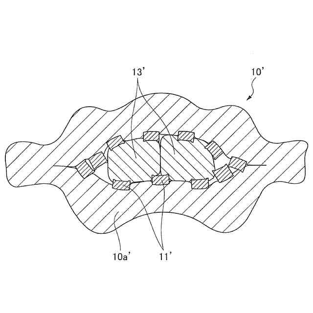
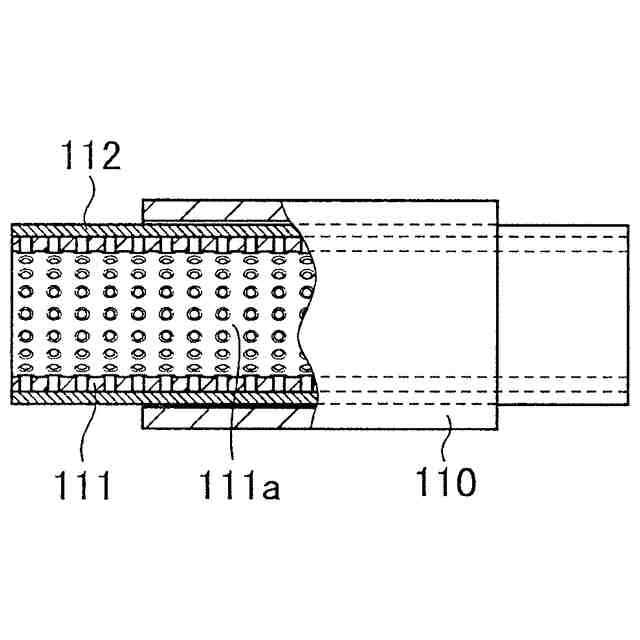
セレーション部材と圧着部との間に補強押圧部材が設けられているため、圧着時にセレーション部材は、圧着部に直接的に当接しない。しかも、補強押圧部材がセレーション部材の構成材料より硬い導電材料で形成されているため、この補強押圧部材にセレーション部材が食い込むことはなく、圧着時の圧着部からの力が補強押圧部材の全面に分散されてセレーション部材に印加されることとなる。このため、セレーション部材は、圧着部側ではなく、電線側に食い込むこととなり、電線表面に形成されている絶縁被膜がセレーション部材によって効果的に破壊され、電線本体とセレーション部材、補強押圧部材及び圧着部との間の良好な電気的接続が得られる。
【0009】
補強押圧部材が、銅より硬い銅合金材料で形成されていることが好ましい。
【0010】
この場合、補強押圧部材が、リン青銅合金材料で形成されていることがより好ましい。リン青銅合金材料で形成すれば、電気的導通が良好となる。
(【0011】以降は省略されています)
この特許をJ-PlatPat(特許庁公式サイト)で参照する
関連特許
白山商事株式会社
圧着接続部材
9か月前
白山商事株式会社
空気圧式圧着装置
2日前
白山商事株式会社
圧着ダイス及び圧着装置
2日前
東ソー株式会社
絶縁電線
1か月前
APB株式会社
蓄電セル
1か月前
マクセル株式会社
電源装置
29日前
ローム株式会社
半導体装置
1か月前
株式会社東芝
端子台
29日前
株式会社GSユアサ
蓄電装置
8日前
株式会社GSユアサ
蓄電装置
1か月前
株式会社GSユアサ
蓄電装置
1か月前
株式会社GSユアサ
蓄電装置
22日前
三菱電機株式会社
回路遮断器
16日前
富士電機株式会社
電磁接触器
8日前
株式会社ホロン
冷陰極電子源
1か月前
トヨタ自動車株式会社
蓄電装置
1か月前
大電株式会社
電線又はケーブル
今日
日新イオン機器株式会社
基板処理装置
1か月前
トヨタ自動車株式会社
バッテリ
1か月前
トヨタ自動車株式会社
冷却構造
1か月前
日本特殊陶業株式会社
保持装置
21日前
北道電設株式会社
配電具カバー
1か月前
ホシデン株式会社
複合コネクタ
2日前
トヨタ自動車株式会社
蓄電装置
今日
日本特殊陶業株式会社
保持装置
1か月前
住友電装株式会社
コネクタ
8日前
ローム株式会社
半導体装置
1か月前
ヒロセ電機株式会社
電気コネクタ
8日前
矢崎総業株式会社
コネクタ
8日前
ローム株式会社
半導体モジュール
9日前
トヨタ自動車株式会社
電池パック
1か月前
日亜化学工業株式会社
半導体レーザ素子
1か月前
株式会社レゾナック
冷却器
16日前
甲神電機株式会社
変流器及び零相変流器
23日前
トヨタ自動車株式会社
電池パック
1か月前
株式会社トクヤマ
シリコンエッチング液
1か月前
続きを見る
他の特許を見る