TOP
|
特許
|
意匠
|
商標
特許ウォッチ
Twitter
他の特許を見る
10個以上の画像は省略されています。
公開番号
2025079767
公報種別
公開特許公報(A)
公開日
2025-05-22
出願番号
2024025786,2023192314
出願日
2024-02-22,2023-11-10
発明の名称
変圧器
出願人
株式会社東光高岳
代理人
個人
主分類
H01F
30/10 20060101AFI20250515BHJP(基本的電気素子)
要約
【課題】 油入変圧器として用いる場合に、真空引きを行ったときに、僅かな隙間に空気が残ってしまうことを抑制すること。
【解決手段】 本発明の態様は、電源側の回路から交流電力を受け、電磁誘導作用により電圧及び電流を変成して、負荷側の回路に同一周波数の交流電力を供給する変圧器である。変圧器は、電源側の回路に接続される一次巻線を備える。変圧器は、負荷側の回路に接続される二次巻線を備える。変圧器は、一次巻線及び二次巻線に対して鎖交する円筒状の複数の鉄心を備える。一次巻線は、環状のボビンの外周部に巻かれている。ボビンは、角部を丸めた棒状の四角形である。ボビンは、外周部の幅方向において一次巻線を分ける仕切部を備える。仕切部は、外側に突出する複数の突出部を備える。複数の突出部は、一次巻線の巻き方向において互いに離れてボビンの角部及び辺部に設けられる。少なくとも辺部に設けられる突出部は、棒状の部材である。
【選択図】図6
特許請求の範囲
【請求項1】
電源側の回路から交流電力を受け、電磁誘導作用により電圧及び電流を変成して、負荷側の回路に同一周波数の交流電力を供給する変圧器であって、
電源側の回路に接続される一次巻線と、
負荷側の回路に接続される二次巻線と、
前記一次巻線及び前記二次巻線に対して鎖交する円筒状の複数の鉄心と、を備え、
前記一次巻線は、環状のボビンの外周部に巻かれており、
前記ボビンは、
角部を丸めた環状の四角形であり、
前記外周部の幅方向において前記一次巻線を分ける仕切部を備え、
前記仕切部は、外側に突出する複数の突出部を備え、
複数の前記突出部は、前記一次巻線の巻き方向において互いに離れて前記ボビンの前記角部及び辺部に設けられ、
少なくとも前記辺部に設けられる前記突出部は、棒状の部材である、変圧器。
続きを表示(約 840 文字)
【請求項2】
前記突出部の先端部は、前記一次巻線の外周端部よりも外側にある、請求項1に記載の変圧器。
【請求項3】
一の前記角部に設けられる前記突出部の数は、一の前記辺部に設けられる前記突出部の数よりも多い、請求項1に記載の変圧器。
【請求項4】
前記仕切部は、前記突出部を支持する支持部を備え、
前記支持部は、前記一次巻線の巻き方向に延び、前記外周部から突出して設けられ、
前記支持部の突出長さは、前記仕切部により分けられた前記一次巻線の巻線間の沿面距離が絶縁距離を満たす長さに設定される、請求項1に記載の変圧器。
【請求項5】
前記仕切部により分けられる前記一次巻線は、1本の電線により形成され、
前記仕切部は、前記仕切部の外側をまたぐ前記一次巻線の電線を案内する案内部を備える、請求項1に記載の変圧器。
【請求項6】
前記案内部は、前記仕切部の外側をまたぐ前記一次巻線の電線をかける切欠部を備える、請求項5に記載の変圧器。
【請求項7】
前記案内部は、前記切欠部にかけられた電線を前記外周部の表面まで案内する傾斜部を備える、請求項6に記載の変圧器。
【請求項8】
前記一次巻線、前記二次巻線及び前記鉄心は、変圧器用絶縁油の中に浸される、請求項1に記載の変圧器。
【請求項9】
前記二次巻線は、前記ボビンの環状の内側及び前記突出部の外側に巻かれている、請求項1に記載の変圧器。
【請求項10】
前記鉄心は、前記一次巻線及び前記二次巻線に対して、前記一次巻線及び前記二次巻線を囲う円筒状のカバーを挟んで設けられ、
前記ボビンは、
前記カバーの軸方向における一方の端部の位置を規制する第1規制部と、
前記カバーの軸方向における他方の端部の位置を規制する第2規制部と、を備える、請求項1に記載の変圧器。
発明の詳細な説明
【技術分野】
【0001】
本発明は、変圧器に関するものである。
続きを表示(約 2,100 文字)
【背景技術】
【0002】
変成器は、変圧や変流を実現するために用いられている。
【0003】
特許文献1に記載の変成器は、環状の枠体を備える。また、変成器は、導線が周方向に巻き付けられることによって枠体の外周にそれぞれ形成されており、枠体の軸長方向に並ぶ複数のコイルを備える。また、変成器は、外周に立設され、隣り合うコイルを全周にわたって隔てる絶縁壁を備える。複数のコイルは、1本の連続した導線からなる。絶縁壁の一面の側の外周に形成されている一のコイルの巻き終わり部分から延びる導線は、絶縁壁を乗り越えて、絶縁壁の他面の側の外周に形成されている他のコイルを巻き始める部分に連続している。絶縁壁の他面の側の外周は、周方向に延びる第1面を有する。また、絶縁壁の他面の側の外周は、第1面に周方向に隣り合い、第1面よりも絶縁壁の先端部側に位置する第2面を有する。第2面は、絶縁壁を乗り越えた導線が他のコイルを構成する導線に軸長方向に隣り合う位置に対応して設けられている。
【先行技術文献】
【特許文献】
【0004】
特許第7162108号公報
【発明の概要】
【発明が解決しようとする課題】
【0005】
変成器の種類には、油入変圧器と称される変圧器がある。油入変圧器は、巻線及び鉄心を変圧器用絶縁油の中に浸し、油の絶縁と冷却の作用を利用している変圧器である。油入変圧器を製造する作業者は、変圧器を収めるタンクに変圧器用絶縁油を注入するとき、電気的絶縁を目的とした脱泡のために真空引きを行う。
【0006】
特許文献1に記載の変成器は、隣り合うコイルを全周にわたって絶縁壁が隔てており、真空引きを行っても、コイルと絶縁壁との間の僅かな隙間に空気が残りやすい。
【課題を解決するための手段】
【0007】
本発明の態様は、電源側の回路から交流電力を受け、電磁誘導作用により電圧及び電流を変成して、負荷側の回路に同一周波数の交流電力を供給する変圧器である。変圧器は、電源側の回路に接続される一次巻線を備える。変圧器は、負荷側の回路に接続される二次巻線を備える。変圧器は、一次巻線及び二次巻線に対して鎖交する円筒状の複数の鉄心を備える。一次巻線は、環状のボビンの外周部に巻かれている。ボビンは、角部を丸めた棒状の四角形である。ボビンは、外周部の幅方向において一次巻線を分ける仕切部を備える。仕切部は、外側に突出する複数の突出部を備える。複数の突出部は、一次巻線の巻き方向において互いに離れてボビンの角部及び辺部に設けられる。少なくとも辺部に設けられる突出部は、棒状の部材である。
【図面の簡単な説明】
【0008】
変圧器100の一例を示す斜視図である。
鉄心130及びカバー140を取り外した状態の変圧器100の一例を示す正面図である。
図2におけるA-A’の断面の一例を示す図である。
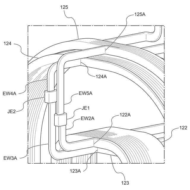
第2巻線122、第3巻線123、第4巻線124及び第5巻線125の一端部の一例を示す斜視図である。
第2巻線122、第3巻線123、第4巻線124及び第5巻線125の他端部の一例を示す斜視図である。
ボビン150の一例を示す斜視図である。
ボビン150の一例を示す側面図である。
第1巻線111が巻かれた状態のボビン150の一例を示す斜視図である。
第1巻線111が巻かれた状態のボビン150の一例を示す側面図である。
ボビン150の一例を示す正面図である。
支持部152Bの突出長さの一例を示す図である。
案内部152Cの一例を示す正面図である。
第1巻線111、第2巻線122、第3巻線123、第4巻線124、第5巻線125及びボビン150を囲った状態のカバー140の一例を示す斜視図である。
カバー140の一例を示す斜視図である。
端辺部141を正面に見たときのカバー140の一例を示す側面図である。
ヒンジ部142を正面に見たときのカバー140の一例を示す側面図である。
カバー140の一例を示す平面図である。
一対の端辺部141同士を閉じた状態のカバー140の一例を示す斜視図である。
一対の端辺部141同士を閉じた状態のカバー140の一例を示す平面図である。
第1巻線111、第2巻線122、第3巻線123、第4巻線124、第5巻線125及びボビン150を囲った状態のカバー140の一例を示す正面図である。
図20におけるB-B’の断面の一例を示す図である。
【発明を実施するための形態】
【0009】
以下、発明の実施形態を通じて本発明を説明するが、以下の実施形態は、特許請求の範囲に記載の発明を限定しない。また、実施形態の中で説明されている特徴の組み合わせは、全てが発明の解決手段に必須であるとは限らない。
【0010】
図1は、変圧器100の一例を示す斜視図である。
(【0011】以降は省略されています)
この特許をJ-PlatPat(特許庁公式サイト)で参照する
関連特許
株式会社東光高岳
計器
5か月前
株式会社東光高岳
充電器
2日前
株式会社東光高岳
走査ステージ
29日前
株式会社東光高岳
充電対象切換システム
2日前
白山商事株式会社
空気圧式圧着装置
15日前
白山商事株式会社
圧着ダイス及び圧着装置
15日前
株式会社東光高岳
水平二点切断路器の調整方法及び水平二点切断路器
2か月前
個人
三重コイル変圧器
1日前
東ソー株式会社
絶縁電線
1か月前
APB株式会社
蓄電セル
1か月前
日機装株式会社
加圧装置
6日前
ローム株式会社
半導体装置
1日前
日新イオン機器株式会社
イオン源
6日前
マクセル株式会社
電源装置
1か月前
ローム株式会社
半導体装置
1か月前
株式会社東芝
端子台
1か月前
日新イオン機器株式会社
イオン源
1か月前
株式会社GSユアサ
蓄電装置
21日前
株式会社GSユアサ
蓄電装置
1か月前
株式会社GSユアサ
蓄電装置
1か月前
富士電機株式会社
電磁接触器
21日前
三菱電機株式会社
回路遮断器
29日前
株式会社ホロン
冷陰極電子源
1か月前
株式会社GSユアサ
蓄電装置
1か月前
トヨタ自動車株式会社
蓄電装置
13日前
トヨタ自動車株式会社
蓄電装置
1か月前
株式会社東芝
電子源
6日前
日本特殊陶業株式会社
保持装置
1か月前
個人
電源ボックス及び電子機器
6日前
北道電設株式会社
配電具カバー
1か月前
トヨタ自動車株式会社
バッテリ
1か月前
ホシデン株式会社
複合コネクタ
15日前
日本特殊陶業株式会社
保持装置
1日前
日本特殊陶業株式会社
保持装置
1か月前
大電株式会社
電線又はケーブル
13日前
トヨタ自動車株式会社
冷却構造
1か月前
続きを見る
他の特許を見る