TOP
|
特許
|
意匠
|
商標
特許ウォッチ
Twitter
他の特許を見る
公開番号
2025178913
公報種別
公開特許公報(A)
公開日
2025-12-09
出願番号
2024085790
出願日
2024-05-27
発明の名称
充電対象切換システム
出願人
株式会社東光高岳
代理人
個人
主分類
H02J
7/00 20060101AFI20251202BHJP(電力の発電,変換,配電)
要約
【課題】充電スタンドの稼働率を上げること。
【解決手段】本発明の一態様は、充電対象切換システムである。充電対象切換システムは、充電スタンドから供給される電力を、複数の電動移動体に対して順に供給する充電対象切換装置を備える。充電対象切換装置は、充電スタンドの充電ケーブルを接続可能な一の受電コネクタを備える。充電対象切換システムは、電動移動体に接続する送電ケーブルを接続可能な複数の送電コネクタを備える。充電対象切換システムは、充電スタンドから出力され受電コネクタに入力された電力を、いずれか1つの送電コネクタから電動移動体に出力する。
【選択図】図2
特許請求の範囲
【請求項1】
電動移動体に対して電力を供給する充電スタンドと、
前記充電スタンドから供給される電力を、複数の前記電動移動体に対して順に供給する充電対象切換装置を備え、
前記充電対象切換装置は、
前記充電スタンドの充電ケーブルを接続可能な一の受電コネクタと、
前記電動移動体に接続する送電ケーブルを接続可能な複数の送電コネクタと、を備え、
前記充電スタンドから出力され前記受電コネクタに入力された電力を、いずれか1つの前記送電コネクタから前記電動移動体に出力する、充電対象切換システム。
続きを表示(約 1,100 文字)
【請求項2】
前記充電対象切換装置は、
複数の前記送電コネクタにそれぞれ対応して設けられ、前記受電コネクタから前記送電コネクタに電力を送電するための送電路を開閉する複数の開閉器と、
前記開閉器を制御する制御装置と、を備え、
前記制御装置は、充電する対象の前記電動移動体が接続された前記送電コネクタに対応する前記開閉器を閉状態に制御し、その他の前記開閉器を開状態に制御する、請求項1に記載の充電対象切換システム。
【請求項3】
前記制御装置は、前記電動移動体の充電が終わったときに、充電を終えた前記電動移動体に対応する前記開閉器を閉状態から開状態に制御する、請求項2に記載の充電対象切換システム。
【請求項4】
前記制御装置は、充電を終えた前記電動移動体に対応する前記開閉器を閉状態から開状態に制御した後に、次に充電する対象の前記電動移動体に対応する前記開閉器を開状態から閉状態に制御する、請求項3に記載の充電対象切換システム。
【請求項5】
前記制御装置は、
前記電動移動体の充電状態を特定可能な状態データを取得可能であり、
前記電動移動体の充電が終わったことを特定可能なデータを取得したときに、充電を終えた前記電動移動体に対応する前記開閉器を閉状態から開状態に制御し、次に充電する対象の前記電動移動体に対応する前記開閉器を開状態から閉状態に制御する、請求項3に記載の充電対象切換システム。
【請求項6】
前記制御装置は、利用者の優先順位を特定可能なスケジュールを参照して、次に充電する対象の前記電動移動体を特定する、請求項4に記載の充電対象切換システム。
【請求項7】
前記制御装置は、
予約に関する予約データを取得可能であり、
予約に応じて前記スケジュールを更新する、請求項6に記載の充電対象切換システム。
【請求項8】
前記制御装置は、次に充電する対象の前記電動移動体が充電可能な状態にない場合、充電可能な状態にない前記電動移動体の次に優先順位が高い利用者の前記電動移動体を、前記スケジュールを参照して特定する、請求項7に記載の充電対象切換システム。
【請求項9】
前記制御装置は、次に充電する対象の前記電動移動体の充電を正常に開始できない場合、正常に充電を開始できない前記電動移動体の次に優先順位が高い利用者の前記電動移動体を、前記スケジュールを参照して特定する、請求項7に記載の充電対象切換システム。
【請求項10】
前記充電スタンドは、前記電動移動体との間で充電に関するデータを、前記充電対象切換装置を介して送受信する、請求項1に記載の充電対象切換システム。
発明の詳細な説明
【技術分野】
【0001】
本発明は、充電対象切換システムに関する。
続きを表示(約 1,500 文字)
【背景技術】
【0002】
特許文献1には、複数の電気自動車やその他の電動移動体を効率的に充電するための充電装置が記載されている。具体的には、特許文献1に記載の充電装置は、直流電源部、複数の充電ケーブル及び出力先を切り換えるための切替部から構成されている。
【先行技術文献】
【特許文献】
【0003】
特開2024-26961号公報
【発明の概要】
【発明が解決しようとする課題】
【0004】
複数の充電ケーブルを備える充電スタンドは、複数の利用者が同時に利用できるが、設置に要するスペースが大きいため、設置場所が限られる。一方、1つの充電ケーブルしか備えていない充電スタンドは、充電を終えた電動移動体の利用者が電動移動体を移動させなければ次の利用者が利用できないため、稼働率が低い。
【課題を解決するための手段】
【0005】
本発明の一態様は、充電対象切換システムである。充電対象切換システムは、一の充電ケーブルを備える充電スタンドから供給される電力を、複数の電動移動体に対して順に供給する充電対象切換装置を備える。充電対象切換装置は、充電スタンドの充電ケーブルを接続可能な一の受電コネクタを備える。充電対象切換システムは、電動移動体に接続する送電ケーブルを接続可能な複数の送電コネクタを備える。充電対象切換システムは、充電スタンドから出力され受電コネクタに入力された電力を、いずれか1つの送電コネクタから電動移動体に出力する。
【図面の簡単な説明】
【0006】
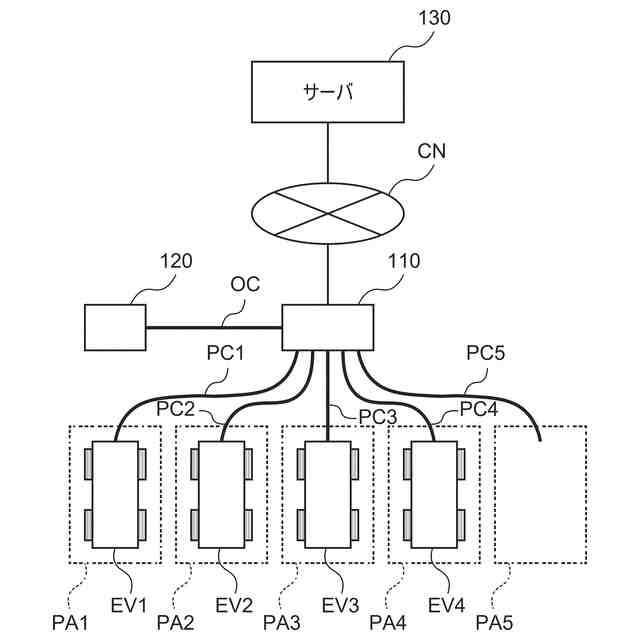
充電対象切換システム100の構成の一例を示す図である。
充電対象切換装置110の構成の一例を概略的に示す図である。
制御装置114の機能構成の一例を概略的に示す図である。
スケジュール格納部114Dに格納されるスケジュールの一例を概略的に示す図である。
制御装置114による予約処理の一例を概略的に示す図である。
制御装置114による駐車エリア空き待ち処理の一例を概略的に示す図である。
制御装置114による開閉器制御処理の一例を概略的に示す図である。
【発明を実施するための形態】
【0007】
以下、発明の実施形態を通じて本発明を説明するが、以下の実施形態は、特許請求の範囲にかかる発明を限定するものではない。また、実施形態の中で説明されている特徴の組み合わせは、全てが発明の解決手段に必須であるとは限らない。
【0008】
図1は、充電対象切換システム100の構成の一例を示す図である。充電対象切換システム100は、複数の電気自動車EVに対して順に電力を供給するシステムである。電気自動車EVは、原動機として電動機を備えている自動車である。図1には、電気自動車EVとして、第1電気自動車EV1、第2電気自動車EV2、第3電気自動車EV3及び第4電気自動車EV4が図示されている。電気自動車EVは、電動移動体の一例である。
【0009】
充電対象切換システム100は、充電対象切換装置110、充電スタンド120及びサーバ130を備える。
【0010】
充電対象切換装置110は、充電スタンド120から供給される電力を、複数の電気自動車EVに対して順に供給する装置である。充電対象切換装置110は、例えば、駐車エリアPA及び充電スタンド120の近傍に設けられる。
(【0011】以降は省略されています)
この特許をJ-PlatPat(特許庁公式サイト)で参照する
関連特許
株式会社東光高岳
充電器
今日
株式会社東光高岳
走査ステージ
27日前
株式会社東光高岳
充電対象切換システム
今日
白山商事株式会社
空気圧式圧着装置
13日前
白山商事株式会社
圧着ダイス及び圧着装置
13日前
株式会社東光高岳
水平二点切断路器の調整方法及び水平二点切断路器
2か月前
個人
電気を重力で発電装置
1か月前
個人
高圧電気機器の開閉器
20日前
キヤノン電子株式会社
モータ
1か月前
キヤノン電子株式会社
モータ
1か月前
株式会社東光高岳
充電器
今日
コーセル株式会社
電源装置
1か月前
株式会社アイドゥス企画
減反モータ
20日前
トヨタ自動車株式会社
モータ
1か月前
株式会社デンソー
端子台
13日前
株式会社デンソー
回転電機
4日前
個人
二次電池繰返パルス放電器用印刷基板
1か月前
株式会社ダイヘン
送配電装置
4日前
富士電機株式会社
電力変換装置
4日前
富士電機株式会社
電力変換装置
4日前
ローム株式会社
半導体集積回路
11日前
本田技研工業株式会社
回転電機
6日前
株式会社不二越
空冷式油圧装置
4日前
株式会社日立製作所
回転電機
11日前
トヨタ自動車株式会社
固定子の加熱装置
1か月前
矢崎総業株式会社
給電装置
12日前
株式会社TMEIC
制御装置
12日前
株式会社東光高岳
充電対象切換システム
今日
矢崎総業株式会社
電源回路
19日前
ローム株式会社
モータドライバ回路
27日前
日産自動車株式会社
ロータシャフト
27日前
日産自動車株式会社
ロータシャフト
27日前
トヨタ自動車株式会社
ステータの製造装置
1か月前
株式会社イノコンバンク
無線給電システム
4日前
山洋電気株式会社
モータ
1か月前
個人
非対称鏡像力を有する4層PWB電荷搬送体
27日前
続きを見る
他の特許を見る