TOP
|
特許
|
意匠
|
商標
特許ウォッチ
Twitter
他の特許を見る
公開番号
2025169016
公報種別
公開特許公報(A)
公開日
2025-11-12
出願番号
2024073962
出願日
2024-04-30
発明の名称
ロータシャフト
出願人
日産自動車株式会社
代理人
個人
,
個人
主分類
H02K
9/19 20060101AFI20251105BHJP(電力の発電,変換,配電)
要約
【課題】沸騰冷却機能を有するロータシャフトにおいて、作動流体の充填空間を密閉する封止部材への荷重を軽減し、良好なシール性を維持し得るロータシャフトを提供する。
【解決手段】回転電機のロータRを構成するロータシャフト1であって、ロータコア11と、その両端に連結したロータ軸12,13とを同軸線上に備え、ロータコア11が、作動流体Fを充填した沸騰部S1を備えると共に、片方のロータ軸12が、沸騰部S1に連通する凝縮部S3を備えており、凝縮部S3の先端部及び沸騰部S1の反凝縮部側の端部のいずれか一方に、ロータコア11の内外に連通する貫通孔8が形成してあると共に、貫通孔8に挿入状態で固定した封止部材9を設けたロータシャフト1。
【選択図】図1
特許請求の範囲
【請求項1】
回転電機のロータを構成するロータシャフトであって、
ロータコアと、前記ロータコアの両端に連結したロータ軸とを同軸線上に備え、
前記ロータコアが、その内部に、作動流体を充填した円柱状空間である沸騰部を備えると共に、片方の前記ロータ軸が、その内部に、前記沸騰部の内径よりも小さい内径を有して前記沸騰部に連通する円柱状空間である凝縮部を備えており、
前記凝縮部の先端部及び前記沸騰部の反凝縮部側の端部のいずれか一方に、前記ロータコアの内外に連通する貫通孔が形成してあると共に、前記貫通孔に挿入状態で固定した封止部材を設けたことを特徴とするロータシャフト。
続きを表示(約 620 文字)
【請求項2】
前記貫通孔が、前記凝縮部の内径よりも小さい内径を有し、
前記封止部材が、前記貫通孔への挿入方向において、その前端側である固定用の圧入部と、後端側である気密用の接合部とを有することを特徴とする請求項1に記載のロータシャフト。
【請求項3】
前記封止部材の前記圧入部が、前端に向けて直径が漸次増大するテーパ形状を成していると共に、前記圧入部が、前記接合部との境界部分に、前記貫通孔の内側周縁部に係合する段差部を有することを特徴とする請求項2に記載のロータシャフト。
【請求項4】
前記封止部材の前記接合部と前記貫通孔との間に介装されるシール部を備えたことを特徴とする請求項2に記載のロータシャフト。
【請求項5】
前記貫通孔が、前記ロータコアの軸線上に突出した突軸部に形成してあると共に、前記封止部材の前記接合部が、前記圧入部の直径よりも大きい直径を有し、
前記突軸部の先端面と前記接合部との間に介装されるシール部を備えたことを特徴とする請求項2に記載のロータシャフト。
【請求項6】
前記貫通孔と前記封止部材との間にメッキ層を備えたことを特徴とする請求項2に記載のロータシャフト。
【請求項7】
請求項1~6のいずれか1項に記載のロータシャフトを含むロータと、前記ロータに対応するステータとを備えたことを特徴とする回転電機。
発明の詳細な説明
【技術分野】
【0001】
本発明は、回転電機のロータを構成するロータシャフトに関し、とくに、沸騰冷却機能を有するロータシャフトに関するものである。
続きを表示(約 1,700 文字)
【背景技術】
【0002】
従来、沸騰冷却機能を有するロータシャフトとしては、例えば、特許文献1に記載されているものがある。特許文献1には、回転子軸の密閉中空孔に冷却液媒体を封入し、密閉中空孔内に、加熱伝熱領域と冷却伝熱領域を設けたヒートパイプが開示されている。このヒートパイプは、一端が開放された密閉中空孔を有する回転子軸と、密閉中空孔の開放部を閉塞する蓋とを備える。そして、ヒートパイプは、密閉中空孔内に冷却液媒体を注入した後、回転子軸の端部に蓋を摩擦圧接させることにより、密閉中空孔を閉じて冷却液媒体を封入する。
【0003】
上記のヒートパイプは、回転電機の作動時において、ロータで発生した熱を加熱伝熱領域で吸収して冷却液媒体を気化させ、その気化熱によりロータを冷却する。そして、ヒートパイプは、冷却伝熱領域において、加熱伝熱領域の熱を外部に放出すると共に、冷却液媒体を液化し、その冷却液媒体を加熱伝熱領域に戻すというサイクルを繰り返す。
【先行技術文献】
【特許文献】
【0004】
特開昭57-19594号公報
【発明の概要】
【発明が解決しようとする課題】
【0005】
ところで、沸騰冷却機能を有するロータシャフトでは、ヒートパイプ内部の温度上昇に伴って内圧も増大し、その内圧が蓋に直接加わると共に、蓋の接合部分に大きな応力が生じる。このようなロータシャフトでは、仮に、蓋の接合部分にクラックが生じると、シール性が損なわれ、作動流体の漏出により冷却機能が低下する恐れがある。
【0006】
本発明は、上記従来の状況に鑑みて成されたもので、沸騰冷却用の作動流体の充填空間を封止部材で密閉した構造を有するロータシャフトであって、封止部材に加わる荷重を軽減して、長期にわたって封止部材の良好なシール性を維持することができるロータシャフトを提供することを目的としている。
【課題を解決するための手段】
【0007】
本発明に係わるロータシャフトは、回転電機のロータを構成するものであって、ロータコアと、ロータコアの両端に連結したロータ軸とを同軸線上に備えている。ロータコアは、その内部に、作動流体を充填した円柱状空間である沸騰部を備えると共に、片方のロータ軸が、その内部に、沸騰部の内径よりも小さい内径を有して沸騰部に連通する円柱状空間である凝縮部を備えている。そして、ロータシャフトは、凝縮部の先端部及び沸騰部の反凝縮部側の端部のいずれか一方に、ロータコアの内外に連通する貫通孔が形成してあると共に、貫通孔に挿入状態で固定した封止部材を設けたことを特徴としている。
【発明の効果】
【0008】
本発明に係わるロータシャフトは、沸騰冷却用の作動流体の充填空間を封止部材で密閉した構造を有するロータシャフトにおいて、充填空間に対する封止部材の面積を小さくして、封止部材に加わる荷重を軽減することが可能になり、これにより封止部材の接合部に生じる応力も減少するので、長期にわたって封止部材の良好なシール性を維持することができる。
【図面の簡単な説明】
【0009】
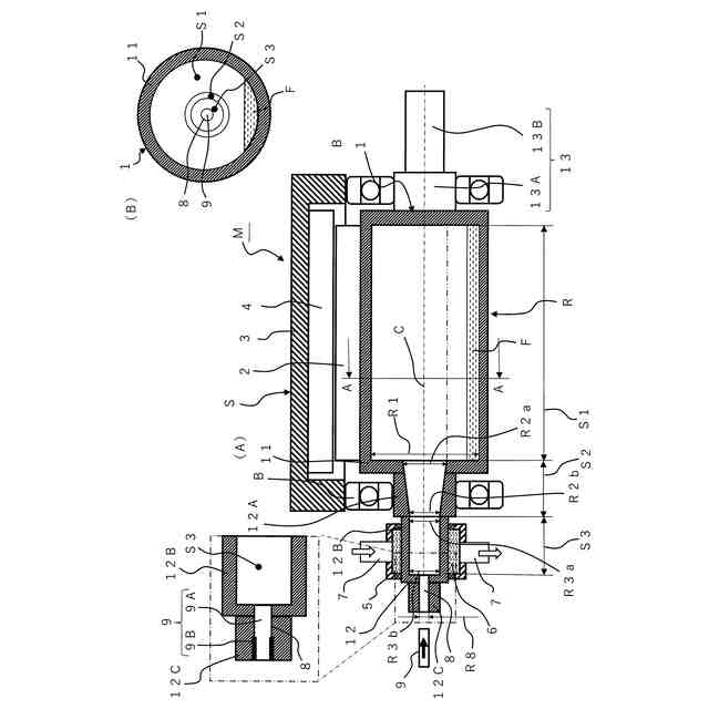
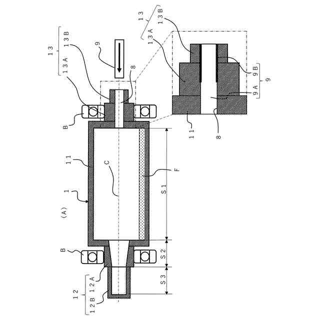
ロータシャフトの第1実施形態を示す断面説明図(A)、及び図A中のA-A線矢視に基づく断面図(B)である。
ロータシャフトの第2実施形態を示す断面図である。
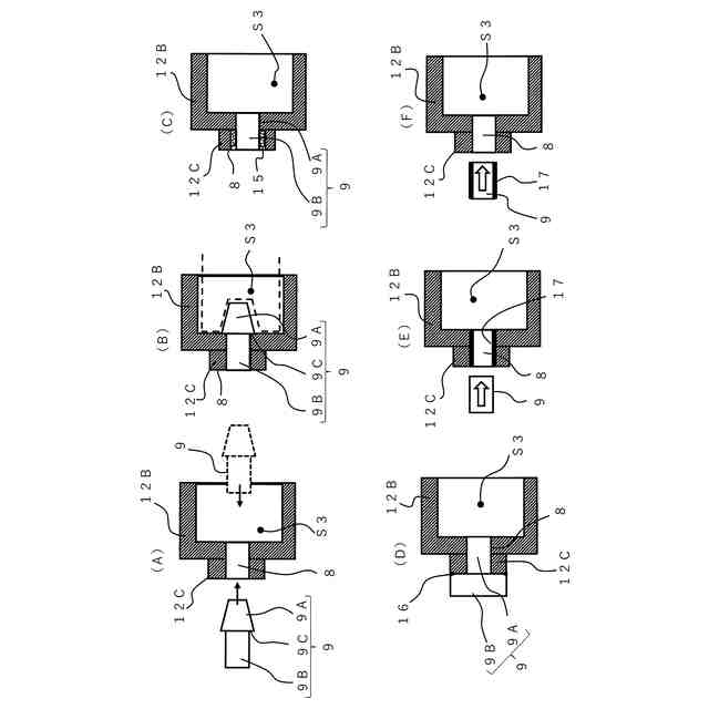
ロータシャフトの第3実施形態を示す断面図(A,B)、第4実施形態を示す断面図(C)、第5実施形態を示す断面図(D)、及び第6実施形態を示す断面図(E,F)である。
【発明を実施するための形態】
【0010】
<第1実施形態>
図1(A)に示すロータシャフト1は、回転電機であるモータMのロータRを構成している。なお、図1(A)は、ステータSの片側半分を省略したモータの断面図であり、図1(B)は、図1(A)中のA-A線矢視に基づく断面図である。
(【0011】以降は省略されています)
この特許をJ-PlatPat(特許庁公式サイト)で参照する
関連特許
日産自動車株式会社
内燃機関
25日前
日産自動車株式会社
吸気装置
6日前
日産自動車株式会社
電動車両
28日前
日産自動車株式会社
電子機器
12日前
日産自動車株式会社
ロータシャフト
20日前
日産自動車株式会社
ロータシャフト
20日前
日産自動車株式会社
電池モジュール
1か月前
日産自動車株式会社
電池モジュール
4日前
日産自動車株式会社
電池モジュール
26日前
日産自動車株式会社
車両用排気部構造
25日前
日産自動車株式会社
リチウム二次電池
25日前
日産自動車株式会社
エアレスタイヤ構造
12日前
日産自動車株式会社
塗装方法及び自動車
27日前
日産自動車株式会社
全固体電池システム
4日前
日産自動車株式会社
ピックアップトラック
6日前
日産自動車株式会社
支援方法及び支援装置
6日前
日産自動車株式会社
エンジンのアンダカバー
1か月前
日産自動車株式会社
パワー半導体モジュール
4日前
株式会社ニフコ
締結構造
1か月前
日産自動車株式会社
車両乗り合わせ方法及び装置
5日前
日産自動車株式会社
運転支援方法及び運転支援装置
1か月前
日産自動車株式会社
運転支援方法及び運転支援装置
1か月前
日産自動車株式会社
情報提供方法及び情報提供装置
12日前
日産自動車株式会社
車両制御装置及び車両制御方法
5日前
日産自動車株式会社
情報処理装置及び情報処理方法
4日前
日産自動車株式会社
車両制御装置及び車両制御方法
5日前
日産自動車株式会社
車両制御方法および車両制御装置
1か月前
日産自動車株式会社
車両制御方法および車両制御装置
1か月前
日産自動車株式会社
車両制御方法および車両制御装置
1か月前
日産自動車株式会社
物体検出方法、及び物体検出装置
25日前
日産自動車株式会社
衝突回避方法、及び衝突回避装置
25日前
日産自動車株式会社
車両制御システム及び車両制御方法
5日前
日産自動車株式会社
内燃機関の制御方法および制御装置
4日前
日産自動車株式会社
内燃機関の制御方法および制御装置
4日前
日産自動車株式会社
地図情報生成方法及び地図情報生成装置
28日前
日産自動車株式会社
楽曲情報共有方法及び楽曲情報共有装置
25日前
続きを見る
他の特許を見る