TOP
|
特許
|
意匠
|
商標
特許ウォッチ
Twitter
他の特許を見る
公開番号
2025161706
公報種別
公開特許公報(A)
公開日
2025-10-24
出願番号
2024166052
出願日
2024-09-25
発明の名称
モータ
出願人
山洋電気株式会社
代理人
弁理士法人信栄事務所
主分類
H02K
5/10 20060101AFI20251017BHJP(電力の発電,変換,配電)
要約
【課題】組立作業性を向上させることができるモータを提供する。
【解決手段】本開示に係るモータ1は、ロータ10とステータ20とを収容する収容室R1を形成するハウジング5を有するモータ1であって、ハウジング5は収容室R1とその外部とを隔てる隔壁3を有し、隔壁3には、ステータ20と電気的に接続された端子部50を露出させる孔部3aが設けられ、孔部3aは、絶縁体の封止キャップ100によって収容室R1と外部とが閉塞されており、端子部50の少なくとも一部は、封止キャップ100から露出され、封止キャップ100の外部においてステータ20に給電する動力線51が接続されている。
【選択図】図4
特許請求の範囲
【請求項1】
ロータとステータとを収容する収容室を形成するハウジングを有するモータであって、
前記ハウジングは前記収容室とその外部とを隔てる隔壁を有し、
前記隔壁には、前記ステータと電気的に接続された端子部を露出させる孔部が設けられ、
前記孔部は、絶縁体の封止キャップによって前記収容室と前記外部とが閉塞されており、
前記端子部の少なくとも一部は、前記封止キャップから露出され、前記封止キャップの外部において前記ステータに給電する動力線が接続されている、モータ。
続きを表示(約 710 文字)
【請求項2】
前記動力線と前記隔壁によって前記封止キャップが挟み込まれている、請求項1に記載のモータ。
【請求項3】
前記封止キャップは、くぼみを有し、
前記くぼみの中で前記端子部と、前記動力線との接続箇所が樹脂により封止されている、請求項1または2に記載のモータ。
【請求項4】
前記くぼみは、前記動力線の延びる方向に向かって延びている、請求項3に記載のモータ。
【請求項5】
前記隔壁は、前記収容室と、エンコーダが収容されるエンコーダ室と、を仕切っている、請求項1または2に記載のモータ。
【請求項6】
前記孔部に前記封止キャップが嵌め込まれている、請求項1に記載のモータ。
【請求項7】
前記封止キャップは、前記ステータを樹脂封止したモールド部と前記隔壁とによって挟み込まれている、請求項1に記載のモータ。
【請求項8】
前記封止キャップは、前記モータの軸方向において、前記モールド部と前記隔壁との間に位置している、請求項7に記載のモータ。
【請求項9】
前記モールド部の上面の内周部分に端子部が設けられており、
前記封止キャップは、前記モールド部の内周面と前記モールド部の前記上面の外周部分とに亘って接触している、請求項7に記載のモータ。
【請求項10】
前記モータの軸方向および径方向に延びる面の断面視において、前記封止キャップの下面は、前記モールド部の上面の凹凸形状に対応する形状となっている、請求項7に記載のモータ。
(【請求項11】以降は省略されています)
発明の詳細な説明
【技術分野】
【0001】
本開示は、モータに関する。
続きを表示(約 1,300 文字)
【背景技術】
【0002】
特許文献1には、オイルシールによって液密性を向上させた防液対策モータが開示されている。
【先行技術文献】
【特許文献】
【0003】
実開平8-727号公報
【発明の概要】
【発明が解決しようとする課題】
【0004】
従来、モータハウジングに設けられた孔を通じてモータ内部から動力線を引き出した後に、孔を封止キャップで塞ぐ構成が知られていた。しかし、封止キャップは孔から脱落しやすく、作業性に改善の余地があった。
【0005】
本開示によれば、組立作業性を向上させることができるモータを提供することを目的とする。
【課題を解決するための手段】
【0006】
本開示の一態様に係るモータは、
ロータとステータとを収容する収容室を形成するハウジングを有するモータであって、
前記ハウジングは前記収容室とその外部とを隔てる隔壁を有し、
前記隔壁には、前記ステータと電気的に接続された端子部を露出させる孔部が設けられ、
前記孔部は、絶縁体の封止キャップによって前記収容室と前記外部とが閉塞されており、
前記端子部の少なくとも一部は、前記封止キャップから露出され、前記封止キャップの外部において前記ステータに給電する動力線が接続されている。
【発明の効果】
【0007】
上記構成によれば、組立作業性を向上させることができるモータを提供することができる。
【図面の簡単な説明】
【0008】
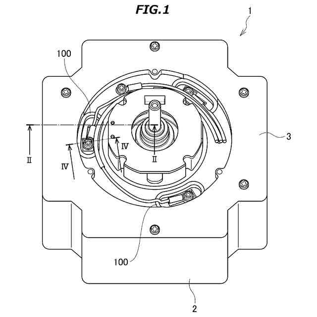
図1は、本開示の実施形態に係るモータの一例を示す斜視図である。
図2は、本実施形態に係るモータを図1に示すII-II線で切断した断面矢視図である。
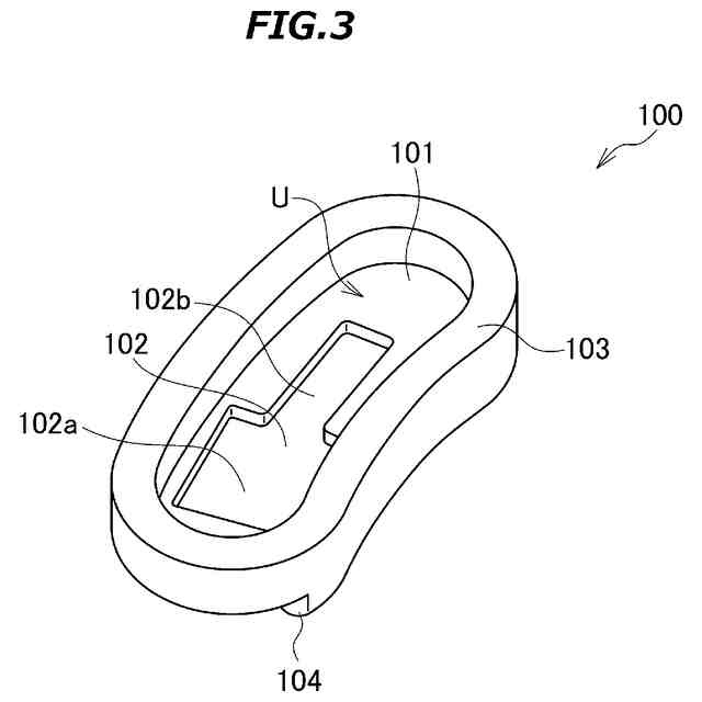
図3は、本実施形態に係るモータに用いられる封止キャップである。
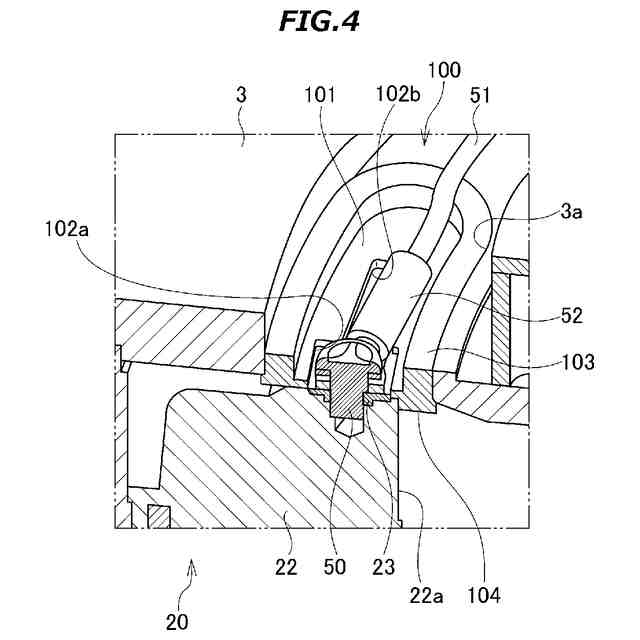
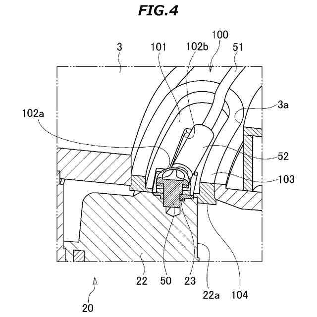
図4は、図1におけるIV-IV線断面矢視図である。
図5は、本開示の別の実施形態に係るモータの一例を示す、図2と同じ方向から見た部分断面図である。
図6は、本開示の別の実施形態に係るモータの一例を示す、斜視図である。
【発明を実施するための形態】
【0009】
[本開示の実施形態の詳細]
本開示の実施形態に係るモータの具体例を、以下に図面を参照しつつ説明する。なお、本開示はこれらの例示に限定されるものではなく、特許請求の範囲によって示され、特許請求の範囲と均等の意味および範囲内でのすべての変更が含まれることが意図される。
【0010】
図1は、本開示の実施形態に係るモータ1の一例を示す斜視図である。また、図2は、本実施形態に係るモータ1を図1に示すII-II線で切断した断面矢視図である。本実施形態においては、モータ1としてインナーロータ型のブラシレスモータを説明する。モータ1は図1及び図2に示すように、ロータ10と、ステータ20と、フレーム2と、ブラケット3と、カバー4と、エンコーダ40と、端子部50と、封止キャップ100を有している。
(【0011】以降は省略されています)
この特許をJ-PlatPat(特許庁公式サイト)で参照する
関連特許
個人
高圧電気機器の開閉器
19日前
株式会社アイドゥス企画
減反モータ
19日前
株式会社デンソー
端子台
12日前
株式会社デンソー
回転電機
3日前
株式会社ダイヘン
送配電装置
3日前
富士電機株式会社
電力変換装置
3日前
富士電機株式会社
電力変換装置
3日前
株式会社不二越
空冷式油圧装置
3日前
ローム株式会社
半導体集積回路
10日前
本田技研工業株式会社
回転電機
5日前
矢崎総業株式会社
給電装置
11日前
矢崎総業株式会社
電源回路
18日前
株式会社TMEIC
制御装置
11日前
株式会社日立製作所
回転電機
10日前
個人
非対称鏡像力を有する4層PWB電荷搬送体
26日前
日産自動車株式会社
ロータシャフト
26日前
株式会社イノコンバンク
無線給電システム
3日前
ローム株式会社
モータドライバ回路
26日前
大和ハウス工業株式会社
敷設用機器
11日前
日産自動車株式会社
ロータシャフト
26日前
京商株式会社
模型用非接触電力供給システム
19日前
サンデン株式会社
モータ
4日前
サンデン株式会社
モータ
4日前
株式会社土井製作所
ケーブル保護管路
10日前
株式会社TMEIC
電力変換装置
11日前
ローム株式会社
半導体装置
10日前
矢崎総業株式会社
電気接続箱
5日前
トヨタ自動車株式会社
熱利用回路
12日前
株式会社日立産機システム
回転電機
10日前
Astemo株式会社
充電制御装置
10日前
本田技研工業株式会社
回転電機用ロータ
19日前
ジヤトコ株式会社
治具
3日前
ローム株式会社
半導体装置
10日前
多摩川精機株式会社
モータ
3日前
豊田合成株式会社
車両用非接触充電装置
1か月前
株式会社京三製作所
パルス電源装置
18日前
続きを見る
他の特許を見る