TOP
|
特許
|
意匠
|
商標
特許ウォッチ
Twitter
他の特許を見る
公開番号
2025173228
公報種別
公開特許公報(A)
公開日
2025-11-27
出願番号
2024078713
出願日
2024-05-14
発明の名称
電力変換装置
出願人
株式会社TMEIC
代理人
弁理士法人iX
主分類
H02M
7/49 20070101AFI20251119BHJP(電力の発電,変換,配電)
要約
【課題】運転を安定して継続できるMMC方式の電力変換装置を提供する。
【解決手段】実施形態は、複数の単位変換器を有するアームと、前記複数の単位変換器を制御する複数のゲート信号を生成する制御部と、を備える。前記複数の単位変換器のそれぞれは、2つのスイッチング素子の直列回路と、前記2つのスイッチング素子に並列に接続されたコンデンサと、を含む。前記制御部は、位相シフトPWM制御回路と、直流電圧上昇防止制御回路と、ゲート信号入替回路と、を有する。前記位相シフトPWM制御回路は、位相シフトされた複数のゲート信号を生成する。前記直流電圧上昇防止制御回路は、複数のコンデンサの両端の電圧が所定の上限値を超えないように監視する。前記信号ゲート入替回路は、コンデンサの電圧が前記上限値を超えると推定されると前記複数のゲート信号の出力順序を入れ替える。
【選択図】図3
特許請求の範囲
【請求項1】
直列に接続された複数の単位変換器を有するアームと、
前記複数の単位変換器をそれぞれ制御する複数のゲート信号を生成する制御部と、
を備え、
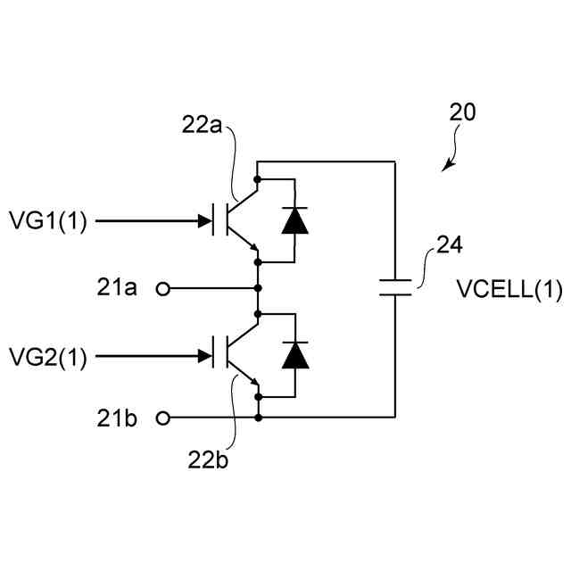
前記複数の単位変換器のそれぞれは、
コンデンサと、
直列に接続され、前記コンデンサを充電し放電するように相補的に動作する2つのスイッチング素子と、
を含み、
前記制御部は、
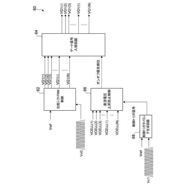
前記複数の単位変換器の数に応じて位相をシフトして設定された複数のキャリア信号のそれぞれと電圧基準信号とにもとづいて、前記複数のゲート信号を生成する位相シフトPWM制御回路と、
前記複数の単位変換器のそれぞれのコンデンサの両端の電圧の値を入力し、前記コンデンサの両端の電圧の値が低い単位変換器を優先してゲート信号をアクティブとするオンオフ優先順位指令を生成する直流電圧上昇防止制御回路と、
前記オンオフ優先順位指令にもとづいて、前記複数のゲート信号がアクティブになる順序を入れ替えて設定するゲート信号入替回路と、
を有し、
前記直流電圧上昇防止制御回路は、前記複数の単位変換器にそれぞれ対応する前記複数のキャリア信号のそれぞれの周期において、前記複数の単位変換器のうちの1つの単位変換器のコンデンサの両端の第1電圧があらかじめ設定された上限値に達すると推定した場合に、前記周期の次の周期において、前記複数の単位変換器のうち、前記第1電圧よりも低い電圧値にコンデンサを有する単位変換器を優先してONするように前記オンオフ優先順位指令を変更する電力変換装置。
続きを表示(約 360 文字)
【請求項2】
前記制御部は、前記複数のキャリア信号と同一の周期および位相差をそれぞれ有する複数の推定用キャリア信号を入力し、前記推定用キャリア信号と前記電圧基準信号とにもとづいて、制御トリガ信号を生成して前記直流電圧上昇防止制御回路に出力する制御トリガタイミング生成回路をさらに有し、
前記直流電圧上昇防止制御回路は、前記制御トリガ信号を入力した時に前記第1電圧が前記上限値に達すると推定した場合に、前記オンオフ優先順位指令を変更する請求項1記載の電力変換装置。
【請求項3】
前記直流電圧防止制御回路は、前記上限電圧よりも低い電圧値のしきい値を有し、前記制御トリガ信号を入力した時に、前記第1電圧が前記しきい値に達したときに、前記オンオフ優先順位指令を変更する請求項2記載の電力変換装置。
発明の詳細な説明
【技術分野】
【0001】
本発明の実施形態は、モジュラー・マルチレベル・コンバータ方式の電力変換装置に関する。
続きを表示(約 1,700 文字)
【背景技術】
【0002】
モジュラー・マルチレベル・コンバータ(MMC)方式を採用した電力変換装置の市場への導入が進んでいる。
【0003】
MMC方式の電力変換装置は、大電力化が容易なため、電力系統等のインフラ関連の電力設備へ適用されている。このような電力設備への適用等では、運転を安定して継続することが望まれる。
【先行技術文献】
【特許文献】
【0004】
特許第7387062号公報
【発明の概要】
【発明が解決しようとする課題】
【0005】
本発明の実施形態は、運転を安定して継続できるMMC方式の電力変換装置を提供することを目的とする。
【課題を解決するための手段】
【0006】
本発明の実施形態に係る電力変換装置は、直列に接続された複数の単位変換器を有するアームと、前記複数の単位変換器をそれぞれ制御する複数のゲート信号を生成する制御部と、を備える。前記複数の単位変換器のそれぞれは、コンデンサと、直列に接続され、前記コンデンサを充電し放電するように相補的に動作する2つのスイッチング素子と、を含む。前記制御部は、前記複数の単位変換器の数に応じて位相をシフトして設定された複数のキャリア信号のそれぞれと電圧基準信号とにもとづいて、前記複数のゲート信号を生成する位相シフトPWM制御回路と、前記複数の単位変換器のそれぞれのコンデンサの両端の電圧の値を入力し、前記コンデンサの両端の電圧の値が低い単位変換器を優先してゲート信号をアクティブとするオンオフ優先順位指令を生成する直流電圧上昇防止制御回路と、
前記オンオフ優先順位指令にもとづいて、前記複数のゲート信号がアクティブになる順序を入れ替えて設定するゲート信号入替回路と、を有する。前記直流電圧上昇防止制御回路は、前記複数の単位変換器にそれぞれ対応する前記複数のキャリア信号のそれぞれの周期において、前記複数の単位変換器のうちの1つの単位変換器のコンデンサの両端の第1電圧があらかじめ設定された上限値に達すると推定した場合に、前記周期の次の周期において、前記複数の単位変換器のうち、前記第1電圧よりも低い電圧値にコンデンサを有する単位変換器を優先してONするように前記オンオフ優先順位指令を変更する。
【発明の効果】
【0007】
本発明の実施形態によれば、運転を安定して継続できるMMC方式の電力変換装置を提供することができる。
【図面の簡単な説明】
【0008】
実施形態に係る電力変換装置を例示する模式的なブロック図である。
実施形態に係る電力変換装置の一部である単位変換器を例示する模式的な等価回路図である。
実施形態に係る電力変換装置の一部である制御部を例示する模式的なブロック図である。
実施形態に係る電力変換装置の動作を示す模式的な動作波形図である。
比較例の電力変換装置の一部である制御部を例示する模式的なブロック図である。
比較例の電力変換装置の動作を示す模式的な動作波形図である。
【発明を実施するための形態】
【0009】
以下、実施の形態について図面を参照しつつ説明する。
なお、図面は模式的または概念的なものであり、各部分の厚みと幅との関係、部分間の大きさの比率などは、必ずしも現実のものと同一とは限らない。また、同じ部分を表す場合であっても、図面により互いの寸法や比率が異なって表される場合もある。
なお、本願明細書と各図において、既出の図に関して前述したものと同様の要素には同一の符号を付して詳細な説明は適宜省略する。
【0010】
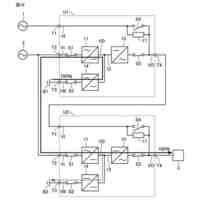
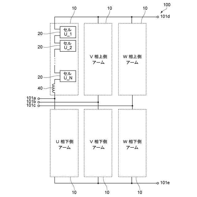
図1は、実施形態に係る電力変換装置を例示する模式的なブロック図である。
図1に示すように、電力変換装置100は、複数のアーム10を備える。電力変換装置100は、交流端子101a~101cと直流端子101d、101eとを有する。
(【0011】以降は省略されています)
この特許をJ-PlatPat(特許庁公式サイト)で参照する
関連特許
株式会社TMEIC
制御装置
今日
株式会社TMEIC
電力変換装置
今日
株式会社TMEIC
フリッカ補償装置
1か月前
株式会社TMEIC
無停電電源システム
1日前
株式会社TMEIC
電気機器の冷却構造
20日前
株式会社TMEIC
回転機の据え付け補助装置及び回転機の据え付け方法
1日前
株式会社TMEIC
位相推定器、電力制御装置、電力変換装置、及び位相推定方法
13日前
個人
電気を重力で発電装置
21日前
個人
高圧電気機器の開閉器
8日前
キヤノン電子株式会社
モータ
20日前
キヤノン電子株式会社
モータ
28日前
日星電気株式会社
ケーブル組立体
1か月前
コーセル株式会社
電源装置
29日前
株式会社アイドゥス企画
減反モータ
8日前
トヨタ自動車株式会社
モータ
20日前
株式会社デンソー
端子台
1日前
個人
二次電池繰返パルス放電器用印刷基板
1か月前
株式会社デンソー
電力変換装置
1か月前
矢崎総業株式会社
電源回路
7日前
トヨタ自動車株式会社
固定子の加熱装置
1か月前
株式会社デンソー
非接触受電装置
1か月前
矢崎総業株式会社
給電装置
今日
株式会社TMEIC
制御装置
今日
日産自動車株式会社
ロータシャフト
15日前
ローム株式会社
モータドライバ回路
15日前
大和ハウス工業株式会社
敷設用機器
今日
山洋電気株式会社
モータ
1か月前
個人
非対称鏡像力を有する4層PWB電荷搬送体
15日前
日産自動車株式会社
ロータシャフト
15日前
トヨタ自動車株式会社
ステータの製造装置
21日前
株式会社マキタ
電動作業機
28日前
個人
電線盗難防止方法及び電線盗難防止装置
28日前
トヨタ自動車株式会社
可変界磁ロータ
23日前
トヨタ紡織株式会社
ロータの製造装置
29日前
京商株式会社
模型用非接触電力供給システム
8日前
株式会社明治ゴム化成
ワイヤレス給電用部品
1か月前
続きを見る
他の特許を見る