TOP
|
特許
|
意匠
|
商標
特許ウォッチ
Twitter
他の特許を見る
10個以上の画像は省略されています。
公開番号
2025172310
公報種別
公開特許公報(A)
公開日
2025-11-26
出願番号
2024077729
出願日
2024-05-13
発明の名称
無停電電源システム
出願人
株式会社TMEIC
代理人
弁理士法人深見特許事務所
主分類
H02J
9/06 20060101AFI20251118BHJP(電力の発電,変換,配電)
要約
【課題】交流電源から受ける交流電力の低減化の要請に応えることが可能な無停電電源システムを提供する。
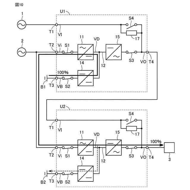
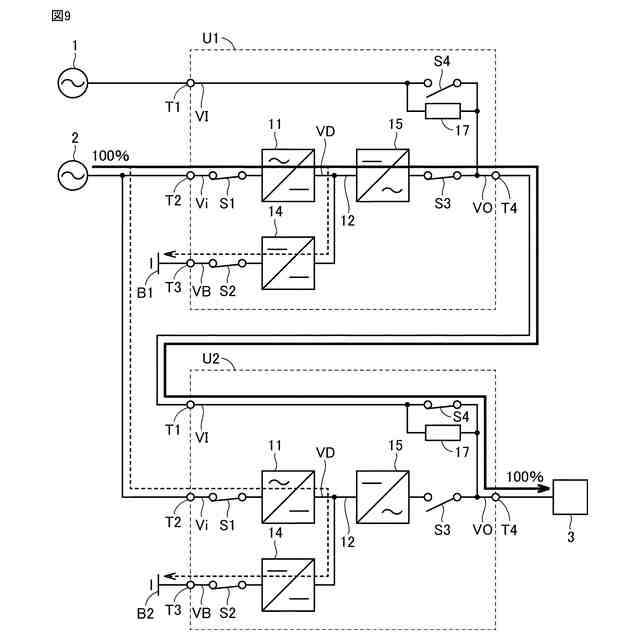
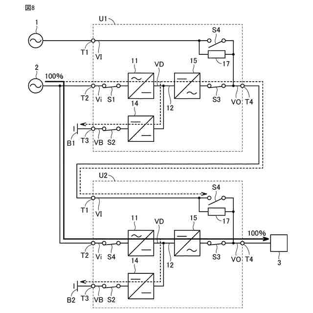
【解決手段】この無停電電源システムでは、無停電電源装置U1は、通常動作モード時には、交流電源2からの交流電力を直流電力に変換してバッテリB1に蓄え、回生動作モード時には、バッテリB1の直流電力を交流電力に変換して無停電電源装置U2に供給する。無停電電源装置U2は、交流電源2および無停電電源装置U1から供給される交流電力を用いて負荷3を駆動させる。したがって、無停電電源装置U1に回生動作モードを実行させることにより、交流電源2から受ける交流電力の低減化の要請に応えることができる。
【選択図】図10
特許請求の範囲
【請求項1】
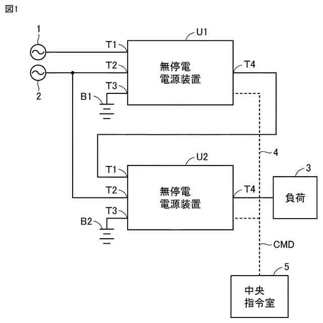
第1の入力端子および第1の出力端子を含む第1の無停電電源装置と、
第2の入力端子および第2の出力端子を含む第2の無停電電源装置とを備え、
前記第1および第2の入力端子は、互いに接続されて交流電源から交流電力を受け、
前記第2の出力端子は負荷に接続され、
前記第1の無停電電源装置は、
前記交流電源の健全時には、前記第1の入力端子が受ける交流電力を直流電力に変換し、その直流電力を用いて第1の電力貯蔵装置を充電するとともに交流電力を生成して前記第1の出力端子に出力する通常動作モードと、前記第1の電力貯蔵装置の直流電力を交流電力に変換して前記第1の入力端子に出力する回生動作モードとのうちの選択された動作モードを実行し、
前記交流電源の停電時には、前記第1の電力貯蔵装置の直流電力を交流電力に変換して前記第1の出力端子に出力し、
前記第2の無停電電源装置は、
前記交流電源の健全時には、前記交流電源および前記第1の無停電電源装置から前記第2の入力端子が受ける交流電力を直流電力に変換し、その直流電力を用いて第2の電力貯蔵装置を充電するとともに交流電力を生成して前記第2の出力端子に出力し、
前記交流電源の停電時には、前記第2の電力貯蔵装置の直流電力を交流電力に変換して前記第2の出力端子に出力する、無停電電源システム。
続きを表示(約 1,500 文字)
【請求項2】
前記第1の無停電電源装置は、前記回生動作モード時に、前記負荷の消費電力に応じた値の交流電力を前記第1の入力端子に出力する、請求項1に記載の無停電電源システム。
【請求項3】
前記交流電源の健全時において前記第1の無停電電源装置は、
前記通常動作モードを実行し、
回生指令信号に応答して前記回生動作モードを実行し、
前記回生動作モードの終了後に、前記第1の入力端子が受ける交流電力を直流電力に変換し、その直流電力を交流電力に変換して前記第1の出力端子に出力し、前記第1の電力貯蔵装置を充電しない充電停止モードを実行し、
前記充電停止モードの終了後に前記通常動作モードを再開する、請求項1に記載の無停電電源システム。
【請求項4】
前記第2の無停電電源装置は、
前記第1の出力端子に接続されるバイパス端子と、
直流電力を交流電力に変換するインバータと、
前記インバータが正常である場合には前記インバータによって生成される交流電力を前記第2の出力端子に与え、前記インバータが故障した場合には前記バイパス端子を前記第2の出力端子に接続する切換回路とを含む、請求項1に記載の無停電電源システム。
【請求項5】
前記第1の出力端子は、前記第2の出力端子とともに前記負荷に接続される、請求項1に記載の無停電電源システム。
【請求項6】
前記通常動作モード時において前記第1および第2の無停電電源装置は、互いに同じ値の交流電力を前記負荷に供給する、請求項5に記載の無停電電源システム。
【請求項7】
前記第1の無停電電源装置は、第1のコンバータ、第1の直流ライン、第1の双方向チョッパ、および第1のインバータを含み、
前記第1のコンバータは、前記通常動作モード時には、前記第1の入力端子が受ける交流電力を直流電力に変換して前記第1の直流ラインに出力し、前記回生動作モード時には、前記第1の直流ラインから受ける直流電力を交流電力に変換して前記第1の入力端子に出力し、前記交流電源の停電時には、その運転が停止され、
前記第1の双方向チョッパは、前記通常動作モード時には、前記第1の直流ラインが受ける直流電力を前記第1の電力貯蔵装置に供給し、前記回生動作モード時および前記交流電源の停電時には、前記第1の電力貯蔵装置の直流電力を前記第1の直流ラインに出力し、
前記第1のインバータは、前記通常動作モード時および前記交流電源の停電時には、前記直流ラインから受ける直流電力を交流電力に変換して前記第1の出力端子に出力し、前記回生動作モード時には、その運転が停止され、
前記第2の無停電電源装置は、第2のコンバータ、第2の直流ライン、第2の双方向チョッパ、および第2のインバータを含み、
前記第2のコンバータは、前記交流電源の健全時には、前記第2の入力端子が受ける交流電力を直流電力に変換して前記第2の直流ラインに出力し、前記交流電源の停電時には、その運転が停止され、
前記第2の双方向チョッパは、前記交流電源の健全時には、前記第2の直流ラインが受ける直流電力を前記第2の電力貯蔵装置に供給し、前記交流電源の停電時には、前記第2の電力貯蔵装置の直流電力を前記第2の直流ラインに出力し、
前記第2のインバータは、前記第2の直流ラインから受ける直流電力を交流電力に変換して前記第2の出力端子に出力する、請求項1に記載の無停電電源システム。
発明の詳細な説明
【技術分野】
【0001】
本開示は、無停電電源システムに関し、特に、複数の無停電電源装置を備える無停電電源システムに関する。
続きを表示(約 2,200 文字)
【背景技術】
【0002】
たとえば特開2020-5410号公報(特許文献1)には、複数の無停電電源装置を備える無停電電源システムが開示されている。複数の無停電電源装置は、交流電源と負荷との間に並列接続される。負荷電流を供給するために必要な適正運転台数が求められ、複数の無停電電源装置のうちの適正運転台数の無停電電源装置が運転状態にされて負荷電流を供給し、残りの無停電電源装置は待機状態にされる。
【先行技術文献】
【特許文献】
【0003】
特開2020-5410号公報
【発明の概要】
【発明が解決しようとする課題】
【0004】
しかし、従来の無停電電源システムでは、負荷の消費電力に相当する交流電力を交流電源から常時受ける必要があり、交流電源から受ける交流電力の低減化(たとえば、ピークカット)の要請があった場合でも、その要請に応えることができないという問題があった。
【0005】
それゆえに、本開示の主たる目的は、交流電源から受ける交流電力の低減化の要請に応えることが可能な無停電電源システムを提供することである。
【課題を解決するための手段】
【0006】
本開示に係る無停電電源システムは、第1の入力端子および第1の出力端子を含む第1の無停電電源装置と、第2の入力端子および第2の出力端子を含む第2の無停電電源装置とを備えたものである。第1および第2の入力端子は、互いに接続されて交流電源から交流電力を受け、第2の出力端子は負荷に接続される。
【0007】
第1の無停電電源装置は、交流電源の健全時には、第1の入力端子が受ける交流電力を直流電力に変換し、その直流電力を用いて第1の電力貯蔵装置を充電するとともに交流電力を生成して第1の出力端子に出力する通常動作モードと、第1の電力貯蔵装置の直流電力を交流電力に変換して第1の入力端子に出力する回生動作モードとのうちの選択された動作モードを実行する。また、第1の無停電電源装置は、交流電源の停電時には、第1の電力貯蔵装置の直流電力を交流電力に変換して第1の出力端子に出力する。
【0008】
第2の無停電電源装置は、交流電源の健全時には、交流電源および第1の無停電電源装置から第2の入力端子が受ける交流電力を直流電力に変換し、その直流電力を用いて第2の電力貯蔵装置を充電するとともに交流電力を生成して第2の出力端子に出力する。また、第2の無停電電源装置は、交流電源の停電時には、第2の電力貯蔵装置の直流電力を交流電力に変換して第2の出力端子に出力する。
【発明の効果】
【0009】
本開示に係る無停電電源システムでは、第1の無停電電源装置は、通常動作モード時には、交流電源からの交流電力を直流電力に変換して第1の電力貯蔵装置に蓄え、回生動作モード時には、第1の電力貯蔵装置の直流電力を交流電力に変換して第2の無停電電源装置に供給する。第2の無停電電源装置は、交流電源および第1の無停電電源装置から供給される交流電力を用いて負荷を駆動させる。したがって、第1の無停電電源装置に回生動作モードを行なわせることにより、交流電源から受ける交流電力の低減化の要請に応えることができる。
【図面の簡単な説明】
【0010】
本開示の実施の形態1に従う無停電電源システムの全体構成を示す回路ブロック図である。
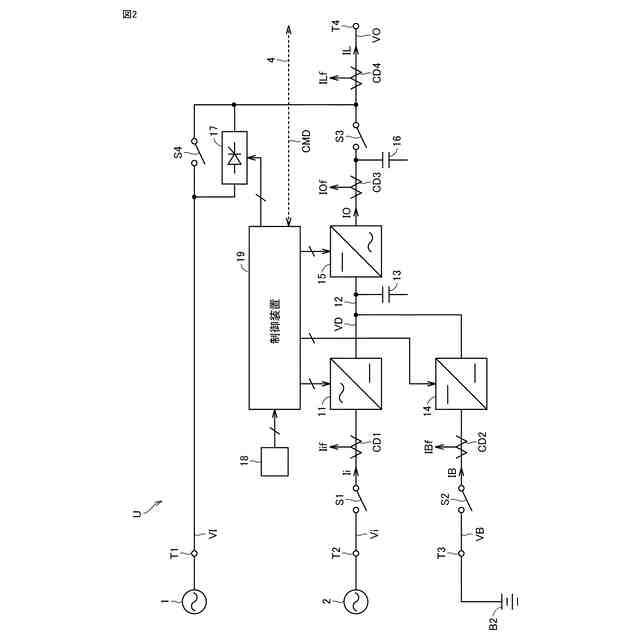
図1に示す無停電電源装置の構成を示す回路ブロック図である。
図2に示す制御装置の構成を示すブロック図である。
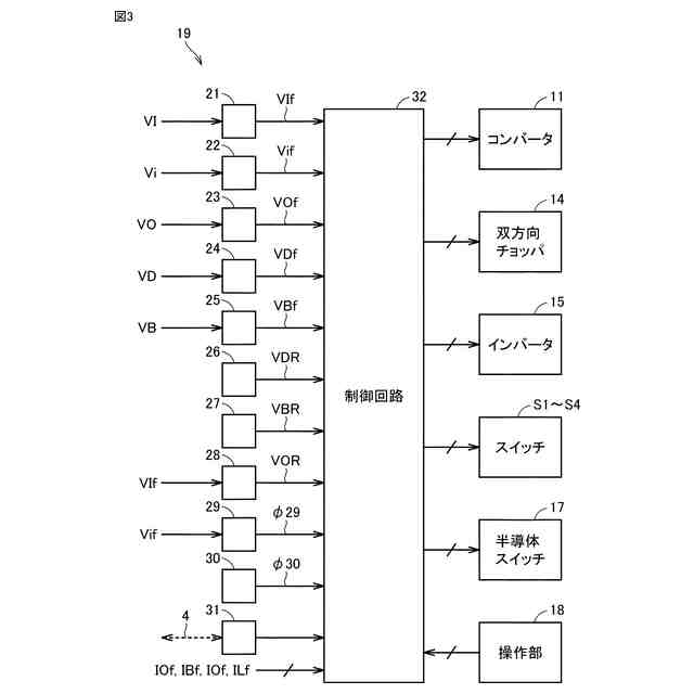
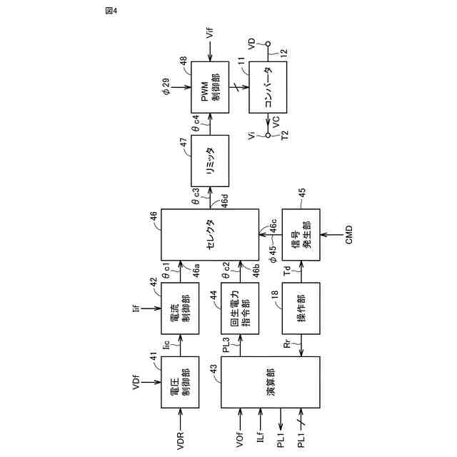
図3に示す制御回路のうちのコンバータの制御に関連する部分の構成を示すブロック図である。
図3に示す制御回路のうちの双方向チョッパの制御に関連する部分の構成を示すブロック図である。
図3に示す制御回路のうちのインバータの制御に関連する部分の構成を示すブロック図である。
図3に示す制御回路のうちのスイッチの制御に関連する部分の構成を示すブロック図である。
図1~図7に示す無停電電源システムの動作を示す回路ブロック図である。
図1~図7に示す無停電電源システムの他の動作を示す回路ブロック図である。
図1~図7に示す無停電電源システムのさらに他の動作を示す回路ブロック図である。
図1~図7に示す無停電電源システムのさらに他の動作を示す回路ブロック図である。
図2に示す無停電電源装置Uの動作を示す波形図である。
図1~図12で示す無停電電源システムの効果を説明するためのタイムチャートである。
本開示の実施の形態2に従う無停電電源システムの要部を示す回路ブロック図である。
本開示の実施の形態3に従う無停電電源システムの全体構成を示す回路ブロック図である。
図15に示す無停電電源装置の要部を示すブロック図である。
図15および図16に示す無停電電源システムの動作を示す回路ブロック図である。
図15および図16に示す無停電電源システムの他の動作を示す回路ブロック図である。
図15および図16に示す無停電電源システムのさらに他の動作を示す回路ブロック図である。
【発明を実施するための形態】
(【0011】以降は省略されています)
この特許をJ-PlatPat(特許庁公式サイト)で参照する
関連特許
株式会社TMEIC
制御装置
今日
株式会社TMEIC
電力変換装置
今日
株式会社TMEIC
フリッカ補償装置
1か月前
株式会社TMEIC
無停電電源システム
1日前
株式会社TMEIC
電気機器の冷却構造
20日前
株式会社TMEIC
回転機の据え付け補助装置及び回転機の据え付け方法
1日前
株式会社TMEIC
位相推定器、電力制御装置、電力変換装置、及び位相推定方法
13日前
個人
単極モータ
1か月前
個人
高圧電気機器の開閉器
8日前
個人
電気を重力で発電装置
21日前
キヤノン電子株式会社
モータ
28日前
キヤノン電子株式会社
モータ
20日前
株式会社アイシン
ロータ
1か月前
株式会社アイシン
ロータ
1か月前
コーセル株式会社
電源装置
29日前
日星電気株式会社
ケーブル組立体
1か月前
トヨタ自動車株式会社
モータ
20日前
株式会社アイドゥス企画
減反モータ
8日前
株式会社デンソー
回転機
1か月前
株式会社デンソー
端子台
1日前
個人
二次電池繰返パルス放電器用印刷基板
1か月前
株式会社kaisei
発電システム
1か月前
株式会社デンソー
電力変換装置
1か月前
株式会社デンソー
電力変換装置
1か月前
株式会社ミツバ
回転電機
1か月前
トヨタ自動車株式会社
固定子の加熱装置
1か月前
矢崎総業株式会社
給電装置
今日
株式会社デンソー
非接触受電装置
1か月前
矢崎総業株式会社
電源回路
7日前
株式会社ダイヘン
インバータ装置
1か月前
株式会社TMEIC
制御装置
今日
トヨタ自動車株式会社
ステータの製造装置
21日前
山洋電気株式会社
モータ
1か月前
大和ハウス工業株式会社
敷設用機器
今日
個人
非対称鏡像力を有する4層PWB電荷搬送体
15日前
ローム株式会社
モータドライバ回路
15日前
続きを見る
他の特許を見る