TOP
|
特許
|
意匠
|
商標
特許ウォッチ
Twitter
他の特許を見る
10個以上の画像は省略されています。
公開番号
2025154967
公報種別
公開特許公報(A)
公開日
2025-10-10
出願番号
2024058287
出願日
2024-03-29
発明の名称
ロータ
出願人
株式会社アイシン
代理人
個人
主分類
H02K
1/276 20220101AFI20251002BHJP(電力の発電,変換,配電)
要約
【課題】複数のロータコアブロック部が軸方向に積層された状態で、樹脂が到達しにくい部分が生じるのを抑制しながら、複数のロータコアブロック部の全ての、複数の磁石収容孔の各々の内部の永久磁石が配置されていない隙間の全体に渡って一括で樹脂を充填することが可能なロータを提供する。
【解決手段】このロータ100では、第1ロータコアブロック部11および第2ロータコアブロック部12の、互いにC方向に所定の角度だけずれた永久磁石20同士は、Z方向において互いに離間するように配置されている。そして、ロータ100は、Z方向において互いに離間するように配置された永久磁石20同士の間に充填された樹脂である磁石間樹脂充填部33を備える。
【選択図】図4
特許請求の範囲
【請求項1】
複数の磁石収容孔を有する複数のロータコアブロック部が軸方向に積層されたロータコアと、
前記複数の磁石収容孔の各々の内部に配置され、磁極を形成する複数の永久磁石と、
前記複数のロータコアブロック部の各々の前記複数の磁石収容孔の各々の内部において、前記永久磁石に対して前記永久磁石の長手方向の一方側および他方側にそれぞれ充填された樹脂である一方側方充填樹脂部および他方側方充填樹脂部と、を備え、
前記複数のロータコアブロック部は、周方向において所定の角度だけ互いに前記ロータコアブロック部の前記磁極の位置がずれているとともに、前記軸方向において互いに隣り合うように配置された第1ロータコアブロック部および第2ロータコアブロック部を含み、
前記第1ロータコアブロック部および前記第2ロータコアブロック部の、互いに前記周方向に前記所定の角度だけずれた前記永久磁石同士は、前記軸方向から見て少なくとも一部がオーバラップするように配置されているとともに、前記軸方向において互いに離間するように配置されており、
前記軸方向において互いに離間するように配置された前記永久磁石同士の間に充填された前記樹脂である磁石間樹脂充填部をさらに備える、ロータ。
続きを表示(約 660 文字)
【請求項2】
前記軸方向において前記第1ロータコアブロック部と前記第2ロータコアブロック部との間に配置され、前記第1ロータコアブロック部および前記第2ロータコアブロック部の互いに前記周方向に前記所定の角度だけずれた前記一方側方充填樹脂部同士および前記他方側方充填樹脂部同士を接続するように前記樹脂が充填された接続樹脂流路を含む、流路プレートをさらに備える、請求項1に記載のロータ。
【請求項3】
前記永久磁石の前記軸方向における大きさは、前記ロータコアブロック部の前記軸方向における大きさと等しく、
前記軸方向において前記第1ロータコアブロック部と前記第2ロータコアブロック部との間に配置され、前記第1ロータコアブロック部および前記第2ロータコアブロック部の互いに前記周方向に前記所定の角度だけずれた前記一方側方充填樹脂部同士、および、前記第1ロータコアブロック部および前記第2ロータコアブロック部の互いに前記周方向に前記所定の角度だけずれた前記他方側方充填樹脂部同士を接続するとともに、前記一方側方充填樹脂部同士が接続された部分と、互いに前記周方向に前記所定の角度だけずれた前記他方側方充填樹脂部同士が接続された部分とを接続して前記磁石間樹脂充填部を形成するように、前記樹脂が充填された接続樹脂流路を含む、流路プレートをさらに備える、請求項1に記載のロータ。
【請求項4】
前記接続樹脂流路は、前記磁極毎に、互いに連通しないように複数形成されている、請求項2に記載のロータ。
発明の詳細な説明
【技術分野】
【0001】
本発明は、ロータに関する。
続きを表示(約 3,200 文字)
【背景技術】
【0002】
従来、複数のロータコアブロック部が軸方向に積層されたロータコアを備えるロータが知られている(たとえば、特許文献1参照)。
【0003】
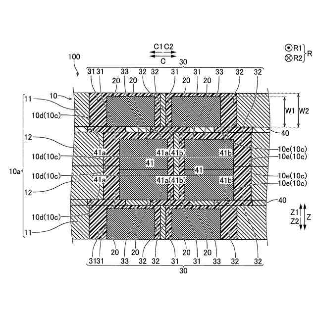
上記特許文献1には、複数の磁石収容孔を有する複数のロータコアブロック部が軸方向に積層されたロータコアと、複数の磁石収容孔の各々の内部に配置され、磁極を形成する複数の永久磁石と、複数のロータコアブロック部の各々の複数の磁石収容孔の各々の内部において、永久磁石に対して永久磁石の長手方向の一方側および他方側にそれぞれ充填された樹脂である一方側方充填樹脂部および他方側方充填樹脂部と、を備えるロータが開示されている。上記特許文献1に記載されているロータでは、複数のロータコアブロック部は、周方向において所定の角度だけ互いにロータコアブロック部の磁極の位置がずれているとともに、軸方向において互いに隣り合うように配置された第1ロータコアブロック部および第2ロータコアブロック部を含む。上記特許文献1に記載されているロータでは、第1ロータコアブロック部および第2ロータコアブロック部の、互いに周方向に所定の角度だけずれた永久磁石同士は、軸方向から見て少なくとも一部がオーバラップするように配置されているとともに、軸方向において互いに接触するように配置されている。
【先行技術文献】
【特許文献】
【0004】
特開2017-163761号公報
【発明の概要】
【発明が解決しようとする課題】
【0005】
しかしながら、上記特許文献1に記載されている従来のロータでは、第1ロータコアブロック部および第2ロータコアブロック部の、互いに周方向に所定の角度だけずれた永久磁石同士は、軸方向から見て少なくとも一部がオーバラップするように配置されているとともに、軸方向において互いに接触するように配置されている。したがって、第1ロータコアブロック部および第2ロータコアブロック部の互いに周方向に所定の角度だけずれた一方側方充填樹脂部同士、および、第1ロータコアブロック部および第2ロータコアブロック部の互いに周方向に所定の角度だけずれた他方側方充填樹脂部同士の少なくとも一方が接続されていない場合がある。この場合、複数のロータコアブロック部が軸方向に積層された状態で、第1ロータコアブロック部および第2ロータコアブロック部を含む複数のロータコアブロック部の全ての、複数の磁石収容孔の各々の内部の永久磁石が配置されていない隙間の全体に渡って一括で樹脂を充填する際に、樹脂が到達しにくい部分が生じやすい。このため、複数のロータコアブロック部が軸方向に積層された状態で、樹脂が到達しにくい部分が生じるのを抑制しながら、複数のロータコアブロック部の全ての、複数の磁石収容孔の各々の内部の永久磁石が配置されていない隙間の全体に渡って一括で樹脂を充填することが可能なロータが望まれている。
【0006】
この発明は、上記のような課題を解決するためになされたものであり、この発明の1つの目的は、複数のロータコアブロック部が軸方向に積層された状態で、樹脂が到達しにくい部分が生じるのを抑制しながら、複数のロータコアブロック部の全ての、複数の磁石収容孔の各々の内部の永久磁石が配置されていない隙間の全体に渡って一括で樹脂を充填することが可能なロータを提供することである。
【課題を解決するための手段】
【0007】
上記目的を達成するために、この発明の一の局面におけるロータは、複数の磁石収容孔を有する複数のロータコアブロック部が軸方向に積層されたロータコアと、複数の磁石収容孔の各々の内部に配置され、磁極を形成する複数の永久磁石と、複数のロータコアブロック部の各々の複数の磁石収容孔の各々の内部において、永久磁石に対して永久磁石の長手方向の一方側および他方側にそれぞれ充填された樹脂である一方側方充填樹脂部および他方側方充填樹脂部と、を備え、複数のロータコアブロック部は、周方向において所定の角度だけ互いにロータコアブロック部の磁極の位置がずれているとともに、軸方向において互いに隣り合うように配置された第1ロータコアブロック部および第2ロータコアブロック部を含み、第1ロータコアブロック部および第2ロータコアブロック部の、互いに周方向に所定の角度だけずれた永久磁石同士は、軸方向から見て少なくとも一部がオーバラップするように配置されているとともに、軸方向において互いに離間するように配置されており、軸方向において互いに離間するように配置された永久磁石同士の間に充填された樹脂である磁石間樹脂充填部をさらに備える。
【0008】
この発明の一の局面におけるロータは、上記のように、第1ロータコアブロック部および第2ロータコアブロック部の、互いに周方向に所定の角度だけずれた永久磁石同士は、軸方向において互いに離間するように配置されており、軸方向において互いに離間するように配置された永久磁石同士の間に充填された樹脂である磁石間樹脂充填部をさらに備える。これにより、磁石間樹脂充填部を介して、第1ロータコアブロック部および第2ロータコアブロック部の互いに周方向に所定の角度だけずれた一方側方充填樹脂部同士、および、第1ロータコアブロック部および第2ロータコアブロック部の互いに周方向に所定の角度だけずれた他方側方充填樹脂部同士の少なくとも一方が接続されやすい。また、磁石間樹脂充填部を介して、第1ロータコアブロック部および第2ロータコアブロック部の互いに周方向に所定の角度だけずれた一方側方充填樹脂部同士、および、第1ロータコアブロック部および第2ロータコアブロック部の互いに周方向に所定の角度だけずれた他方側方充填樹脂部同士の少なくとも一方が接続されない場合でも、磁石間樹脂充填部を介して、互いに周方向に所定の角度だけずれた永久磁石にそれぞれ対応する、第1ロータコアブロック部の一方側方充填樹脂部と第2ロータコアブロック部の他方側方充填樹脂部とが、接続されやすいか、または、互いに周方向に所定の角度だけずれた永久磁石にそれぞれ対応する、第1ロータコアブロック部の他方側方充填樹脂部と第2ロータコアブロック部の一方側方充填樹脂部とが、接続されやすい。これらの結果、複数のロータコアブロック部が軸方向に積層された状態で、樹脂が到達しにくい部分が生じるのを抑制しながら、複数のロータコアブロック部の全ての、複数の磁石収容孔の各々の内部の永久磁石が配置されていない隙間の全体に渡って一括で樹脂を充填することができる。
【0009】
上記一の局面によるロータにおいて、好ましくは、軸方向において第1ロータコアブロック部と第2ロータコアブロック部との間に配置され、第1ロータコアブロック部および第2ロータコアブロック部の互いに周方向に所定の角度だけずれた一方側方充填樹脂部同士および他方側方充填樹脂部同士を接続するように樹脂が充填された接続樹脂流路を含む、流路プレートをさらに備える。
【0010】
このように構成すれば、流路プレートの接続樹脂流路を介して、第1ロータコアブロック部および第2ロータコアブロック部の互いに周方向に所定の角度だけずれた一方側方充填樹脂部同士および他方側方充填樹脂部同士を接続することができる。これにより、複数のロータコアブロック部が軸方向に積層された状態で、樹脂が到達しにくい部分が生じるのを確実に抑制しながら、第1ロータコアブロック部および第2ロータコアブロック部を含む複数のロータコアブロック部の全ての、複数の磁石収容孔の各々の内部の永久磁石が配置されていない隙間の全体に渡って一括で樹脂を充填することができる。
(【0011】以降は省略されています)
この特許をJ-PlatPat(特許庁公式サイト)で参照する
関連特許
株式会社アイシン
ドアロック装置
16日前
株式会社豊田中央研究所
非接触給電可能な回転電機
16日前
株式会社アイシン
ホール輸送材料およびホール輸送材料を用いた太陽電池
2日前
株式会社アイシン
ホール輸送材料およびホール輸送材料を用いた太陽電池
4日前
株式会社アイシン
ペロブスカイト太陽電池及びペロブスカイト太陽電池の製造方法
8日前
ミクロエース株式会社
被覆銅材の剥離処理方法、処理装置、処理装置制御部およびプログラム
2日前
個人
単極モータ
18日前
キヤノン電子株式会社
モータ
2日前
株式会社アイシン
ロータ
18日前
株式会社アイシン
ロータ
22日前
日星電気株式会社
ケーブル組立体
10日前
コーセル株式会社
電源装置
3日前
トヨタ自動車株式会社
固定子
23日前
トヨタ自動車株式会社
製造装置
23日前
株式会社デンソー
回転機
16日前
株式会社アイシン
ステータ
22日前
個人
太陽エネルギー収集システム
23日前
株式会社アイシン
ステータ
22日前
株式会社ダイヘン
充電装置
22日前
株式会社ダイヘン
充電装置
22日前
株式会社ダイヘン
充電装置
22日前
株式会社ダイヘン
充電装置
22日前
株式会社アイシン
ステータ
22日前
株式会社アイシン
ステータ
22日前
個人
二次電池繰返パルス放電器用印刷基板
8日前
株式会社kaisei
発電システム
18日前
トヨタ自動車株式会社
被膜形成装置
23日前
株式会社デンソー
電力変換装置
9日前
ASTI株式会社
電力変換装置
23日前
株式会社ミツバ
回転電機
22日前
株式会社デンソー
電力変換装置
17日前
株式会社ミツバ
回転電機
15日前
トヨタ自動車株式会社
固定子の加熱装置
5日前
株式会社アイシン
保護装置
23日前
株式会社デンソー
非接触受電装置
11日前
大和ハウス工業株式会社
システム
24日前
続きを見る
他の特許を見る