TOP
|
特許
|
意匠
|
商標
特許ウォッチ
Twitter
他の特許を見る
10個以上の画像は省略されています。
公開番号
2025160779
公報種別
公開特許公報(A)
公開日
2025-10-23
出願番号
2024063559
出願日
2024-04-10
発明の名称
電力変換装置
出願人
株式会社デンソー
代理人
個人
,
個人
主分類
H02M
7/48 20070101AFI20251016BHJP(電力の発電,変換,配電)
要約
【課題】制御基板の共振抑制と半導体装置の冷却性能との両立が図れる電力変換装置を提供する。
【解決手段】電力変換装置4は、半導体装置90、制御基板13、半導体装置に積層して配置されて半導体装置を冷却する冷却器を備える。電力変換装置4は、半導体装置に対して積層して配置されて、半導体装置に対して積層方向に押圧する押圧力を与える加圧部15と、固定ねじ20とを備える。固定ねじ20は、加圧部15に積層して配置された、制御基板13または制御基板13を支持する基板支持部材14を、加圧部に対して積層方向に押し付ける固定力を与える。固定ねじ20は、積層方向に半導体装置90と重なる位置に設けられている。
【選択図】図3
特許請求の範囲
【請求項1】
電力変換を行う半導体装置(90)と、
前記半導体装置を駆動する電子部品が搭載されている制御基板(13)と、
前記半導体装置に積層して配置されて前記半導体装置を冷却する冷却器(17、18、171)と、
前記半導体装置に対して積層して配置されて、前記半導体装置に対して積層方向に押圧する押圧力を与える加圧部(15)と、
前記半導体装置とは反対側において前記加圧部に積層して配置された、前記制御基板または前記制御基板を支持する基板支持部材(14)を、前記加圧部に対して積層方向に押し付ける固定力を与える固定部材(20)と、
を備え、
前記固定部材は、前記積層方向に前記半導体装置と重なる位置に設けられている電力変換装置。
続きを表示(約 1,000 文字)
【請求項2】
前記冷却器は、内部に冷却用流体が流通し、前記半導体装置に対して前記積層方向の一方の面側に積層して配置されている第1冷却器(17)と、内部に冷却用流体が流通し、前記半導体装置に対して前記積層方向の他方の面側に積層して配置されている第2冷却器(18)とを含み、
前記第1冷却器と前記加圧部との間に介在して、前記第1冷却器と前記加圧部とに対してばね反力を与えるばね性部材(16)を備える請求項1に記載の電力変換装置。
【請求項3】
前記固定部材は、前記加圧部に形成されている雌ねじ部(15a)に螺合する雄ねじ部(20a)を備え、
前記固定部材は、前記雄ねじ部による締結力によって、前記制御基板または前記基板支持部材を、前記加圧部に対して積層方向に押し付ける請求項2に記載の電力変換装置。
【請求項4】
前記加圧部とは別個の部品であって、前記加圧部に一体に設けられたナット部材(22)を備え、
前記固定部材は、前記ナット部材に形成されている雌ねじ部(22a)に螺合する雄ねじ部(20a)を備え、
前記固定部材は、前記雄ねじ部による締結力によって、前記制御基板または前記基板支持部材を、前記加圧部に対して積層方向に押し付ける請求項2に記載の電力変換装置。
【請求項5】
前記ナット部材には、軸方向の端部に蓋部が形成されている請求項4に記載の電力変換装置。
【請求項6】
前記冷却器は、前記加圧部を備えており、
前記固定部材は、前記冷却器に形成されている雌ねじ部(15a)に螺合する雄ねじ部(20a)を備え、
前記固定部材は、前記雄ねじ部による締結力によって、前記制御基板または前記基板支持部材を、前記加圧部に対して積層方向に押し付ける請求項1に記載の電力変換装置。
【請求項7】
前記半導体装置に接続されているコンデンサ(5)と、
電気負荷(3)と前記半導体装置とを接続する出力ライン(8)を流れる電流を検出する電流センサ(7)と、
を備え、
前記コンデンサと前記電流センサは、少なくとも一部が前記積層方向に前記制御基板と重なる位置に設けられており、
前記冷却器は、前記積層方向に対して直交する方向に、前記コンデンサおよび前記電流センサと重なる位置に設けられている請求項1から請求項6のいずれか一項に記載の電力変換装置。
発明の詳細な説明
【技術分野】
【0001】
この明細書における開示は、電力変換装置に関する。
続きを表示(約 1,900 文字)
【背景技術】
【0002】
特許文献1には、シールド部材と、シールド部材に支持された制御基板と、シールド部材に固定された半導体装置とを備えたインバータ装置を開示している。半導体装置の熱はシールド部材に伝搬することになる。
【先行技術文献】
【特許文献】
【0003】
特開2021-35226号公報
【発明の概要】
【発明が解決しようとする課題】
【0004】
特許文献1に開示された技術は、制御基板の共振を抑制すること、および半導体装置の冷却性能を確保することに関して、改善の余地がある。
【0005】
この明細書における開示の目的は、制御基板の共振抑制と半導体装置の冷却性能との両立が図れる電力変換装置を提供することである。
【課題を解決するための手段】
【0006】
この明細書に開示された複数の態様は、それぞれの目的を達成するために、互いに異なる技術的手段を採用する。また、特許請求の範囲およびこの項に記載した括弧内の符号は、一つの態様として後述する実施形態に記載の具体的手段との対応関係を示す一例であって、技術的範囲を限定するものではない。
【0007】
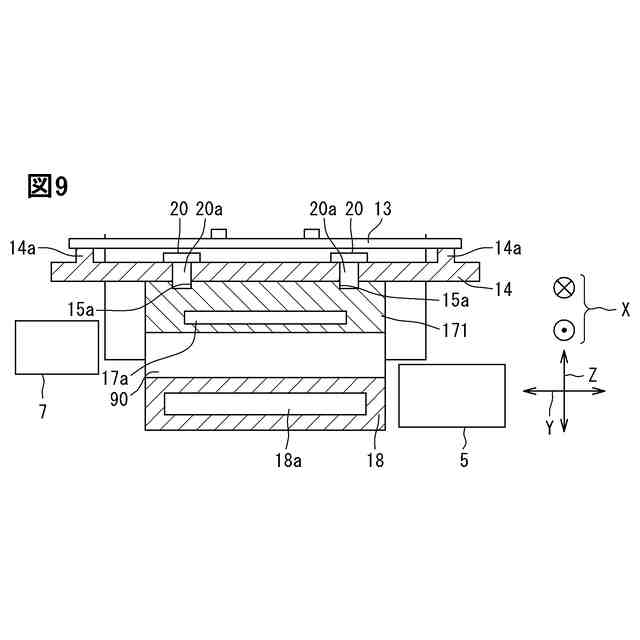
開示された電力変換装置の一つは、電力変換を行う半導体装置(90)と、半導体装置を駆動する電子部品が搭載されている制御基板(13)と、半導体装置に積層して配置されて半導体装置を冷却する冷却器(17、18、171)と、半導体装置に対して積層して配置されて、半導体装置に対して積層方向に押圧する押圧力を与える加圧部(15)と、半導体装置とは反対側において加圧部に積層して配置された、制御基板または制御基板を支持する基板支持部材(14)を、加圧部に対して積層方向に押し付ける固定力を与える固定部材(20)と、を備え、固定部材は、積層方向に半導体装置と重なる位置に設けられている。
【0008】
この電力変換装置によれば、半導体装置に積層して配置された冷却器によって、半導体装置を効果的に冷却することができる。電力変換装置は、半導体装置、冷却器、加圧部、制御基板や基板支持部材といった積層構造物品を備えている。固定部材は、半導体装置とは反対側において加圧部に積層して配置された、制御基板または基板支持部材を、加圧部に対して積層方向に押し付ける働きをする。さらに固定部材は積層方向に半導体装置と重なる位置に設けられている。この構成により、半導体装置や冷却器から伝わる振動に対する制御基板の剛性を高めることができる。また、制御基板または基板支持部材は、積層構造物品において、半導体装置と重なる固定部材によって加圧部に対して積層方向に押し付けられている。制御基板は、積層構造物品の一部品として高い剛性を有する。このため、制御基板は、外部から電力変換装置に伝わる振動に対しても、高い耐性を有する。したがって、電力変換装置は、制御基板の共振抑制と半導体装置の冷却性能との両立を図ることができる。
【図面の簡単な説明】
【0009】
第1実施形態の電力変換装置に係る回路図である。
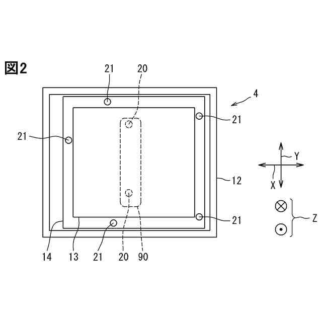
電力変換装置の構成を示す平面図である。
基板、基板支持部材、冷却器および半導体装置に係る積層構造を示す部分断面図である。
積層構造物品に関する他の例の一つである第1の例を示す部分断面図である。
積層構造物品に関する他の例の一つである第2の例を示す部分断面図である。
積層構造物品に関する他の例の一つである第3の例を示す部分断面図である。
積層構造物品に関する他の例の一つである第4の例を示す部分断面図である。
積層構造物品に関する他の例の一つである第5の例を示す部分断面図である。
積層構造物品に関する他の例の一つである第6の例を示す部分断面図である。
【発明を実施するための形態】
【0010】
以下に、図面を参照しながら本開示を実施するための複数の形態を説明する。各形態において先行する形態で説明した事項に対応する部分には同一の参照符号を付して重複する説明を省略する場合がある。各形態において構成の一部のみを説明している場合は、構成の他の部分については先行して説明した他の形態を適用することができる。各実施形態で具体的に組み合わせが可能であることを明示している部分同士の組み合わせばかりではなく、特に組み合わせに支障が生じなければ、明示していなくても実施形態同士を部分的に組み合せることも可能である。
(【0011】以降は省略されています)
この特許をJ-PlatPat(特許庁公式サイト)で参照する
関連特許
株式会社デンソーウェーブ
筐体
29日前
株式会社デンソー
回転機
29日前
株式会社デンソー
電動弁
8日前
株式会社デンソー
検出装置
28日前
株式会社デンソー
反力装置
1か月前
株式会社デンソー
熱交換器
7日前
株式会社デンソー
電子装置
8日前
株式会社デンソー
摺動機構
7日前
株式会社デンソー
摺動機構
7日前
株式会社デンソー
電解装置
9日前
株式会社デンソー
撮像装置
7日前
株式会社デンソー
撮像装置
7日前
株式会社デンソー
制御装置
10日前
株式会社デンソー
電気回路
2日前
株式会社デンソー
ステータ
1か月前
株式会社デンソー
電子装置
18日前
株式会社デンソー
電子装置
1か月前
株式会社デンソー
電子装置
1か月前
株式会社デンソー
ステータ
1か月前
株式会社デンソー
電流センサ
29日前
株式会社デンソー
半導体装置
9日前
株式会社デンソー
レーダ装置
1か月前
株式会社デンソー
半導体装置
7日前
株式会社デンソー
農業用装置
1か月前
株式会社デンソー
熱交換部材
9日前
株式会社デンソー
センサ装置
15日前
株式会社デンソー
センサ装置
15日前
株式会社デンソー
ヒータ装置
16日前
株式会社デンソー
半導体装置
24日前
株式会社デンソートリム
鞍乗り車両
16日前
株式会社デンソー
熱交換装置
22日前
株式会社デンソーテン
インバータ
1か月前
株式会社デンソー
半導体装置
17日前
株式会社デンソー
圧電デバイス
15日前
株式会社デンソー
電力変換装置
1か月前
株式会社デンソー
電力変換装置
22日前
続きを見る
他の特許を見る