TOP
|
特許
|
意匠
|
商標
特許ウォッチ
Twitter
他の特許を見る
公開番号
2025175594
公報種別
公開特許公報(A)
公開日
2025-12-03
出願番号
2024081776
出願日
2024-05-20
発明の名称
ロータ
出願人
株式会社デンソー
代理人
弁理士法人太陽国際特許事務所
主分類
H02K
1/22 20060101AFI20251126BHJP(電力の発電,変換,配電)
要約
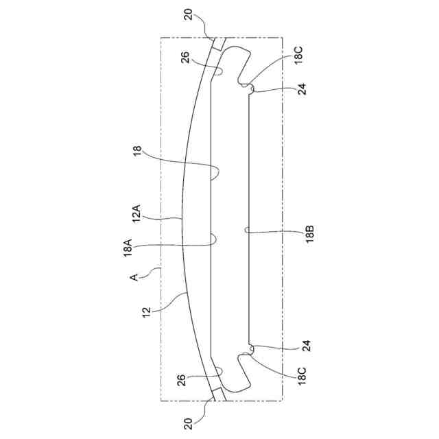
【課題】マグネットトルクを低下させずに、リラクタンストルクを増加させることができるロータを提供する。
【解決手段】ロータ(10)は、ロータコア(12)と、前記ロータコアの周方向に並び、前記ロータコアに埋め込まれたマグネット(14)と、を備え、前記ロータコアの軸方向の端面の外周部には、それぞれ前記ロータコアの周方向における隣り合う前記マグネットの間に位置し、前記ロータコアの軸方向に突出する複数の突起部(20)が設けられている。
【選択図】図1
特許請求の範囲
【請求項1】
ロータコア(12)と、
前記ロータコアの周方向に並び、前記ロータコアに埋め込まれたマグネット(14)と、
を備え、
前記ロータコアの軸方向の端面の外周部には、それぞれ前記ロータコアの周方向における隣り合う前記マグネットの間に位置し、前記ロータコアの軸方向に突出する複数の突起部(20)が設けられている、
ロータ(10)。
続きを表示(約 440 文字)
【請求項2】
前記ロータコアは、複数のコアシートが前記ロータコアの軸方向に積層された積層体であり、
前記複数のコアシートのうち前記ロータコアの軸方向の端部に設けられたコアシートである端部コアシート(22)には、前記複数の突起部が一体に形成されており、
前記端部コアシートは、前記複数の突起部が前記端部コアシートの径方向外側に突出する形状に打ち抜き加工により形成されたものであり、
前記複数の突起部は、前記端部コアシートの径方向外側に突出する態様から前記ロータコアの軸方向に突出する態様に曲げ加工により形成されたものである、
請求項1に記載のロータ。
【請求項3】
前記ロータコアの軸方向一方側の端面の外周部には、前記複数の突起部としての複数の第1突起部が設けられており、
前記ロータコアの軸方向他方側の端面の外周部には、前記複数の突起部としての複数の第2突起部が設けられている、
請求項1又は請求項2に記載のロータ。
発明の詳細な説明
【技術分野】
【0001】
本開示の技術は、ロータに係り、特に埋込磁石型のロータに関する。
続きを表示(約 1,100 文字)
【背景技術】
【0002】
従来、ロータコアと、ロータコアに埋め込まれたマグネットとを備えた埋込磁石型のロータが知られている(例えば、特許文献1参照)。この種のロータは、ロータの径方向外側に配置されるステータと組み合わせることでブラシレスモータを構成する。
【先行技術文献】
【特許文献】
【0003】
特開2023-112197号公報
【発明の概要】
【発明が解決しようとする課題】
【0004】
この種のブラシレスモータにおいて、センサレスにてロータの回転を制御する場合、リラクタンストルクを増加させて突極比を確保する必要がある。突極比とは、d軸リアクタンスLdとq軸インダクタンスLqとの比(Ld/Lq)のことである。ここで、リラクタンストルクを増加させるために、マグネットの位置をロータの径方向内側にシフトすると、ロータとステータとの間の距離が増加するため、マグネットトルクが低下し、モータ出力の低下につながる。したがって、マグネットトルクを低下させずに、リラクタンストルクを増加させる必要がある。
【0005】
本開示の技術は、マグネットトルクを低下させずに、リラクタンストルクを増加させることができるロータを提供する。
【課題を解決するための手段】
【0006】
本開示の技術は、ロータコア(12)と、前記ロータコアの周方向に並び、前記ロータコアに埋め込まれたマグネット(14)と、を備え、前記ロータコアの軸方向の端面の外周部には、それぞれ前記ロータコアの周方向における隣り合う前記マグネットの間に位置し、前記ロータコアの軸方向に突出する複数の突起部(20)が設けられている、ロータ(10)である。
【0007】
本開示の技術によれば、マグネットトルクを低下させずに、リラクタンストルクを増加させることができるロータが提供される。
【図面の簡単な説明】
【0008】
本開示の一実施形態に係るロータの二面図(平面図及び側面図)である。
図1のA部を拡大したロータコアの平面図である。
図1のA部を拡大したロータの平面図である。
【発明を実施するための形態】
【0009】
以下、本開示の一実施形態について説明する。
【0010】
図1に示す本実施形態に係るロータ10は、埋込磁石型のロータであり、インナロータタイプのブラシレスモータに用いられる。ロータ10は、ロータコア12と、複数のマグネット14とを有する。複数のマグネット14は、ロータコア12に埋め込まれている。
(【0011】以降は省略されています)
この特許をJ-PlatPat(特許庁公式サイト)で参照する
関連特許
株式会社デンソーウェーブ
筐体
1か月前
株式会社デンソー
電動機
6日前
株式会社デンソー
回転機
1か月前
株式会社デンソー
電動弁
28日前
株式会社デンソー
ロータ
1日前
株式会社デンソー
端子台
8日前
株式会社デンソー
ロータ
1日前
株式会社デンソー
分離体
14日前
株式会社デンソー
電気回路
22日前
株式会社デンソー
反力装置
1か月前
株式会社デンソー
電子装置
1か月前
株式会社デンソー
光学部材
14日前
株式会社デンソー
光学部材
14日前
株式会社デンソー
撮像装置
27日前
株式会社デンソー
摺動機構
27日前
株式会社デンソー
摺動機構
27日前
株式会社デンソー
熱交換器
27日前
株式会社デンソー
電子装置
28日前
株式会社デンソー
トランス
6日前
株式会社デンソー
ステータ
2か月前
株式会社デンソー
撮像装置
27日前
株式会社デンソー
ステータ
2か月前
株式会社デンソー
光学部材
6日前
株式会社デンソー
制御装置
1か月前
株式会社デンソー
検出装置
1か月前
株式会社デンソー
電子装置
1か月前
株式会社デンソー
電子装置
1か月前
株式会社デンソー
電解装置
29日前
株式会社デンソー
電子装置
6日前
株式会社デンソー
レーダ装置
1か月前
株式会社デンソー
半導体装置
27日前
株式会社デンソー
センサ装置
1か月前
株式会社デンソー
センサ装置
1か月前
株式会社デンソー
半導体装置
29日前
株式会社デンソートリム
鞍乗り車両
1か月前
株式会社デンソー
電流センサ
1か月前
続きを見る
他の特許を見る