TOP
|
特許
|
意匠
|
商標
特許ウォッチ
Twitter
他の特許を見る
10個以上の画像は省略されています。
公開番号
2025164594
公報種別
公開特許公報(A)
公開日
2025-10-30
出願番号
2024068675
出願日
2024-04-19
発明の名称
センサ装置
出願人
株式会社デンソー
代理人
弁理士法人ゆうあい特許事務所
主分類
G02B
7/02 20210101AFI20251023BHJP(光学)
要約
【課題】センシング性能とセンシング距離の両立を図ることが可能なセンサ装置を提供する。
【解決手段】レンズ80を鏡筒50に固定するレンズ固定部90を鏡筒50とは別部材で設け、赤外線照射部110から鏡筒50への伝熱がレンズ固定部90を介して行われる構造とする。このように、別部材を介している分、赤外線照射部110から直接もしくはLED基板120から鏡筒50に伝熱される場合よりも熱抵抗が大きくなり、熱伝達されにくくなる。
【選択図】図2
特許請求の範囲
【請求項1】
センサ装置であって、
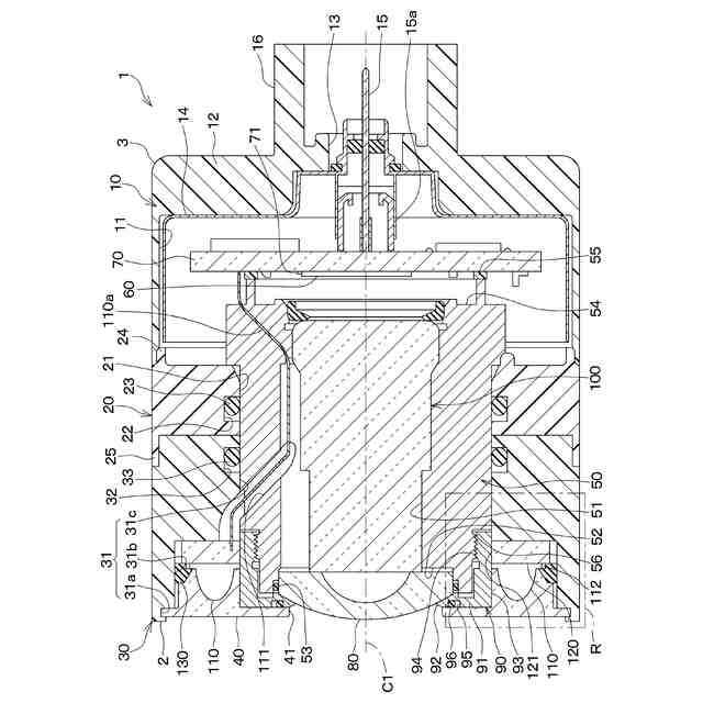
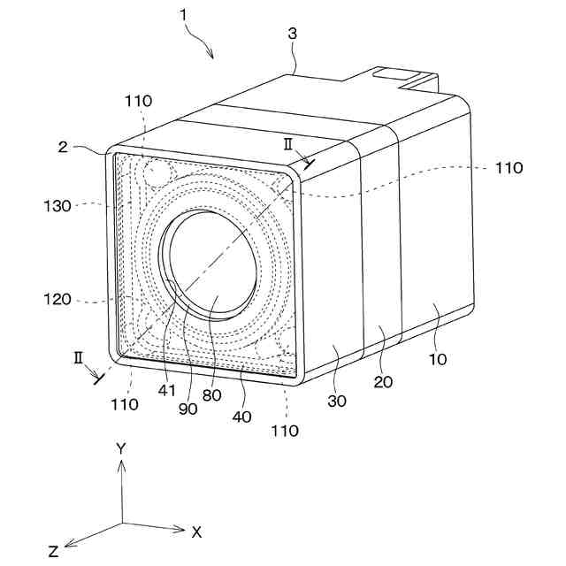
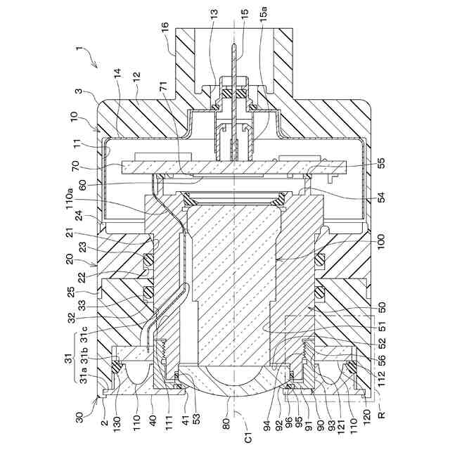
収容容器(10~30)と、
前記収容容器に収容され、前記収容容器の外部に向って電磁波を出力すると共に、該電磁波の発生に伴って発熱が生じる電磁波発生器(110)と、
前記収容容器に収容され、前記収容容器の外部の物体によって反射した前記電磁波を受信する電磁波受信口を構成すると共に、前記電磁波を透過する電磁波透過部品(80)と、
前記電磁波透過部品よりも前記収容容器の内側に配置されたセンシング素子(60)と、
前記電磁波透過部品よりも前記収容容器の内側に配置され、前記センシング素子を制御すると共に、前記電磁波発生器が前記電磁波の出力する場合と出力しない場合の切り替えを行う制御基板(70)と、
前記電磁波透過部品と前記センシング素子および前記制御基板との間に配置され、前記電磁波透過部品を透過した前記電磁波を前記センシング素子に導く経路を構成するハウジング(50)と、
前記ハウジングとは別部材で構成され、前記電磁波透過部品を前記ハウジングに固定する固定部(90)と、を有し、
前記電磁波発生器は、前記電磁波の出力時に発熱し、該熱が前記固定部を介して前記電磁波透過部品に伝熱させられる、センサ装置。
続きを表示(約 1,200 文字)
【請求項2】
前記制御基板は、前記センシング素子の温度である第1温度と前記電磁波発生器の温度である第2温度の少なくとも一方を検出し、前記センシング素子による前記電磁波のセンシング結果および前記第1温度と前記第2温度に基づいて、前記電磁波発生器が前記電磁波の出力する場合と出力しない場合の切り替えを自動的に行う、請求項1に記載のセンサ装置。
【請求項3】
前記制御基板は、前記第1温度もしくは前記第2温度が高温であるとの検出結果であると、前記高温ではない場合と比較して、前記電磁波発生器による前記電磁波の出力を間欠的に行う間欠動作、もしくは前記電磁波発生器が複数備えられている場合に複数のうちの一部のみで前記電磁波の出力を行わせる間引き動作のいずれかを行うことで単位時間当りの前記電磁波の発生割合を少なくする、請求項2に記載のセンサ装置。
【請求項4】
前記電磁波発生器は、前記固定部に直接実装されている、請求項1ないし3のいずれか1つに記載のセンサ装置。
【請求項5】
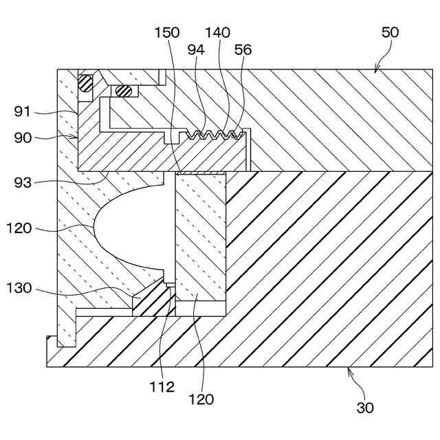
前記電磁波発生器が直接実装される実装基板(120)を有し、
前記電磁波発生器は、前記実装基板を介して前記固定部に接続されている、請求項1ないし3のいずれか1つに記載のセンサ装置。
【請求項6】
前記実装基板は、前記実装基板と前記固定部とが直接接触させられるよりも熱伝達が行われ易くなる高熱伝導部材(150)を介して前記固定部に接続されている、請求項5に記載のセンサ装置。
【請求項7】
前記ハウジングと前記固定部との間には、前記ハウジングと前記固定部とが直接接触させられるよりも熱伝達が行われにくくなる低熱伝導部材(140)が配置されている、請求項1に記載のセンサ装置。
【請求項8】
前記ハウジングに雄ネジ溝(56)が形成されていると共に、前記固定部に雌ネジ溝(94)が形成されており、
前記雄ネジ溝と前記雌ネジ溝とが螺号することで、前記固定部が前記ハウジングのうちの前記電磁波透過部品側の先端に固定され、
前記雄ネジ溝のネジ山と前記雌ネジ溝のネジ山との間に隙間(170)が形成されている、請求項1に記載のセンサ装置。
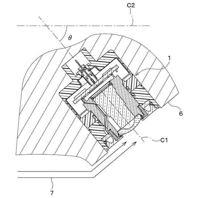
【請求項9】
前記収容容器には、前記電磁波発生器と前記電磁波透過部品および前記固定部が収容されるヘッド(30)を有し、
前記ヘッドは、前記センサ装置が取付けられる被取付部材(4)に取付けるブラケット(36)と一体構造とされ、
前記電磁波発生器の発熱が前記ヘッドに伝えられ、さらに前記ブラケットを介して前記被取付部材に伝えられる、請求項1に記載のセンサ装置。
【請求項10】
車両(4)に取付けられる車載用のカメラ装置である、請求項1に記載のセンサ装置。
(【請求項11】以降は省略されています)
発明の詳細な説明
【技術分野】
【0001】
本開示は、センサ装置に関し、例えば車載用のカメラ装置などの車載センサに適用すると好適なものである。
続きを表示(約 2,300 文字)
【背景技術】
【0002】
従来、特許文献1に、レンズの周囲に赤外線照射部を配置し、イメージャなどで構成される撮像部と赤外線照射部を制御することにより、レンズに映り込む物体の撮像を行うカメラ装置が提案されている。このカメラ装置では、赤外線照射部を制御し、撮像部での撮影を行う際に赤外線照射も同時に行うことで暗所での撮影を可能としている。レンズおよび赤外線照射部は、それぞれ、ハウジングのうちのレンズ取付部と照明取付部に取付けられており、近赤外線の照射により近赤外線照明部が発熱すると、その熱がレンズに伝わることでレンズ曇り除去が行われるようになっている。
【先行技術文献】
【特許文献】
【0003】
特開2014-35370号公報
【発明の概要】
【発明が解決しようとする課題】
【0004】
近年、カメラ装置において、画像の鮮明化や暗視可視距離の長距離化、つまりより遠方を鮮明にセンシングできるようにすることが求められている。
【0005】
しかしながら、特許文献1のカメラ装置では、赤外線照射部で発した熱が赤外線照射部から直接ハウジングに伝わる構造になっている。また、ハウジングを挟んでレンズと反対側にイメージャやイメージャが実装されるイメージャ基板が配置され、これらで発した熱もハウジングに伝わる構造になっている。このため、赤外線照射部についてはイメージャやイメージャ基板側への伝熱を考慮する必要があり、イメージャやイメージャ基板に備えられる素子の熱寿命確保のために、赤外線の照射出力を上げられず、暗視可視距離を伸ばすことが困難になっている。加えて、イメージャの高画素化に伴って発熱量が増大している。このため、高画素化と暗視可視距離の長距離化の両立が実現できないという課題がある。
【0006】
なお、ここでは暗所での撮影もしくはレンズの曇り抑制と解氷のために赤外線照射部を備えるようにしているが、赤外線照射部に限らず、他の電磁波発生器を用いる場合にも同様の課題が発生する。また、ここでは、センサ装置としてカメラ装置を例に挙げ、センシング性能とセンシング距離の両立という課題について、高画素化と暗視可視距離の長距離化を例に挙げた。しかしながら、このような課題は、カメラ装置に限らず、他のセンサ装置においても同様に発生する。例えば、センサ装置としてミリ波レーダが挙げられる。ミリ波レーダにおいても、電磁波発生器を備えて氷除去を行うことができるが、センシング性能の高機能化による発熱量増大と電磁波発生器の電磁波の出力による発熱により、センシング性能とセンシング距離の両立が難しい。
【0007】
本開示は、センシング性能とセンシング距離の両立を図ることが可能なセンサ装置を提供することを目的とする。
【課題を解決するための手段】
【0008】
本開示の1つの観点におけるセンサ装置は、
収容容器(10~30)と、
前記収容容器に収容され、前記収容容器の外部に向って電磁波を出力すると共に、該電磁波の発生に伴って発熱が生じる電磁波発生器(110)と、
前記収容容器に収容され、前記収容容器の外部の物体で反射した前記電磁波を受信する電磁波受信口を構成すると共に、前記電磁波を透過する電磁波透過部品(80)と、
前記電磁波透過部品よりも前記収容容器の内側に配置されたセンシング素子(60)と、
前記電磁波透過部品よりも前記収容容器の内側に配置され、前記センシング素子を制御すると共に、前記電磁波発生器が前記電磁波の出力する場合と出力しない場合の切り替えを行う制御基板(70)と、
前記電磁波透過部品と前記センシング素子および前記制御基板との間に配置され、前記電磁波透過部品を透過した前記電磁波を前記センシング素子に導く経路を構成するハウジング(50)と、
前記ハウジングとは別部材で構成され、前記電磁波透過部品を前記ハウジングに固定する固定部(90)と、を有し、
前記電磁波発生器は、前記電磁波の出力時に発熱し、該熱が前記固定部を介して前記電磁波透過部品に伝熱させられる。
【0009】
このように、電磁波発生器から電磁波を出力することで発熱させ、その熱を電磁波透過部品に伝えることで防曇や解氷を可能としている。このとき、電磁波発生器から固定部に熱が伝わり、それから電磁波透過部品に伝わるという伝熱経路とされている。そして、固定部をハウジングとは別部材で設け、電磁波発生器からハウジングへの伝熱が固定部を介して行われる構造とされている。このため、別部材を介している分、電磁波発生器からハウジングに直接伝熱される場合よりも熱抵抗が大きくなり、熱伝達されにくくなる。したがって、センシング素子や制御基板の過剰昇温の抑制が図れる。そして、センシング素子や制御基板の昇温が抑制されることで、センシング素子や制御基板に備えられる素子の熱寿命も確保し易くなる。よって、電磁波発生器による電磁波の出力の増大、センシング素子の高機能化が可能になり、センシング性能とセンシング距離の両立を図ることが可能になる。
【0010】
なお、各構成要素等に付された括弧付きの参照符号は、その構成要素等と後述する実施形態に記載の具体的な構成要素等との対応関係の一例を示すものである。
【図面の簡単な説明】
(【0011】以降は省略されています)
この特許をJ-PlatPat(特許庁公式サイト)で参照する
関連特許
株式会社デンソー
ロータ
6日前
株式会社デンソー
ロータ
6日前
株式会社デンソー
電動弁
1か月前
株式会社デンソー
電動機
11日前
株式会社デンソー
分離体
19日前
株式会社デンソー
端子台
13日前
株式会社デンソー
トランス
11日前
株式会社デンソー
光学部材
19日前
株式会社デンソー
光学部材
11日前
株式会社デンソー
光学部材
19日前
株式会社デンソー
熱交換器
1か月前
株式会社デンソー
電気回路
27日前
株式会社デンソー
電子装置
11日前
株式会社デンソー
撮像装置
1か月前
株式会社デンソー
撮像装置
1か月前
株式会社デンソー
摺動機構
1か月前
株式会社デンソー
電子装置
1か月前
株式会社デンソー
摺動機構
1か月前
株式会社デンソー
電解装置
1か月前
株式会社デンソー
整流回路
4日前
株式会社デンソー
電子装置
1か月前
株式会社デンソー
制御装置
1か月前
株式会社デンソー
回転電機
4日前
株式会社デンソー
レーダ装置
5日前
株式会社デンソー
半導体装置
1か月前
株式会社デンソー
半導体装置
19日前
株式会社デンソートリム
鞍乗り車両
1か月前
株式会社デンソー
ヒータ装置
1か月前
株式会社デンソー
センサ装置
1か月前
株式会社デンソー
センサ装置
1か月前
株式会社デンソー
電磁継電器
11日前
株式会社デンソー
半導体装置
1か月前
株式会社デンソー
音低減装置
4日前
株式会社デンソー
熱交換部材
1か月前
株式会社デンソーエレクトロニクス
電磁継電器
5日前
株式会社デンソー
半導体装置
1か月前
続きを見る
他の特許を見る