TOP
|
特許
|
意匠
|
商標
特許ウォッチ
Twitter
他の特許を見る
10個以上の画像は省略されています。
公開番号
2025167400
公報種別
公開特許公報(A)
公開日
2025-11-07
出願番号
2024071960
出願日
2024-04-25
発明の名称
半導体装置
出願人
株式会社デンソー
代理人
弁理士法人ゆうあい特許事務所
主分類
H01L
21/768 20060101AFI20251030BHJP(基本的電気素子)
要約
【課題】パッド部に絶縁膜を配置することなく、保護膜にトリー破壊が発生することを抑制する。
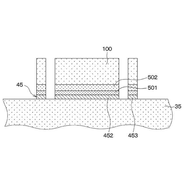
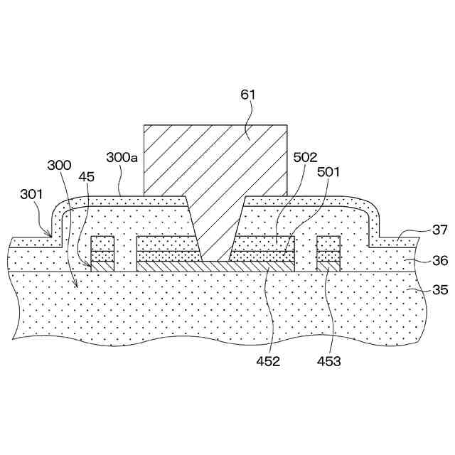
【解決手段】キャパシタCは、複数の配線部41~45のうちの基板10と配線層20との積層方向において対向する2つの配線部において、基板側10に位置する配線部を第1電極412とし、第1電極412を挟んで基板10側と反対側に位置する配線部を第2電極452として構成され、配線層20のうちの基板10側と反対側の一面300a上に配置された第2電極452と接続されるパッド部61と、パッド部61を露出させる開口部71が形成されていると共にパッド部61と接しており、絶縁膜よりも電界破壊強度が低い樹脂で構成された保護膜70とを有し、第2電極452と保護膜70との間には、配線層20の絶縁膜が配置され、パッド部61および第2電極452は、積層方向において、第2電極452の内側にパッド部61が配置されるようにする。
【選択図】図1
特許請求の範囲
【請求項1】
半導体装置であって、
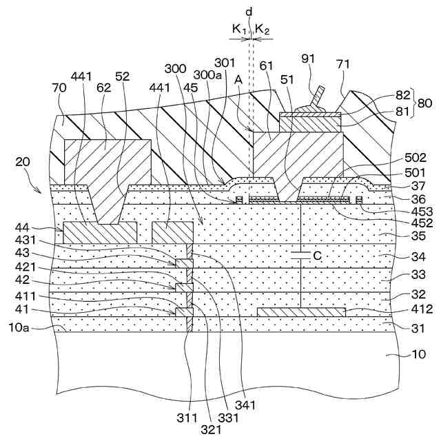
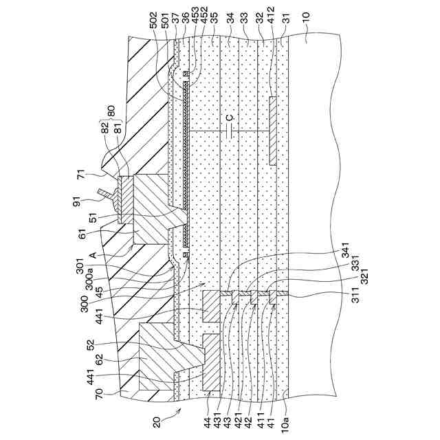
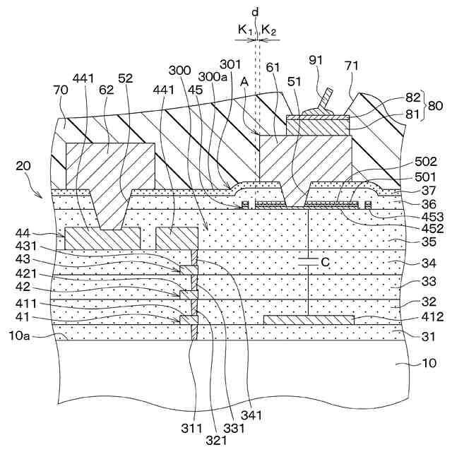
一面(10a)を有する基板(10)と、
前記一面上に配置され、キャパシタ(C)を有する配線層(20)と、を備え、
前記配線層は、複数層の絶縁膜(31~37)と複数層の配線部(41~45)とが交互に積層された部分を有し、
前記キャパシタは、前記複数の配線部のうちの前記基板と前記配線層との積層方向において対向する2つの前記配線部において、前記基板側に位置する配線部を第1電極(412)とし、前記第1電極を挟んで前記基板側と反対側に位置する前記配線部を第2電極(452)として構成され、
前記配線層のうちの前記基板側と反対側の一面(300a)上に配置された前記第2電極と接続されるパッド部(61)と、
前記配線層のうちの前記基板側と反対側の一面上に配置され、前記パッド部を露出させる開口部(71)が形成されていると共に前記パッド部と接しており、前記絶縁膜よりも電界破壊強度が低い樹脂で構成された保護膜(70)と、を有し、
前記第2電極と前記保護膜との間には、前記配線層の絶縁膜が配置され、
前記パッド部および前記第2電極は、前記積層方向において、前記第2電極の内側に前記パッド部が配置されている半導体装置。
続きを表示(約 400 文字)
【請求項2】
前記キャパシタは、前記第1電極と前記第2電極との間に、2層以上の前記絶縁膜が配置されている請求項1に記載の半導体装置。
【請求項3】
前記絶縁膜は、前記第2電極上に位置する部分が、前記第2電極上に位置する部分と異なる部分よりも盛り上がっている請求項1に記載の半導体装置。
【請求項4】
前記積層方向において、前記第2電極の外縁端部と前記パッド部の外縁端部との間の長さ(d)が15μm以上とされている請求項1に記載の半導体装置。
【請求項5】
前記第2電極と同一面上に配置され、前記第2電極を囲む枠状とされてフローティング状態とされている電界緩和層(453)を有する請求項1に記載の半導体装置。
【請求項6】
前記キャパシタは、1000V以上の耐圧を有する請求項1ないし5のいずれか1つに記載の半導体装置。
発明の詳細な説明
【技術分野】
【0001】
本開示は、半導体装置に関するものである。
続きを表示(約 1,900 文字)
【背景技術】
【0002】
従来より、配線基板上にキャパシタを有する配線層を配置した半導体装置が提案されている(例えば、特許文献1参照)。具体的には、この半導体装置における配線層は、配線部と絶縁膜とが交互に積層された部分を有している。そして、キャパシタは、配線部と絶縁膜との積層方向において、2つの配線部が対向する部分で構成されている。
【先行技術文献】
【特許文献】
【0003】
特許6342788号公報
【発明の概要】
【発明が解決しようとする課題】
【0004】
ところで、本発明者らは、外部回路と接続されるパッド部をキャパシタの上部電極とし、この上部電極と対向する配線部をキャパシタの下部電極とし、上部電極を露出させる開口部が形成された樹脂で構成される保護膜を備える半導体装置について検討していた。しかしながら、このような半導体装置では、キャパシタに高電圧を印加した際、上部電極に電界集中が発生し、上部電極と接する保護膜にトリー破壊が発生することが確認された。
【0005】
このため、本発明者らは、このような半導体装置について、上部電極と保護膜との間に、保護膜よりも電界破壊強度の高い酸化膜等の絶縁膜を配置する構成について検討した。しかしながら、このような半導体装置では、パッド部としても機能する上部電極は厚さが厚くなり易いため、上部電極と保護膜との間に絶縁膜を配置しようとすると、厚い絶縁膜を形成することになる。このため、このような構成では、構成が複雑になり、製造工程が長くなることでコストが増加する可能性がある。
【0006】
本開示は、パッド部に絶縁膜を配置することなく、保護膜にトリー破壊が発生することを抑制できる半導体装置を提供することを目的とする。
【課題を解決するための手段】
【0007】
本開示の1つの観点によれば、半導体装置は、一面(10a)を有する基板(10)と、一面上に配置され、キャパシタ(C)を有する配線層(20)と、を備え、配線層は、複数層の絶縁膜(31~37)と複数層の配線部(41~45)とが交互に積層された部分を有し、キャパシタは、複数の配線部のうちの基板と配線層との積層方向において対向する2つの配線部において、基板側に位置する配線部を第1電極(412)とし、第1電極を挟んで基板側と反対側に位置する配線部を第2電極(452)として構成され、配線層のうちの基板側と反対側の一面(300a)上に配置された第2電極と接続されるパッド部(61)と、配線層のうちの基板側と反対側の一面上に配置され、パッド部を露出させる開口部(71)が形成されていると共にパッド部と接しており、絶縁膜よりも電界破壊強度が低い樹脂で構成された保護膜(70)と、を有し、第2電極と保護膜との間には、配線層の絶縁膜が配置され、パッド部および第2電極は、積層方向において、第2電極の内側にパッド部が配置されている。
【0008】
これによれば、キャパシタの第2電極と保護膜との間には、絶縁膜が配置されている。このため、第2電極に電界集中が発生したとしても、保護膜が電界集中部に接しなくなり、保護膜にトリー破壊が発生することを抑制できる。また、パッド部および第2電極は、積層方向において、第2電極の内側にパッド部が配置されている。このため、保護膜のうちのトリー破壊の起点となり易いパッド部との界面の電界が大きくなることを抑制でき、保護膜にトリー破壊が発生することを抑制できる。
【0009】
なお、各構成要素等に付された括弧付きの参照符号は、その構成要素等と後述する実施形態に記載の具体的な構成要素等との対応関係の一例を示すものである。
【図面の簡単な説明】
【0010】
第1実施形態における半導体装置の断面図である。
上部電極と第1パッド部との間の絶縁膜厚さと電界強度との関係を示す図である。
長さと電界強度との関係を示す図である。
上部電極周辺の製造工程を示す図である。
図4Aに続く製造工程を示す図である。
図4Bに続く製造工程を示す図である。
図4Cに続く製造工程を示す図である。
図4Dに続く製造工程を示す図である。
第2実施形態における半導体装置の断面図である。
【発明を実施するための形態】
(【0011】以降は省略されています)
この特許をJ-PlatPat(特許庁公式サイト)で参照する
関連特許
株式会社デンソーウェーブ
筐体
1か月前
株式会社デンソー
端子台
13日前
株式会社デンソー
分離体
19日前
株式会社デンソー
電動機
11日前
株式会社デンソー
ロータ
6日前
株式会社デンソー
ロータ
6日前
株式会社デンソー
回転機
1か月前
株式会社デンソー
電動弁
1か月前
株式会社デンソー
摺動機構
1か月前
株式会社デンソー
光学部材
11日前
株式会社デンソー
制御装置
1か月前
株式会社デンソー
電解装置
1か月前
株式会社デンソー
摺動機構
1か月前
株式会社デンソー
電子装置
1か月前
株式会社デンソー
撮像装置
1か月前
株式会社デンソー
電気回路
27日前
株式会社デンソー
検出装置
1か月前
株式会社デンソー
トランス
11日前
株式会社デンソー
電子装置
11日前
株式会社デンソー
電子装置
1か月前
株式会社デンソー
回転電機
4日前
株式会社デンソー
光学部材
19日前
株式会社デンソー
光学部材
19日前
株式会社デンソー
撮像装置
1か月前
株式会社デンソー
反力装置
2か月前
株式会社デンソー
整流回路
4日前
株式会社デンソー
熱交換器
1か月前
株式会社デンソー
熱交換部材
1か月前
株式会社デンソー
半導体装置
1か月前
株式会社デンソー
半導体装置
1か月前
株式会社デンソー
電磁継電器
11日前
株式会社デンソー
半導体装置
19日前
株式会社デンソー
センサ装置
1か月前
株式会社デンソー
センサ装置
1か月前
株式会社デンソー
ヒータ装置
1か月前
株式会社デンソートリム
鞍乗り車両
1か月前
続きを見る
他の特許を見る