TOP
|
特許
|
意匠
|
商標
特許ウォッチ
Twitter
他の特許を見る
10個以上の画像は省略されています。
公開番号
2025168095
公報種別
公開特許公報(A)
公開日
2025-11-07
出願番号
2024073226
出願日
2024-04-26
発明の名称
撮像装置
出願人
株式会社デンソー
代理人
弁理士法人ゆうあい特許事務所
主分類
G03B
17/56 20210101AFI20251030BHJP(写真;映画;光波以外の波を使用する類似技術;電子写真;ホログラフイ)
要約
【課題】装置の大型化を抑制しつつ、レンズ表面の付着物を的確に拭き取ることができる撮像装置を提供する。
【解決手段】レンズ80の前面にレンズワイパー145のワイパー部145cを配置し、レンズ80の露出面を拭き取れるようにする。そして、レンズワイパー145の待機状態においても、ワイパー部145cをレンズ80への入光を阻害する位置とし、レンズ80の露出面上に位置させる。
【選択図】図2
特許請求の範囲
【請求項1】
撮像装置であって、
収容容器(10~30)と、
前記収容容器に収容され、一面を露出面として前記収容容器の外部に露出させられると共に前記外部の光を取り込むレンズ(80)と、
前記レンズよりも前記収容容器の内側に配置され、前記レンズで取り込まれた光に基づいて前記外部の撮影を行うイメージャ(60)と、
前記レンズよりも前記収容容器の内側に配置され、前記イメージャの制御を行うイメージャ基板(70)と、
前記レンズの露出面を拭うレンズワイパー(145)を含むワイパー装置(140)と、を有し、
前記レンズワイパーは、ワイパーゴムおよびワイパーブレードを有するワイパー部(145c)を含み、前記ワイパー部は、前記ワイパー装置の駆動を停止している待機状態において、前記レンズの露出面上に位置し、前記レンズへの入光を部分的に阻害している、撮像装置。
続きを表示(約 1,500 文字)
【請求項2】
前記イメージャは、一方向を長手方向とする長方形状とされ、
前記レンズワイパーは一対とされ、2つが前記イメージャの長手方向に沿って並んで配置されている、請求項1に記載の撮像装置。
【請求項3】
前記ワイパー装置は、モータ(141)によって駆動されるものであり、該モータと、前記モータの回転を減衰して所望のトルクを発生させるギアボックス(142)と、前記ギアボックスの出力となる駆動軸(143)とを有し、
前記レンズワイパーは、前記駆動軸の回転に基づいて駆動させられ、
前記モータと前記ギアボックスおよび前記駆動軸が前記レンズの光軸に沿って並んで配置されている、請求項1または2に記載の撮像装置。
【請求項4】
前記レンズと前記イメージャおよび前記イメージャ基板との間に配置され、前記レンズで取り込まれた光を前記イメージャに導く経路を構成する鏡筒(50)と、
前記鏡筒とは別部材で構成され、前記レンズを前記鏡筒に固定するレンズ固定部(90)と、を有し、
前記レンズ固定部には、前記駆動軸を挿通させる貫通穴(97)が形成されている、請求項3に記載の撮像装置。
【請求項5】
前記鏡筒のうち前記レンズ固定部が配置される側の先端には雄ネジ溝(56)が形成され、
前記レンズ固定部には、前記雄ネジ溝と対応する雌ネジ溝(94)が形成され、
前記雄ネジ溝と前記雌ネジ溝とが締結されることによって前記レンズ固定部にて前記レンズを前記鏡筒との間に挟持し、
さらに、前記レンズ固定部と前記レンズとの間に、前記雄ネジ溝と前記雌ネジ溝の回転方向の溝位置調整用のガスケット(170)が配置されている、請求項4に記載の撮像装置。
【請求項6】
前記レンズワイパーを挟んで前記レンズと反対側において、前記レンズワイパーの少なくとも一部を覆うワイパーカバー(150)を備えている、請求項1または2に記載の撮像装置。
【請求項7】
前記ワイパーカバーは、前記レンズワイパーにおける前記ワイパー部をおよび前記レンズを露出させる開口部(151a)が形成されたフレーム(151)を有し、
前記待機状態の際に、前記ワイパー部の少なくとも一部が前記フレームと前記レンズとの間に格納される、請求項6に記載の撮像装置。
【請求項8】
前記レンズワイパーは、前記ワイパー部の回転中心となるシャフト(145a)を有し、
前記フレームには、前記開口部に加えて、前記シャフトを露出させる軸穴(151b)と、前記開口部と前記軸穴との間に設けられた切欠き(151c)と、が形成され、
前記レンズワイパーが前記切欠きに位置しているときに、前記ワイパー部の着脱が可能とされる、請求項7に記載の撮像装置。
【請求項9】
前記フレームには、前記フレームと前記レンズとの間の隙間と前記フレームより外側とを連通させる水抜き穴(151g)が形成されている、請求項7または8に記載の撮像装置。
【請求項10】
前記イメージャ基板から前記レンズ側に引き出された通電用配線(110a)にて通電が行われる補機(110)を備え、
前記ワイパー装置は、モータ(141)によって駆動されるものであり、
前記収容容器内には前記モータが配置される収容空間(180)と、前記通電用配線が配置される配線通路(111)とが形成されていると共に、前記収容空間と前記配線通路が繋がっている、請求項1または2に記載の撮像装置。
(【請求項11】以降は省略されています)
発明の詳細な説明
【技術分野】
【0001】
本開示は、撮像装置に関し、例えば車載用のカメラ装置やLiDAR(Light Detection And Ranging)におけるステレオカメラに適用すると好適なものである。
続きを表示(約 2,300 文字)
【背景技術】
【0002】
従来、特許文献1に、ワイパーを備えた撮像装置が提案されている。この撮像装置では、レンズおよびレンズを囲むレンズ鏡胴を筐体で保持した構造において、レンズを覆わないレンズの上方位置にワイパーを設置し、レンズ鏡筒よりも外側に配置された回転軸を中心としてワイパーが揺動可能とされている。
【先行技術文献】
【特許文献】
【0003】
特開2007-53448号公報
【発明の概要】
【発明が解決しようとする課題】
【0004】
撮像装置を野外で用いる場合、例えば車載用のカメラ装置において車室外にカメラ装置を設置する場合には、雨滴などの異物がレンズに付着するという問題があるため、ワイパーを備える必要がある。しかしながら、小型の撮像装置では、ワイパーの搭載スペースがなく、意匠性の観点からもワイパーを小型化し、目立たなくすることが課題になる。このため、特許文献1の撮像装置のように、レンズおよびレンズ鏡胴の外側にワイパーを設けた構造では、装置が大型化し、高コストになる。
【0005】
また、特許文献1の撮像装置は、待機状態のときにワイパーがレンズに接触しておらず、レンズ表面の付着物を拭き取る際には、ワイパーがレンズとレンズ鏡胴の境界部を跨ぐような動きになる。このため、レンズとレンズ鏡胴との境界部の段差による凹みの奥にワイパーゴムが届かず、レンズを的確に拭き取れない。これに対して、段差部を無くすように、レンズおよびレンズ鏡胴を覆うカバーガラスを備えることも考えられるが、カバーガラスを備える場合の防水構造が複雑になるなど、さらに大型化し、高コストになる。
【0006】
本開示は、装置の大型化を抑制しつつ、レンズ表面の付着物を的確に拭き取ることができる撮像装置を提供することを目的とする。
【課題を解決するための手段】
【0007】
本開示の1つの観点における撮像装置は、
収容容器(10~30)と、
前記収容容器に収容され、一面を露出面として前記収容容器の外部に露出させられると共に前記外部の光を取り込むレンズ(80)と、
前記レンズよりも前記収容容器の内側に配置され、前記レンズで取り込まれた光に基づいて前記外部の撮影を行うイメージャ(60)と、
前記レンズよりも前記収容容器の内側に配置され、前記イメージャの制御を行うイメージャ基板(70)と、
前記レンズの露出面を拭うレンズワイパー(145)を含むワイパー装置(140)と、を有し、
前記レンズワイパーは、ワイパーゴムおよびワイパーブレードを有するワイパー部(145c)を含み、前記ワイパー部は、前記ワイパー装置の駆動を停止している待機状態において、前記レンズの露出面上に位置し、前記レンズへの入光を部分的に阻害している。
【0008】
このように、レンズの前面にレンズワイパーのワイパー部を配置しており、レンズの表面を拭き取れるようにしている。このため、レンズワイパーにより、レンズの表面の付着物、例えば雨滴を均したり、汚れを除去したりできる。そして、レンズワイパーの待機状態においても、ワイパー部をレンズへの入光を阻害する位置とし、レンズの露出面に位置させている。このため、ワイパー部によるレンズの表面の拭き取りについて、レンズとレンズ固定部との境界部を跨ぐような状態にならず、レンズの表面を的確に拭き取ることが可能となる。また、表面を面一にするためにレンズとレンズ固定部の前面にカバーガラスを備えたりしないため、大型化も抑制でき、コスト増大も抑制できる。したがって、装置の大型化を抑制しつつ、レンズの表面の付着物を的確に拭き取ることが可能な撮像装置にできる。
【0009】
なお、各構成要素等に付された括弧付きの参照符号は、その構成要素等と後述する実施形態に記載の具体的な構成要素等との対応関係の一例を示すものである。
【図面の簡単な説明】
【0010】
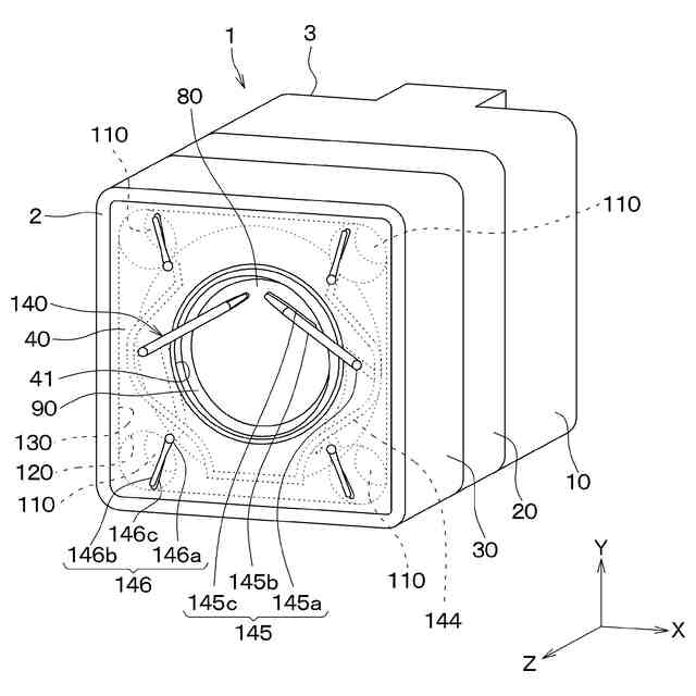
本開示の第1実施形態にかかるカメラ装置が適用されるカメラシステムのブロック図である。
第1実施形態にかかるカメラ装置の斜視図である。
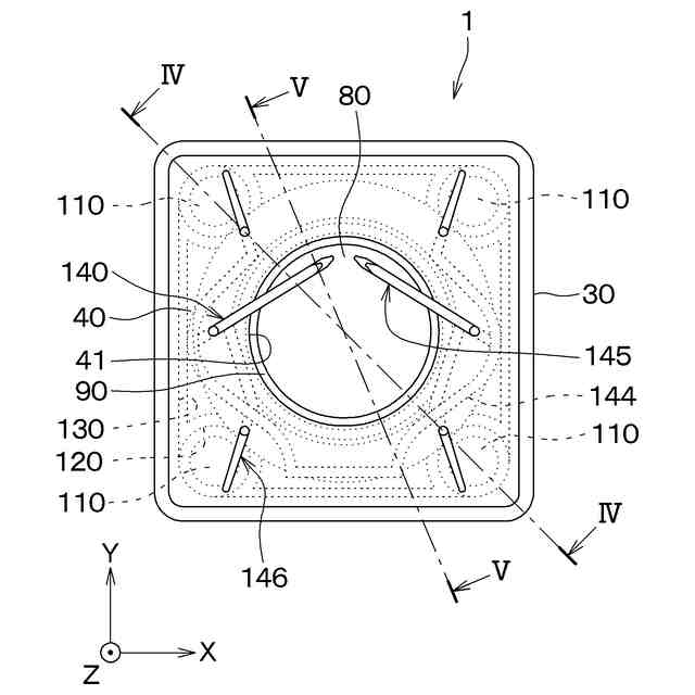
図1に示すカメラ装置の正面図である。
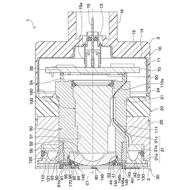
図3のIV-IV線上で切断した断面図である。
図3のV-V線上で切断した断面図である。
図2に示すカメラ装置の分解図である。
レンズワイパーの可動範囲とイメージャの配置関係を示した図である。
本開示の第2実施形態にかかるカメラ装置の斜視図である。
図8に示すカメラ装置の正面図である。
図9のX-X線上で切断した断面図である。
図9のXI-XI線上で切断した断面図である。
図9のXII-XII線上で切断した断面図である。
図8に示すカメラ装置の分解図である。
待機状態と交換モードでのワイパー部の交換の様子を示した図である。
本開示の第3実施形態にかかるカメラ装置の斜視図である。
図15に示すカメラ装置の正面図である。
図16のXVII-XVII線上で切断した断面図である。
図16のXVIII-XVIII線上で切断した断面図である。
図15に示すカメラ装置の分解図である。
【発明を実施するための形態】
(【0011】以降は省略されています)
この特許をJ-PlatPat(特許庁公式サイト)で参照する
関連特許
株式会社デンソー
端子台
13日前
株式会社デンソー
分離体
19日前
株式会社デンソー
電動機
11日前
株式会社デンソー
ロータ
6日前
株式会社デンソー
ロータ
6日前
株式会社デンソー
電動弁
1か月前
株式会社デンソー
撮像装置
1か月前
株式会社デンソー
トランス
11日前
株式会社デンソー
摺動機構
1か月前
株式会社デンソー
摺動機構
1か月前
株式会社デンソー
光学部材
11日前
株式会社デンソー
熱交換器
1か月前
株式会社デンソー
電気回路
27日前
株式会社デンソー
電子装置
11日前
株式会社デンソー
光学部材
19日前
株式会社デンソー
電子装置
1か月前
株式会社デンソー
電解装置
1か月前
株式会社デンソー
撮像装置
1か月前
株式会社デンソー
制御装置
1か月前
株式会社デンソー
整流回路
4日前
株式会社デンソー
電子装置
1か月前
株式会社デンソー
光学部材
19日前
株式会社デンソー
回転電機
4日前
株式会社デンソー
半導体装置
1か月前
株式会社デンソー
半導体装置
19日前
株式会社デンソー
半導体装置
1か月前
株式会社デンソートリム
鞍乗り車両
1か月前
株式会社デンソー
ヒータ装置
1か月前
株式会社デンソー
電磁継電器
11日前
株式会社デンソーエレクトロニクス
電磁継電器
5日前
株式会社デンソー
レーダ装置
5日前
株式会社デンソー
センサ装置
1か月前
株式会社デンソー
音低減装置
4日前
株式会社デンソー
センサ装置
1か月前
株式会社デンソー
熱交換部材
1か月前
株式会社デンソー
半導体装置
1か月前
続きを見る
他の特許を見る