TOP
|
特許
|
意匠
|
商標
特許ウォッチ
Twitter
他の特許を見る
10個以上の画像は省略されています。
公開番号
2025165583
公報種別
公開特許公報(A)
公開日
2025-11-05
出願番号
2024069718
出願日
2024-04-23
発明の名称
電解装置
出願人
株式会社デンソー
代理人
弁理士法人あいち国際特許事務所
主分類
C25B
9/00 20210101AFI20251028BHJP(電気分解または電気泳動方法;そのための装置)
要約
【課題】内側領域の温度上昇を抑制することができる、電解装置を提供すること。
【解決手段】電解質層と、第1電極21と、第2電極と、第1流路と、を備えた電解セルと、第2流路と、第1電極に当接すると共に第1流路を形成する流路形成導体5と、を有し、流路形成導体5を介して第1電極21と第2電極との間に電圧を印加することで、反応流体Fを電気分解して、水素を生成するよう構成された、電解装置1。第1面の法線方向Zから見て、第1電極21を、第1電極21の外周端辺を含む外周領域A1と、外周領域A1の内側の内側領域A2とに分け、内側領域A2の外形は、第1電極21の外形の相似形であって、内側領域A2の面積を第1電極21の面積の半分とし、電解セルにおける電気分解反応に伴う単位面積当たりの吸熱量を吸熱密度としたとき、外周領域A1における吸熱密度の平均値よりも、内側領域A2における吸熱密度の平均値の方が大きい。
【選択図】図2
特許請求の範囲
【請求項1】
電解質層(20)と、前記電解質層の第1面に設けた第1電極(21)と、前記電解質層の前記第1面と反対側の第2面に設けた第2電極(22)と、を備えた電解セル(2)と、
前記第1電極に面する第1流路(3)と、
前記第2電極に面する第2流路(4)と、
前記第1電極に当接すると共に前記第1流路を形成する流路形成導体(5)と、を有し、
前記流路形成導体を介して前記第1電極と前記第2電極との間に電圧を印加することで、前記第1流路を流通すると共に前記第1電極に供給される反応流体(F)を電気分解して、水素を生成するよう構成された、電解装置(1)であって、
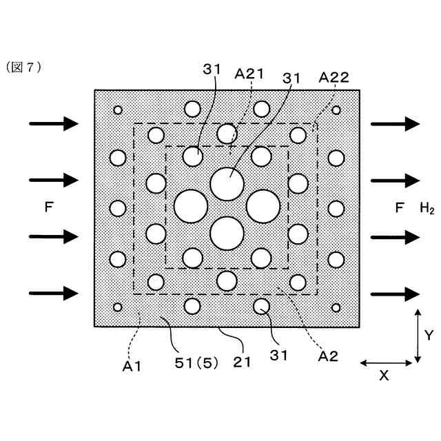
前記第1面の法線方向(Z)から見て、前記第1電極を、前記第1電極の外周端辺を含む外周領域(A1)と、前記外周領域の内側の内側領域(A2)とに分け、前記内側領域の外形は、前記第1電極の外形の相似形であって、前記内側領域の面積を記第1電極の面積の半分とし、
前記電解セルにおける電気分解反応に伴う単位面積当たりの吸熱量を吸熱密度としたとき、
前記外周領域における吸熱密度の平均値よりも、前記内側領域における吸熱密度の平均値の方が大きい、電解装置。
続きを表示(約 1,100 文字)
【請求項2】
前記第1面の法線方向から見て、前記第1電極を、前記第1流路の流路方向に直交する幅方向(Y)に三等分して、中央領域(B2)と、前記中央領域を幅方向に挟む2つの側方領域(B1、B3)とに分けたとき、前記側方領域における吸熱密度の平均値よりも、前記中央領域における吸熱密度の平均値の方が大きい、請求項1に記載の電解装置。
【請求項3】
前記第1面の法線方向から見て、前記第1電極を、前記第1流路の流路方向に三等分して、上流領域(C1)と、中流領域(C2)と、下流領域(C3)とに分けたとき、前記上流領域における吸熱密度の平均値及び前記下流領域における吸熱密度の平均値よりも、前記中流領域における吸熱密度の平均値の方が大きい、請求項1又は2に記載の電解装置。
【請求項4】
前記上流領域における吸熱密度の平均値よりも、前記下流領域における吸熱密度の平均値の方が大きい、請求項3に記載の電解装置。
【請求項5】
前記内側領域を、互いに外形が相似形であり、かつ面積が同等の、第1内側領域(A21)と該第1内側領域を囲む第2内側領域(A22)とに分けたとき、前記第2内側領域における吸熱密度の平均値よりも、前記第1内側領域における吸熱密度の平均値の方が大きい、請求項1又は2に記載の電解装置。
【請求項6】
前記流路形成導体は、前記第1流路と前記第1電極との間を仕切る仕切板(51)を有し、該仕切板には、複数の開口孔(31)が形成されており、前記第1面の法線方向から見たとき、複数の前記開口孔による開口率を、複数の領域の間で異ならせることで、複数の領域における吸熱密度の平均値に差を設けている、請求項1又は2に記載の電解装置。
【請求項7】
前記開口孔の数密度を、複数の領域の間で異ならせている、請求項6に記載の電解装置。
【請求項8】
前記流路形成導体は、前記第1電極に当接する複数の突起部(53)を有し、前記第1面の法線方向から見たとき、複数の前記突起部の占有率を、複数の領域の間で異ならせることで、複数の領域における吸熱密度の平均値に差を設けている、請求項1又は2に記載の電解装置。
【請求項9】
前記第1流路の高さを、複数の領域の間で異ならせることで、複数の領域における吸熱密度の平均値に差を設けている、請求項1又は2に記載の電解装置。
【請求項10】
前記第1電極は、多孔質電極材からなり、前記第1電極の気孔率を、複数の領域の間で異ならせることで、複数の領域における吸熱密度の平均値に差を設けている、請求項1又は2に記載の電解装置。
発明の詳細な説明
【技術分野】
【0001】
本発明は、電解装置に関する。
続きを表示(約 2,700 文字)
【背景技術】
【0002】
燃料電池や水素生成デバイス等を構成する電気化学セルスタックにおいては、電解質層の一方の面と他方の面とに、それぞれ電極が設けられている。そして、例えば、燃料電池においては、一方の電極に燃料が供給され、電極において電気化学反応を生じさせることで、発電が行われる。特許文献1に記載の燃料電池においては、複数の開口孔を備えた金属プレートが、セルにおける上記一方の電極側を支持しており、当該開口孔から燃料が電極へ供給されるよう構成されている。また、開口孔の形成密度(すなわち開口率)が、全面にわたり均一となっている。
【先行技術文献】
【特許文献】
【0003】
米国特許第6972161号明細書
【発明の概要】
【発明が解決しようとする課題】
【0004】
しかしながら、反応流体を電気分解して水素を生成する電解装置において、セルの中央付近の温度が高くなりすぎる場合があり得る、という課題がある。すなわち、供給される電流密度が高くなると、ジュール熱が大きくなる。そして、セルの内側領域において発生した熱は、周囲に放熱され難いため、内側領域の温度上昇が懸念される。このように、電解装置においては、内側領域の温度が、外周領域に比べて高くなりすぎる場合があるという課題がある。
【0005】
本発明は、かかる課題に鑑みてなされたものであり、内側領域の温度上昇を抑制することができる、電解装置を提供しようとするものである。
【課題を解決するための手段】
【0006】
本発明の一態様は、電解質層(20)と、前記電解質層の第1面に設けた第1電極(21)と、前記電解質層の前記第1面と反対側の第2面に設けた第2電極(22)と、を備えた電解セル(2)と、
前記第1電極に面する第1流路(3)と、
前記第2電極に面する第2流路(4)と、
前記第1電極に当接すると共に前記第1流路を形成する流路形成導体(5)と、を有し、
前記流路形成導体を介して前記第1電極と前記第2電極との間に電圧を印加することで、前記第1流路を流通すると共に前記第1電極に供給される反応流体(F)を電気分解して、水素を生成するよう構成された、電解装置(1)であって、
前記第1面の法線方向(Z)から見て、前記第1電極を、前記第1電極の外周端辺を含む外周領域(A1)と、前記外周領域の内側の内側領域(A2)とに分け、前記内側領域の外形は、前記第1電極の外形の相似形であって、前記内側領域の面積を記第1電極の面積の半分とし、
前記電解セルにおける電気分解反応に伴う単位面積当たりの吸熱量を吸熱密度としたとき、
前記外周領域における吸熱密度の平均値よりも、前記内側領域における吸熱密度の平均値の方が大きい、電解装置にある。
【発明の効果】
【0007】
上記態様の電解装置においては、前記外周領域における吸熱密度の平均値よりも、前記内側領域における吸熱密度の平均値の方が大きい。これにより、内側領域における温度上昇を抑制することができる。
【0008】
以上のごとく、上記態様によれば、内側領域の温度上昇を抑制することができる、電解装置を提供することができる。
なお、特許請求の範囲及び課題を解決する手段に記載した括弧内の符号は、後述する実施形態に記載の具体的手段との対応関係を示すものであり、本発明の技術的範囲を限定するものではない。
【図面の簡単な説明】
【0009】
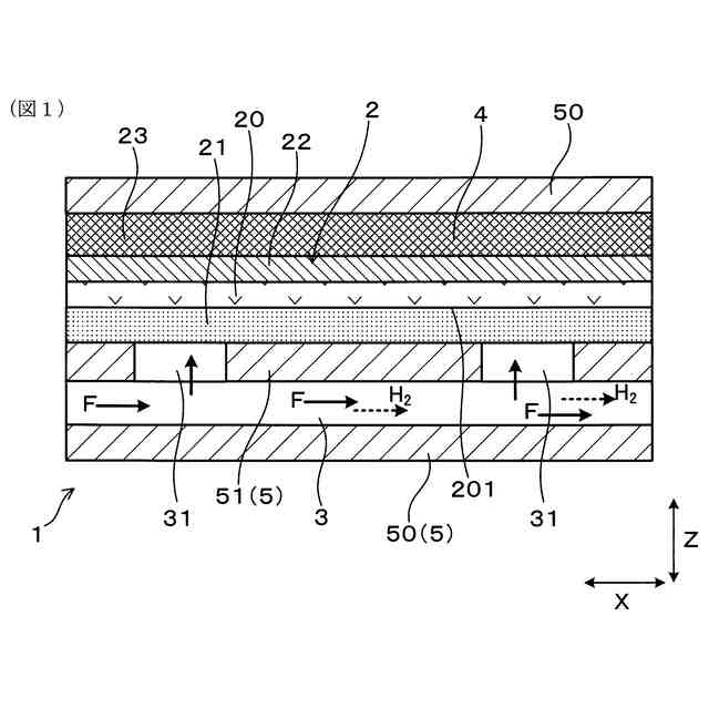
実施形態1における、電解装置の一部の断面説明図。
実施形態1における、外周領域及び内側領域を示した、Z方向から見た流路形成導体の仕切板の平面図。
実施形態1における、電解セルに供給される電流密度と電解セルの発熱量との関係の概略を示す線図。
実施形態1における、電解セルの稼働時の電流密度の分布、ジュール熱の分布、反応熱の分布をそれぞれ示す線図。
実施形態1における、中央領域及び側方領域を示した、Z方向から見た流路形成導体の仕切板の平面図。
実施形態1における、上流領域、中流領域、下流領域を示した、Z方向から見た流路形成導体の仕切板の平面図。
実施形態1における、外周領域、第1内側領域、第2内側領域を示した、Z方向から見た流路形成導体の仕切板の平面図。
実施形態2における、外周領域及び内側領域を示した、Z方向から見た流路形成導体の仕切板の平面図。
比較形態1における、Z方向から見た流路形成導体の仕切板の平面図。
実験例1において解析した、比較形態1の電解装置についての温度分布のコンター図。
実験例1において解析した、実施形態2の電解装置についての温度分布のコンター図。
実験例1において解析した、図10、図11に示す破線L1に沿った各物理量の分布を示す線図。
実験例1において解析した、図10、図11に示す破線L2に沿った各物理量の分布を示す線図。
実施形態3における、外周領域及び内側領域を示した、Z方向から見た流路形成導体の平面図。
実施形態4における、外周領域及び内側領域を示した、Z方向から見た流路形成導体の仕切板の平面図。
図15のXVI-XVI線矢視断面相当の、流路形成導体と第1電極の断面説明図。
実施形態5における、外周領域及び内側領域を示した、Z方向から見た流路形成導体の平面図。
実施形態6における、流路形成導体と第1電極の断面説明図。
実施形態7における、流路形成導体と第1電極の断面説明図。
実施形態8における、流路形成導体と第1電極の断面説明図。
実施形態8の変形例における、流路形成導体と第1電極の断面説明図。
実施形態9における、流路形成導体と第1電極の断面説明図。
実施形態10における、外周領域、内側領域、上流領域、中流領域、下流領域を示した、Z方向から見た流路形成導体の平面図。
【発明を実施するための形態】
【0010】
(実施形態1)
電解装置に係る実施形態について、図1~図7を参照して説明する。
本形態の電解装置1は、図1に示すごとく、電解セル2と、第1流路3と、第2流路4と、流路形成導体5と、を有する。電解セル2は、電解質層20と、第1電極21と、第2電極22とを備える。
(【0011】以降は省略されています)
この特許をJ-PlatPat(特許庁公式サイト)で参照する
関連特許
株式会社デンソーウェーブ
筐体
1か月前
株式会社デンソー
回転機
1か月前
株式会社デンソー
端子台
1日前
株式会社デンソー
電動弁
21日前
株式会社デンソー
分離体
7日前
株式会社デンソー
撮像装置
20日前
株式会社デンソー
電子装置
1か月前
株式会社デンソー
電気回路
15日前
株式会社デンソー
光学部材
7日前
株式会社デンソー
光学部材
7日前
株式会社デンソー
電解装置
22日前
株式会社デンソー
電子装置
21日前
株式会社デンソー
制御装置
23日前
株式会社デンソー
熱交換器
20日前
株式会社デンソー
摺動機構
20日前
株式会社デンソー
摺動機構
20日前
株式会社デンソー
検出装置
1か月前
株式会社デンソー
撮像装置
20日前
株式会社デンソー
熱交換部材
22日前
株式会社デンソー
半導体装置
20日前
株式会社デンソー
半導体装置
22日前
株式会社デンソー
センサ装置
28日前
株式会社デンソー
センサ装置
28日前
株式会社デンソー
ヒータ装置
29日前
株式会社デンソートリム
鞍乗り車両
29日前
株式会社デンソー
半導体装置
1か月前
株式会社デンソー
半導体装置
7日前
株式会社デンソー
熱交換装置
1か月前
株式会社デンソー
半導体装置
1か月前
株式会社デンソー
電流センサ
1か月前
株式会社デンソー
電圧検出回路
1か月前
株式会社デンソーテン
車載表示装置
20日前
株式会社デンソー
電子制御装置
20日前
株式会社デンソー
電力変換装置
1か月前
株式会社デンソー
電気化学セル
20日前
株式会社デンソー
電気化学セル
20日前
続きを見る
他の特許を見る