TOP
|
特許
|
意匠
|
商標
特許ウォッチ
Twitter
他の特許を見る
公開番号
2025167889
公報種別
公開特許公報(A)
公開日
2025-11-07
出願番号
2024072886
出願日
2024-04-26
発明の名称
電気化学セル
出願人
株式会社デンソー
代理人
弁理士法人あいち国際特許事務所
主分類
H01M
8/126 20160101AFI20251030BHJP(基本的電気素子)
要約
【課題】作動時に、燃料極層と接する電解質本体層が高温、還元性雰囲気にさらされた場合であっても、電解質本体層の還元膨張を低減可能な電気化学セルを提供する。
【解決手段】電気化学セル1は、燃料極層2、固体電解質層3、空気極層4をこの順に有する。固体電解質層3の電解質本体層31は、蛍石構造を有し、Ce
1-x
(RE)
x
O
2-x/2
(但し、0.05≦x≦0.2、RE元素はGd及び/又はSm)で示される固体電解質材料中に、Zn、Mg、Ca、Sr、La、及び、Yからなる群より選択される少なくとも1種の元素Mを含有するM含有酸化物を含む複合電解質材料より構成される。複合電解質材料は、4×(2-x/2)の式による平均酸素配位数N
AVE
、EXAFSスペクトル解析により求めた、Ce周りの酸素配位数N
Ce
、RE元素周りの酸素配位数N
RE
が、0<N
AVE
-(N
Ce
+N
RE
)/2を満たす。
【選択図】図1
特許請求の範囲
【請求項1】
燃料が供給される電極である燃料極層(2)と、酸素イオン伝導性を有する固体電解質層(3)と、前記燃料極層と対をなす電極である空気極層(4)とをこの順に有する電気化学セル(1)であって、
前記固体電解質層は、前記燃料極層と接する電解質本体層(31)を有しており、
前記電解質本体層は、
蛍石構造を有し、Ce
1-x
(RE)
x
O
2-x/2
(但し、xは0.05以上0.2以下、RE元素はGdおよびSmのうち少なくとも一方)で示される固体電解質材料中に、Zn、Mg、Ca、Sr、La、および、Yからなる群より選択される少なくとも1種の元素Mを含有するM含有酸化物を含む複合電解質材料より構成されており、
前記複合電解質材料は、
前記Ce
1-x
(RE)
x
O
2-x/2
の組成式において4×(2-x/2)の式から計算される平均酸素配位数をN
AVE
、EXAFSスペクトル解析により求めた、Ce周りの酸素配位数をN
Ce
、RE元素周りの酸素配位数をN
RE
としたとき、
0<N
AVE
-(N
Ce
+N
RE
)/2を満たす、
電気化学セル(1)。
続きを表示(約 1,000 文字)
【請求項2】
前記複合電解質材料は、
0.15<N
AVE
-(N
Ce
+N
RE
)/2を満たす、
請求項1に記載の電気化学セル。
【請求項3】
前記複合電解質材料は、
0.15<N
AVE
-(N
Ce
+N
RE
)/2<0.4を満たす、
請求項1に記載の電気化学セル。
【請求項4】
前記複合電解質材料は、
前記EXAFSスペクトル解析により求めたCeとOとの結合距離L
Ce-O
が2.341Å以上である、
請求項1に記載の電気化学セル。
【請求項5】
前記燃料極層は、前記複合電解質材料を含む、
請求項1から請求項4のいずれか1項に記載の電気化学セル。
【請求項6】
前記燃料極層における前記固体電解質層側とは反対側に前記燃料極層に接する燃料拡散層(5)を有しており、
前記燃料拡散層は、前記複合電解質材料を含む、
請求項1から請求項4のいずれか1項に記載の電気化学セル。
【請求項7】
前記燃料極層に含まれる前記複合電解質材料における前記固体電解質材料に含まれるCeのモル数に対する元素Mのモル数の割合は、前記電解質本体層に含まれる前記複合電解質材料における前記固体電解質材料に含まれるCeのモル数に対する元素Mのモル数の割合よりも少ない、
請求項5に記載の電気化学セル。
【請求項8】
前記燃料拡散層に含まれる前記複合電解質材料における前記固体電解質材料に含まれるCeのモル数に対する元素Mのモル数の割合は、前記電解質本体層に含まれる前記複合電解質材料における前記固体電解質材料に含まれるCeのモル数に対する元素Mのモル数の割合よりも少ない、
請求項6に記載の電気化学セル。
【請求項9】
前記固体電解質層と前記空気極層との間に中間層(6)を有しており、
前記中間層は、前記複合電解質材料を含む、
請求項1から請求項4のいずれか1項に記載の電気化学セル。
【請求項10】
固体酸化物形燃料電池セルおよび固体酸化物形電解セルのうち少なくとも一方として用いられる、
請求項1から請求項4のいずれか1項に電気化学セル。
発明の詳細な説明
【技術分野】
【0001】
本発明は、電気化学セルに関する。
続きを表示(約 2,800 文字)
【背景技術】
【0002】
従来、酸素イオン伝導性を有する固体電解質層を電解質層とする電気化学セルが知られている。この種の電気化学セルとしては、固体酸化物形燃料電池セル(Solid Oxide Fuel Cell:以下、SOFCということがある。)や固体酸化物形電解セル(Solid Oxide Electrochemical Cell:以下、SOECということがある。)などが挙げられる。
【0003】
例えば、特許文献1には、セリア系母材の表面に、MCe(1-x)R(x)O(3-α)(Mはアルカリ土類元素を表し、Rは希土類元素又はZn、Mn又はInを表す。また0.05≦x≦0.20である。)のペロブスカイト型結晶構造を有する酸化物層が形成されてなるセリア系固体電解質を用いたSOFCが開示されている。同文献には、上記セリア系固体電解質を用いることにより、還元性ガスにさらされた特に過酷な環境下である燃料極側においてセリウムの還元が抑制される点が記載されている。
【先行技術文献】
【特許文献】
【0004】
特開2005-243473号公報
【発明の概要】
【発明が解決しようとする課題】
【0005】
従来技術には、次の課題がある。特許文献1において、ペロブスカイト型結晶構造を有する酸化物層中のCeは4価であり、このCe原子は高温・還元雰囲気にさらされると3価に変化する。そのため、特許文献1の技術では、固体電解質層の還元膨張抑制効果が十分ではない。
【0006】
本発明は、かかる課題に鑑みてなされたものであり、作動時に、燃料極層と接する電解質本体層が高温、還元性雰囲気にさらされた場合であっても、電解質本体層の還元膨張を低減することが可能な電気化学セルを提供しようとするものである。
【課題を解決するための手段】
【0007】
本発明の一態様は、
燃料が供給される電極である燃料極層(2)と、酸素イオン伝導性を有する固体電解質層(3)と、前記燃料極層と対をなす電極である空気極層(4)とをこの順に有する電気化学セル(1)であって、
前記固体電解質層は、前記燃料極層と接する電解質本体層(31)を有しており、
前記電解質本体層は、
蛍石構造を有し、Ce
1-x
(RE)
x
O
2-x/2
(但し、xは0.05以上0.2以下、RE元素はGdおよびSmのうち少なくとも一方)で示される材料中に、Zn、Mg、Ca、Sr、La、および、Yからなる群より選択される少なくとも1種の元素Mを含有するM含有酸化物を含む複合電解質材料より構成されており、
前記複合電解質材料は、
前記Ce
1-x
(RE)
x
O
2-x/2
の組成式において4×(2-x/2)の式から計算される平均酸素配位数をN
AVE
、EXAFSスペクトル解析により求めた、Ce周りの酸素配位数をN
Ce
、RE元素周りの酸素配位数をN
RE
としたとき、
0<N
AVE
-(N
Ce
+N
RE
)/2を満たす、
電気化学セル(1)にある。
【発明の効果】
【0008】
上記電気化学セルは、上記構成を有する。そのため、上記電気化学セルは、その作動時に、燃料極層と接する電解質本体層が高温、還元性雰囲気にさらされた場合であっても、電解質本体層の還元膨張を低減することができる。
【0009】
なお、特許請求の範囲および課題を解決する手段に記載した括弧内の符号は、後述する実施形態に記載の具体的手段との対応関係を示すものであり、本発明の技術的範囲を限定するものではない。
【図面の簡単な説明】
【0010】
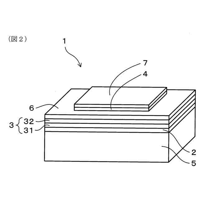
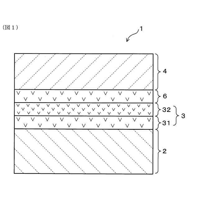
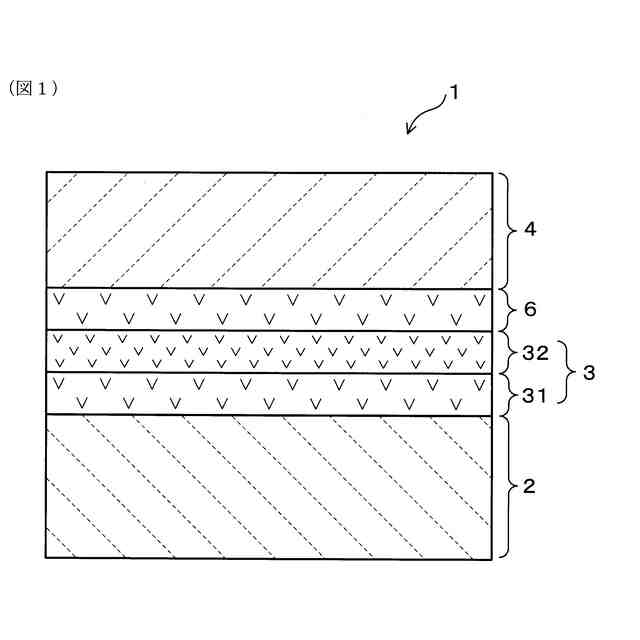
図1は、実施形態に係る電気化学セルの積層構造の一例を模式的に示した説明図である。
図2は、実施形態に係る電気化学セルの積層構造の別の一例を模式的に示した説明図である。
図3は、実験例1にて作製した試料4および試料9の電気化学セルにおける電解質本体層、CeO
2
、および、Ce
0.9
Gd
0.1
O
1.95
のCe-K吸収端EXAFSスペクトルを示した図である。
図4は、実験例1にて作製した試料4および試料9の電気化学セルにおける電解質本体層、CeO
2
、および、Ce
0.9
Gd
0.1
O
1.95
のCe-K吸収端動径構造関数を示した図である。
図5は、実験例1にて作製した試料4および試料9の電気化学セルにおける電解質本体層、Gd
2
O
3
、および、Ce
0.9
Gd
0.1
O
1.95
のGd-K吸収端EXAFSスペクトルを示した図である。
図6は、実験例1にて作製した試料4および試料9の電気化学セルにおける電解質本体層、Gd
2
O
3
、および、Ce
0.9
Gd
0.1
O
1.95
のGd-K吸収端動径構造関数を示した図である。
図7は、実験例1において得られた、電解質本体層の複合電解質材料におけるN
AVE
-{(N
Ce
+N
RE
)/2}(横軸)と、電解質本体層の線膨張係数(×10
-6
/K、4体積%H
2
、温度650℃)(縦軸)との関係を示した図である。
図8は、実験例1において得られた、電解質本体層の複合電解質材料におけるN
AVE
-{(N
Ce
+N
RE
)/2}(横軸)と、電解質本体層の線膨張係数(×10
-6
/K、4体積%H
2
、温度700℃)(縦軸)との関係を示した図である。
図9は、実験例2において得られた、電解質本体層の複合電解質材料におけるL
Ce-O
(横軸)と、電解質本体層の酸素イオン伝導率(×10
-2
S/cm、温度650℃)(縦軸)との関係を示した図である。
【発明を実施するための形態】
(【0011】以降は省略されています)
この特許をJ-PlatPat(特許庁公式サイト)で参照する
関連特許
株式会社デンソー
分離体
15日前
株式会社デンソー
ロータ
2日前
株式会社デンソー
電動機
7日前
株式会社デンソー
端子台
9日前
株式会社デンソー
ロータ
2日前
株式会社デンソー
電動弁
29日前
株式会社デンソー
摺動機構
28日前
株式会社デンソー
撮像装置
28日前
株式会社デンソー
撮像装置
28日前
株式会社デンソー
電気回路
23日前
株式会社デンソー
整流回路
今日
株式会社デンソー
摺動機構
28日前
株式会社デンソー
制御装置
1か月前
株式会社デンソー
光学部材
15日前
株式会社デンソー
光学部材
15日前
株式会社デンソー
熱交換器
28日前
株式会社デンソー
電子装置
1か月前
株式会社デンソー
トランス
7日前
株式会社デンソー
光学部材
7日前
株式会社デンソー
電子装置
7日前
株式会社デンソー
電解装置
1か月前
株式会社デンソー
電子装置
29日前
株式会社デンソー
回転電機
今日
株式会社デンソー
半導体装置
1か月前
株式会社デンソー
半導体装置
1か月前
株式会社デンソー
センサ装置
1か月前
株式会社デンソー
ヒータ装置
1か月前
株式会社デンソー
半導体装置
15日前
株式会社デンソー
音低減装置
今日
株式会社デンソー
半導体装置
28日前
株式会社デンソー
熱交換装置
1か月前
株式会社デンソー
電磁継電器
7日前
株式会社デンソートリム
鞍乗り車両
1か月前
株式会社デンソー
半導体装置
1か月前
株式会社デンソーエレクトロニクス
電磁継電器
1日前
株式会社デンソー
熱交換部材
1か月前
続きを見る
他の特許を見る