TOP
|
特許
|
意匠
|
商標
特許ウォッチ
Twitter
他の特許を見る
公開番号
2025167816
公報種別
公開特許公報(A)
公開日
2025-11-07
出願番号
2024072749
出願日
2024-04-26
発明の名称
摺動機構
出願人
株式会社デンソー
,
トヨタ自動車株式会社
,
株式会社ミライズテクノロジーズ
代理人
弁理士法人ゆうあい特許事務所
主分類
C10M
103/06 20060101AFI20251030BHJP(石油,ガスまたはコークス工業;一酸化炭素を含有する工業ガス;燃料;潤滑剤;でい炭)
要約
【課題】固体潤滑膜を有する摺動機構において、従来よりも耐摩耗性を向上する技術を提供すること。
【解決手段】摺動機構(10)は、第一摺動体(11)と第二摺動体(12)とが非転動態様にて摺動する構成を有している。第一摺動体は、遷移金属カルコゲナイドによって形成された第一固体潤滑膜(112)を有している。第二摺動体は、遷移金属カルコゲナイドによって形成された第二固体潤滑膜(122)を有している。また、かかる摺動機構は、第一固体潤滑膜と第二固体潤滑膜とが摺動するように構成されている。そして、第一固体潤滑膜は、第二固体潤滑膜よりも高硬度に形成されている。あるいは、第一固体潤滑膜は、第二固体潤滑膜よりも、添加元素濃度が高くなるように形成されている。
【選択図】図1
特許請求の範囲
【請求項1】
第一摺動体(11)と第二摺動体(12)とが非転動態様にて摺動する、摺動機構(10)であって、
前記第一摺動体は、遷移金属カルコゲナイドによって形成された第一固体潤滑膜(112)を有し、
前記第二摺動体は、遷移金属カルコゲナイドによって形成された第二固体潤滑膜(122)を有し、
前記第一固体潤滑膜と前記第二固体潤滑膜とが摺動するように構成され、
前記第一固体潤滑膜は、前記第二固体潤滑膜よりも高硬度に形成された、
摺動機構。
続きを表示(約 700 文字)
【請求項2】
前記第一固体潤滑膜および前記第二固体潤滑膜は、二硫化モリブデン膜であり、
前記第一固体潤滑膜と前記第二固体潤滑膜との硬度差が0.9~3.7GPaである、
請求項1に記載の摺動機構。
【請求項3】
第一摺動体(11)と第二摺動体(12)とが非転動態様にて摺動する、摺動機構(10)であって、
前記第一摺動体は、遷移金属カルコゲナイドによって形成された第一固体潤滑膜(112)を有し、
前記第二摺動体は、遷移金属カルコゲナイドによって形成された第二固体潤滑膜(122)を有し、
前記第一固体潤滑膜と前記第二固体潤滑膜とが摺動するように構成され、
前記第一固体潤滑膜は、前記第二固体潤滑膜よりも、添加元素濃度が高い、
摺動機構。
【請求項4】
前記第一固体潤滑膜および前記第二固体潤滑膜は、二硫化モリブデン膜であり、
前記第一固体潤滑膜と前記第二固体潤滑膜との添加チタン濃度差が9~11at%である、
請求項3に記載の摺動機構。
【請求項5】
前記第一固体潤滑膜と前記第二固体潤滑膜とが摺動する摺動部分(SA)は、前記第一固体潤滑膜の表面である第一面(113)にて不動である一方、前記第二固体潤滑膜の表面である第二面(123)にて可動である、
請求項1~4のいずれか1つに記載の摺動機構。
【請求項6】
前記第一摺動体は、前記摺動部分にて、前記第一面の曲率が前記第二面よりも大きくなるような凸形状を有する、
請求項5に記載の摺動機構。
発明の詳細な説明
【技術分野】
【0001】
本発明は、摺動機構に関するものである。
続きを表示(約 2,100 文字)
【背景技術】
【0002】
摺動による摩耗を防止するための固体潤滑膜として、二硫化モリブデン系の材料を用いたものが知られている(例えば特許文献1等参照)。
【先行技術文献】
【特許文献】
【0003】
特開2008-95051号公報
【発明の概要】
【発明が解決しようとする課題】
【0004】
例えば、摺動する2面の双方に二硫化モリブデン系の固体潤滑膜を単に形成しただけでは、耐摩耗性の向上効果に限界がある。よって、摺動機構における寿命を延ばすためには、さらなる耐摩耗性の向上が必要である。本発明は、上記に例示した事情等に鑑みてなされたものである。すなわち、本発明は、例えば、固体潤滑膜を有する摺動機構において、従来よりも耐摩耗性を向上する技術を提供するものである。
【課題を解決するための手段】
【0005】
摺動機構(10)は、第一摺動体(11)と第二摺動体(12)とが非転動態様にて摺動する構成を有している。前記第一摺動体は、遷移金属カルコゲナイドによって形成された第一固体潤滑膜(112)を有している。前記第二摺動体は、遷移金属カルコゲナイドによって形成された第二固体潤滑膜(122)を有している。そして、かかる摺動機構は、前記第一固体潤滑膜と前記第二固体潤滑膜とが摺動するように構成されている。
請求項1に記載の摺動機構においては、前記第一固体潤滑膜は、前記第二固体潤滑膜よりも高硬度に形成されている。
請求項3に記載の摺動機構においては、前記第一固体潤滑膜は、前記第二固体潤滑膜よりも、添加元素濃度が高くなるように形成されている。
【0006】
なお、出願書類中の各欄において、各要素に括弧付きの参照符号が付されている場合がある。この場合、参照符号は、同要素と後述する実施形態に記載の具体的構成との対応関係の単なる一例を示すものである。よって、本発明は、参照符号の記載によって、何ら限定されるものではない。
【図面の簡単な説明】
【0007】
本発明の一実施形態に係る摺動機構の概略的な構成を示す断面図である。
図1に示された第一固体潤滑膜における仮想的な摩耗状態の概略を示す断面図である。
図1に示された第一固体潤滑膜と第二固体潤滑膜との硬度差と図2にて定義された摩耗幅との関係を示すグラフである。
図1に示された第一固体潤滑膜と第二固体潤滑膜との添加チタン濃度差と図2にて定義された摩耗幅との関係を示すグラフである。
【発明を実施するための形態】
【0008】
(実施形態)
以下、本開示の実施形態について、適宜図面を参照しつつ説明する。なお、以下の実施形態やその変形例およびこれらに関する図面の記載は、本開示の内容を簡潔に説明するために模式化あるいは簡略化されたものであって、これによって本開示の内容は何ら限定されるものではない。このため、図面の記載と、実際に製造販売される具体的な装置構成とは、必ずしも一致するとは限らないということは、云うまでもない。すなわち、出願人が本願の出願経過により明示的に限定しない限りにおいて、本開示は、図面の記載、および、これに対応して以下に説明する構成やその機能あるいは動作に関する記載によって限定的に解釈されてはならないことは、云うまでもない。
【0009】
(構成)
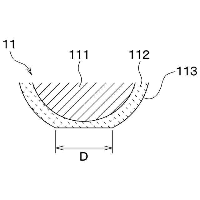
図1を参照すると、本実施形態に係る摺動機構10は、第一摺動体11と第二摺動体12とを備えていて、第一摺動体11と第二摺動体12とが非転動態様にて摺動する構成を有している。「非転動態様にて摺動する」とは、第一摺動体11と第二摺動体12とが、互いに接触しつつ、転がり摩擦の態様ではなく摺動摩擦の態様で相対移動することをいうものとする。図示および説明の簡略化のため、図1に示された通りの右手系XYZ座標系を設定する。また、Z軸方向を「高さ方向」と称し、XY平面内の任意の方向を「面内方向」と称する。そして、本実施形態においては、摺動機構10は、高さ方向に配列された第一摺動体11と第二摺動体12とが面内方向である摺動方向SDに沿って相対移動しつつ摺動するように構成されているものとする。摺動方向SDは、図1においては、Y軸と平行に図示されているが、X軸方向成分を有していてもよい。
【0010】
第一摺動体11は、第一基材111と第一固体潤滑膜112とを有している。第一基材111は、SUJ2等の軸受鋼の表面に窒化チタンからなる下地膜を形成したものであり、第一固体潤滑膜112は、かかる下地膜上に成膜されている。第一固体潤滑膜112は、遷移金属カルコゲナイドによって形成されている。本実施形態においては、第一固体潤滑膜112は、二硫化モリブデン膜である。第一固体潤滑膜112における、第二摺動体12と対向する表面を、第一面113と称する。
(【0011】以降は省略されています)
この特許をJ-PlatPat(特許庁公式サイト)で参照する
関連特許
株式会社デンソーウェーブ
筐体
1か月前
株式会社デンソー
端子台
2日前
株式会社デンソー
電動弁
22日前
株式会社デンソー
電動機
今日
株式会社デンソー
分離体
8日前
株式会社デンソー
回転機
1か月前
株式会社デンソー
光学部材
8日前
株式会社デンソー
光学部材
8日前
株式会社デンソー
電子装置
22日前
株式会社デンソー
ステータ
1か月前
株式会社デンソー
検出装置
1か月前
株式会社デンソー
ステータ
1か月前
株式会社デンソー
電解装置
23日前
株式会社デンソー
電子装置
1か月前
株式会社デンソー
電子装置
1か月前
株式会社デンソー
電子装置
1か月前
株式会社デンソー
反力装置
1か月前
株式会社デンソー
トランス
今日
株式会社デンソー
電気回路
16日前
株式会社デンソー
撮像装置
21日前
株式会社デンソー
光学部材
今日
株式会社デンソー
制御装置
24日前
株式会社デンソー
撮像装置
21日前
株式会社デンソー
摺動機構
21日前
株式会社デンソー
電子装置
今日
株式会社デンソー
摺動機構
21日前
株式会社デンソー
熱交換器
21日前
株式会社デンソー
熱交換部材
23日前
株式会社デンソー
センサ装置
29日前
株式会社デンソーテン
インバータ
1か月前
株式会社デンソー
半導体装置
1か月前
株式会社デンソー
半導体装置
1か月前
株式会社デンソートリム
鞍乗り車両
1か月前
株式会社デンソー
半導体装置
21日前
株式会社デンソー
レーダ装置
1か月前
株式会社デンソー
ヒータ装置
1か月前
続きを見る
他の特許を見る