TOP
|
特許
|
意匠
|
商標
特許ウォッチ
Twitter
他の特許を見る
10個以上の画像は省略されています。
公開番号
2025146421
公報種別
公開特許公報(A)
公開日
2025-10-03
出願番号
2024047180
出願日
2024-03-22
発明の名称
ステータ
出願人
株式会社デンソー
代理人
弁理士法人太陽国際特許事務所
主分類
H02K
3/34 20060101AFI20250926BHJP(電力の発電,変換,配電)
要約
【課題】巻回部の占積率が低下することを抑制することができるステータを提供する。
【解決手段】ステータ(10)は、複数のステータ構成部(12)によって構成され、各ステータ構成部は、環状の継鉄(20)を構成し、継鉄の周方向に分割された継鉄構成部(22)と、継鉄構成部から継鉄の径方向内側に突出されたティース部(24)とを有する複数のコア構成部材(14)と、ティース部に巻回された巻回部(26)を有する巻線(16)と、コア構成部材に装着され、ティース部と巻回部とを絶縁する複数の絶縁部(30)と、複数の絶縁部同士を連結する連結部(32)とを有するインシュレータ(18)と、を備え、連結部は、巻線の端末部(28)を保持する保持部(38)を有する。
【選択図】図3
特許請求の範囲
【請求項1】
複数のステータ構成部(12)によって構成され、
各前記ステータ構成部は、
環状の継鉄(20)を構成し、前記継鉄の周方向に分割された継鉄構成部(22)と、前記継鉄構成部から前記継鉄の径方向内側に突出されたティース部(24)とを有する複数のコア構成部材(14)と、
前記ティース部に巻回された巻回部(26)を有する巻線(16)と、
前記コア構成部材に装着され、前記ティース部と前記巻回部とを絶縁する複数の絶縁部(30)と、前記複数の絶縁部同士を連結する連結部(32)とを有するインシュレータ(18)と、
を備え、
前記連結部は、前記巻線の端末部(28)を保持する保持部(38)を有する、
ステータ(10)。
続きを表示(約 1,000 文字)
【請求項2】
前記保持部は、
前記端末部に対して前記端末部がスプリングバックする方向に開口する開口部(50)と、
前記端末部に対して前記端末部がスプリングバックする方向とは反対方向に位置する閉止部(52)と、
前記開口部を塞ぐ位置に形成された突起部(54)と、
を有する、
請求項1に記載のステータ。
【請求項3】
前記保持部は、
前記端末部に対して前記端末部がスプリングバックする方向とは反対方向に開口する開口部と、
前記端末部に対して前記端末部がスプリングバックする方向に位置する閉止部と、
前記開口部を塞ぐ位置に形成された突起部と、
を有する、
請求項1に記載のステータ。
【請求項4】
前記連結部は、前記絶縁部側に延出する延出部(36)を有し、
前記延出部は、前記連結部の径方向外側へ向かって前記連結部の軸方向一方側へ傾斜する傾斜部(44)を有し、
前記端末部のうちの前記巻回部に接続された部分(28A)と前記保持部に保持された部分(28B)との間の中央部(28C)は、前記傾斜部によって案内されている、
請求項2又は請求項3に記載のステータ。
【請求項5】
前記絶縁部と前記保持部との間には、前記絶縁部と前記保持部とを区画する壁部(56)が形成されている、
請求項1に記載のステータ。
【請求項6】
前記連結部は、前記絶縁部側に延出する延出部(36)を有し、
前記保持部は、前記延出部に形成されている、
請求項1に記載のステータ。
【請求項7】
前記保持部は、溝状に形成されている、
請求項6に記載のステータ。
【請求項8】
前記保持部は、ピン状に形成されている、
請求項6に記載のステータ。
【請求項9】
前記巻線は、前記端末部としての一対の端末部を有し、
前記連結部は、前記一対の端末部を保持する前記保持部としての一対の保持部を有する、
請求項1に記載のステータ。
【請求項10】
前記保持部は、前記連結部の軸方向の寸法の範囲(R)内に位置する、
請求項1に記載のステータ。
発明の詳細な説明
【技術分野】
【0001】
本開示の技術は、ステータに関する。
続きを表示(約 1,600 文字)
【背景技術】
【0002】
従来、いわゆる分割コアタイプのステータが知られている(例えば、特許文献1参照)。分割コアタイプのステータは、複数のステータ構成部によって構成されている。各ステータ構成部は、複数のコア構成部材と、巻線と、インシュレータとを備える。各コア構成部材は、環状の継鉄を構成し、継鉄の周方向に分割された継鉄構成部と、継鉄構成部から継鉄の径方向内側に突出されたティース部とを有する。巻線は、ティース部に巻回された巻回部を有する。インシュレータは、複数の絶縁部と、連結部とを有する。各絶縁部は、コア構成部材に装着され、ティース部と巻回部とを絶縁する。連結部は、複数の絶縁部同士を連結する。
【先行技術文献】
【特許文献】
【0003】
特開2021-35260号公報
【発明の概要】
【発明が解決しようとする課題】
【0004】
従来のステータでは、巻線の端末部を保持する保持部が、絶縁部に形成されている。したがって、保持部が、巻回部を巻回するスペースに位置するため、巻回部の占積率が低下する。
【0005】
本開示の技術は、巻回部の占積率が低下することを抑制することができるステータを提供することを目的とする。
【課題を解決するための手段】
【0006】
本開示の技術に係るステータ(10)は、複数のステータ構成部(12)によって構成され、各前記ステータ構成部は、環状の継鉄(20)を構成し、前記継鉄の周方向に分割された継鉄構成部(22)と、前記継鉄構成部から前記継鉄の径方向内側に突出されたティース部(24)とを有する複数のコア構成部材(14)と、前記ティース部に巻回された巻回部(26)を有する巻線(16)と、前記コア構成部材に装着され、前記ティース部と前記巻回部とを絶縁する複数の絶縁部(30)と、前記複数の絶縁部同士を連結する連結部(32)とを有するインシュレータ(18)と、を備え、前記連結部は、前記巻線の端末部(28)を保持する保持部(38)を有する。
【0007】
本開示の技術によれば、巻回部の占積率が低下することを抑制することができるステータが提供される。
【図面の簡単な説明】
【0008】
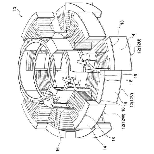
本開示の技術の一実施形態に係るステータの斜視図である。
複数のステータ構成部を軸方向にずらした状態を示す斜視図である。
U相のステータ構成部の斜視図である。
V相のステータ構成部の斜視図である。
W相のステータ構成部の斜視図である。
ステータの要部拡大斜視図である。
ステータ構成部の要部拡大平面図である。
第1変形例に係るステータ構成部の要部拡大斜視図である。
第2変形例に係るステータ構成部の要部拡大斜視図である。
第3変形例に係るステータ構成部の要部拡大斜視図である。
第4変形例に係るステータ構成部の要部拡大斜視図である。
第5変形例に係るステータ構成部の要部拡大斜視図である。
【発明を実施するための形態】
【0009】
以下、本開示の技術の一実施形態について説明する。
【0010】
図1から図5に、本開示の技術の一実施形態に係るステータ10の構成を示す。本実施形態に係るステータ10は、いわゆる分割コアタイプのステータである。分割コアタイプのステータの基本的な構成については、特許文献1に記載されている。ステータ10は、インナーロータタイプのブラシレスモータに適用される。すなわち、ステータ10の内側には、ロータ(図示省略)が回転可能に収容され、ステータ10とロータとによってブラシレスモータが構成される。
(【0011】以降は省略されています)
この特許をJ-PlatPat(特許庁公式サイト)で参照する
関連特許
株式会社デンソー
接合体
20日前
株式会社デンソー
車載器
6日前
株式会社デンソー
電子装置
1日前
株式会社デンソー
光学部材
1か月前
株式会社デンソー
電子装置
10日前
株式会社デンソーエレクトロニクス
発音装置
10日前
株式会社デンソー
ステータ
21日前
株式会社デンソー
ステータ
21日前
株式会社デンソー
太陽電池
22日前
株式会社デンソーエレクトロニクス
発音装置
28日前
株式会社デンソー
平滑回路
1か月前
株式会社デンソー
ステータ
6日前
株式会社デンソー
ステータ
6日前
株式会社デンソー
ねじ部材
6日前
株式会社デンソー
通信装置
1か月前
株式会社デンソー
書込装置
1か月前
株式会社デンソー
測距装置
1か月前
株式会社デンソー
駆動装置
1か月前
株式会社デンソー
電子装置
1か月前
株式会社デンソー
レーダ装置
10日前
株式会社デンソー
半導体装置
6日前
株式会社デンソー
農業用装置
2日前
株式会社デンソー
ガスセンサ
1か月前
株式会社デンソー
回転体装置
1か月前
株式会社デンソー
センサ素子
1か月前
株式会社デンソー
小型電動車両
1か月前
株式会社デンソー
制御システム
13日前
株式会社デンソー
電力変換装置
1か月前
株式会社デンソー
電子制御装置
10日前
株式会社デンソー
通信システム
10日前
株式会社デンソー
電波吸収装置
10日前
株式会社デンソー
電気化学セル
10日前
株式会社デンソーエアクール
換気空調装置
7日前
株式会社デンソー
ステータコア
13日前
株式会社デンソー
電圧変換回路
21日前
株式会社デンソー
電力変換装置
14日前
続きを見る
他の特許を見る