TOP
|
特許
|
意匠
|
商標
特許ウォッチ
Twitter
他の特許を見る
公開番号
2025141527
公報種別
公開特許公報(A)
公開日
2025-09-29
出願番号
2024041506
出願日
2024-03-15
発明の名称
発音装置
出願人
株式会社デンソーエレクトロニクス
代理人
弁理士法人ゆうあい特許事務所
主分類
H04R
1/00 20060101AFI20250919BHJP(電気通信技術)
要約
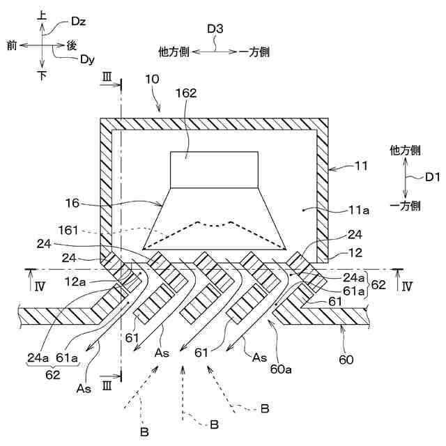
【課題】スピーカの振動板の露出を防止すると共にその振動板の露出防止に必要な部品点数の増加を抑制することができる発音装置を提供する。
【解決手段】筐体開口12aに設けられた複数の筐体フィン24は板形状を成し、第3方向D3へ筐体フィン相互隙間24aをあけて並び、第1方向D1の一方側ほど第3方向D3の一方側に位置するように第1方向D1に対し傾斜している。また、カバー放音孔60aに設けられた複数の放音孔フィン61は板形状を成し、第3方向D3へ放音孔フィン相互隙間61aをあけて並び、第1方向D1の一方側ほど第3方向D3の他方側に位置するように第1方向D1に対し傾斜している。更に、筐体フィン相互隙間24aがそれぞれ放音孔フィン相互隙間61aに連結し振動板161が第1方向D1の一方側からカバー放音孔60aを通して視認されないように、複数の筐体フィン24は配置されている。
【選択図】図2
特許請求の範囲
【請求項1】
被取付部材(60)に対し取り付けられ、前記被取付部材を第1方向(D1)の一方側から他方側へ貫通する放音孔(60a)を通して音を発する発音装置であって、
前記第1方向の前記一方側へ向いて開口する筐体開口(12a)が形成された筐体開口部(12)を有し、前記被取付部材に対し前記第1方向の前記他方側に配置され、前記筐体開口が前記放音孔に対して前記第1方向の前記他方側に重なるように前記被取付部材に固定される筐体(11)と、
前記筐体内に収容され、前記筐体開口へ向けて発音するように振動する振動板(161)を有するスピーカ(16)と、
前記筐体開口に設けられ且つ前記筐体に対し固定され、前記第1方向に垂直な第2方向(D2)へ延伸し前記第1方向と前記第2方向とに垂直な第3方向(D3)へ相互隙間(24a)をあけて並び、前記第1方向の前記一方側ほど前記第3方向の一方側に位置するように前記第1方向に対し傾斜した板形状を成す複数の筐体フィン(24)とを備え、
前記被取付部材は複数の放音孔フィン(61)を有し、
該複数の放音孔フィンは、前記第2方向へ延伸し、前記第3方向へ相互隙間(61a)をあけて並び、前記放音孔に設けられ、前記第1方向の前記一方側ほど前記第3方向の他方側に位置するように前記第1方向に対し傾斜した板形状を成し、
前記複数の筐体フィンの前記相互隙間がそれぞれ前記複数の放音孔フィンの前記相互隙間に対し前記第1方向の前記他方側から連結し前記振動板が前記放音孔に対する前記第1方向の前記一方側から該放音孔を通して視認されないように、前記複数の筐体フィンは配置される、発音装置。
発明の詳細な説明
【技術分野】
【0001】
本開示は、音を発する発音装置に関するものである。
続きを表示(約 2,000 文字)
【背景技術】
【0002】
この種の発音装置として、例えば特許文献1に記載された発音器が従来から知られている。この特許文献1に記載された発音器は、その発音器の外殻を成す筐体と、その筐体内に収容されたスピーカとを備えている。そして、そのスピーカが発する音は、筐体の開口部を通して外部へ放散される。
【0003】
また、スピーカの振動板を保護するために、空気を通しつつ筐体の外部から筐体内への水の侵入を妨げるように入り組んだ音通路が複数の部品の組合せによって筐体の開口部に形成されている。このような音通路が形成されているので、発音器の筐体は、その筐体の開口部を通してスピーカの振動板が視認されない構造になっている。要するに、その振動板の露出が防止されている。
【先行技術文献】
【特許文献】
【0004】
特開2022―139884号公報
【発明の概要】
【発明が解決しようとする課題】
【0005】
スピーカの振動板の露出を防止することは、振動板を被水等から保護するために必要な処置であるが、特許文献1の発音器では、発音器の部品点数を増加させる一因となっていた。この部品点数の増加は発音器のコストアップにもつながる。発明者の詳細な検討の結果、以上のようなことが見出された。
【0006】
本開示は上記点に鑑みて、スピーカの振動板の露出を防止すると共にその振動板の露出防止に必要な部品点数の増加を抑制することができる発音装置を提供することを目的とする。
【課題を解決するための手段】
【0007】
上記目的を達成するため、本開示の1つの観点による発音装置は、
被取付部材(60)に対し取り付けられ、被取付部材を第1方向(D1)の一方側から他方側へ貫通する放音孔(60a)を通して音を発する発音装置であって、
第1方向の一方側へ向いて開口する筐体開口(12a)が形成された筐体開口部(12)を有し、被取付部材に対し第1方向の他方側に配置され、筐体開口が放音孔に対して第1方向の他方側に重なるように被取付部材に固定される筐体(11)と、
筐体内に収容され、筐体開口へ向けて発音するように振動する振動板(161)を有するスピーカ(16)と、
筐体開口に設けられ且つ筐体に対し固定され、第1方向に垂直な第2方向(D2)へ延伸し第1方向と第2方向とに垂直な第3方向(D3)へ相互隙間(24a)をあけて並び、第1方向の一方側ほど第3方向の一方側に位置するように第1方向に対し傾斜した板形状を成す複数の筐体フィン(24)とを備え、
被取付部材は複数の放音孔フィン(61)を有し、
その複数の放音孔フィンは、第2方向へ延伸し、第3方向へ相互隙間(61a)をあけて並び、放音孔に設けられ、第1方向の一方側ほど第3方向の他方側に位置するように第1方向に対し傾斜した板形状を成し、
複数の筐体フィンの相互隙間がそれぞれ複数の放音孔フィンの相互隙間に対し第1方向の他方側から連結し振動板が放音孔に対する第1方向の一方側からその放音孔を通して視認されないように、複数の筐体フィンは配置される。
【0008】
このようにすれば、被取付部材の放音孔に対する第1方向の一方側へスピーカの振動板が露出することを防止することができる。そして、発音装置が取り付けられる相手部品である被取付部材を利用してスピーカの振動板の露出防止が図られるので、発音装置において、振動板の露出防止のために必要とされる部品点数の増加を抑制することができる。それと共に、被取付部材のうち放音孔を形成する部分と放音孔フィンとを一体構成にすることは容易であるので、放音孔フィンが設けられたことに起因して部品点数が被取付部材において増加する懸念もない。
【0009】
なお、出願書類中の各欄において、各要素に括弧付きの参照符号が付されている場合がある。この場合、参照符号は、同要素と後述する実施形態に記載の具体的構成との対応関係の単なる一例を示すものであるにすぎない。よって、本開示は、その参照符号の記載によって、何ら限定されるものではない。
【図面の簡単な説明】
【0010】
第1実施形態の発音装置を搭載する車両を模式的に示した図である。
第1実施形態において発音装置の概略構成を模式的に示した断面図である。
図2のIII-III断面を示した断面図である。
図2のIV-IV断面を示した断面図である。
比較例において発音装置の概略構成を模式的に示した断面図である。
【発明を実施するための形態】
(【0011】以降は省略されています)
この特許をJ-PlatPat(特許庁公式サイト)で参照する
関連特許
個人
イヤーマフ
1日前
個人
監視カメラシステム
10日前
キーコム株式会社
光伝送線路
11日前
個人
スキャン式車載用撮像装置
10日前
サクサ株式会社
中継装置
17日前
サクサ株式会社
中継装置
16日前
WHISMR合同会社
収音装置
1か月前
アイホン株式会社
電気機器
1か月前
キヤノン株式会社
撮像装置
1か月前
株式会社リコー
画像形成装置
3日前
個人
ワイヤレスイヤホン対応耳掛け
1か月前
キヤノン電子株式会社
画像読取装置
9日前
株式会社リコー
画像形成装置
1か月前
サクサ株式会社
無線システム
15日前
サクサ株式会社
無線通信装置
16日前
株式会社リコー
画像形成装置
2か月前
株式会社リコー
画像形成装置
1か月前
キヤノン電子株式会社
画像読取装置
1か月前
サクサ株式会社
無線通信装置
16日前
日本電気株式会社
海底分岐装置
11日前
キヤノン株式会社
撮像システム
1か月前
ブラザー工業株式会社
読取装置
2か月前
個人
発信機及び発信方法
15日前
株式会社NTTドコモ
端末
10日前
国立大学法人電気通信大学
小型光学装置
2か月前
有限会社フィデリックス
マイクロフォン
22日前
株式会社JVCケンウッド
通信システム
22日前
株式会社NTTドコモ
端末
10日前
株式会社松平商会
携帯機器カバー
1か月前
パテントフレア株式会社
超高速電波通信
1か月前
株式会社NTTドコモ
端末
10日前
株式会社NTTドコモ
端末
11日前
DXO株式会社
情報処理システム
2か月前
シャープ株式会社
端末装置
8日前
パテントフレア株式会社
水中電波通信法
2か月前
キヤノン電子株式会社
シート材搬送装置
2か月前
続きを見る
他の特許を見る