TOP
|
特許
|
意匠
|
商標
特許ウォッチ
Twitter
他の特許を見る
公開番号
2025139767
公報種別
公開特許公報(A)
公開日
2025-09-29
出願番号
2024038785
出願日
2024-03-13
発明の名称
電気化学セル
出願人
株式会社デンソー
代理人
弁理士法人あいち国際特許事務所
主分類
H01M
4/86 20060101AFI20250919BHJP(基本的電気素子)
要約
【課題】空気極層自体の機械劣化を抑制し、長期耐久によるセル電圧低下を抑制可能な電気化学セルを提供する。
【解決手段】電気化学セル1は、燃料極層2と、酸素イオン伝導性を有する固体電解質層3と、空気極層4とをこの順に有する。空気極層4は、電子伝導性および酸素イオン伝導性を有する空気極触媒材料より構成される多数の空気極側触媒粒子41と、酸素イオン伝導性を有する固体電解質材料より構成される多数の空気極側電解質粒子42と、空隙43とを含む。空気極層4は、空気極触媒材料が、700℃における線熱膨張係数が15×10
-6
/K超30×10
-6
/K未満とされる。空気極層4は、空気極側触媒粒子41の総表面積をS
cat
、空気極側触媒粒子41の表面と空気極側電解質粒子42の表面とが接触する界面部分の総表面積をS
cat-ele
としたとき、S
cat-ele
/S
cat
が0.6以上とされる。
【選択図】図1
特許請求の範囲
【請求項1】
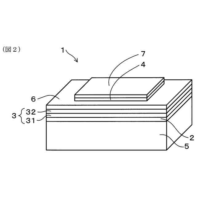
燃料が供給される電極である燃料極層(2)と、酸素イオン伝導性を有する固体電解質層(3)と、前記燃料極層と対をなす電極である空気極層(4)とをこの順に有する電気化学セル(1)であって、
前記空気極層は、
電子伝導性および酸素イオン伝導性を有する空気極触媒材料より構成される多数の空気極側触媒粒子(41)と、酸素イオン伝導性を有する固体電解質材料より構成される多数の空気極側電解質粒子(42)と、空隙(43)と、を含み、
前記空気極触媒材料は、700℃における線熱膨張係数が15×10
-6
/K超30×10
-6
/K未満であり、
前記空気極側触媒粒子の総表面積をS
cat
、前記空気極側触媒粒子の表面と前記空気極側電解質粒子の表面とが接触する界面部分の総表面積をS
cat-ele
としたとき、
S
cat-ele
/S
cat
が0.6以上である、
電気化学セル(1)。
続きを表示(約 920 文字)
【請求項2】
前記空気極層は、厚み方向に沿う断面における前記空隙の面積率で表される空隙率が25%以下である、
請求項1に記載の電気化学セル。
【請求項3】
前記空気極層は、厚み方向に沿う断面における前記空気極側電解質粒子の面積率で表される前記空気極側電解質粒子の含有率が50%以上である、
請求項1または請求項2に記載の電気化学セル。
【請求項4】
前記空気極触媒材料は、La、Sr、および、Coを含有するペロブスカイト型酸化物であり、
前記空気極層は、厚み方向に沿う断面における前記空気極側触媒粒子の面積率で表される前記空気極側触媒粒子の含有率が35%以下である、
請求項1または請求項2に記載の電気化学セル。
【請求項5】
前記空気極触媒材料は、La、Sr、および、Coを含有するペロブスカイト型酸化物であり、
前記空気極層は、厚み方向に沿う断面において検出されるCo
3
O
4
の面積率で表されるCo
3
O
4
の含有率が10%以下である、
請求項1または請求項2に記載の電気化学セル。
【請求項6】
前記空気極層は、
厚み方向に沿う断面において求めた前記空気極側触媒粒子、前記空気極側電解質粒子、および、前記空隙の切片長の累積分布において、前記空気極側触媒粒子の累積頻度50%における切片長をL
cat
、前記空気極側電解質粒子の累積頻度50%における切片長をL
ele
、前記空隙の累積頻度50%における切片長をL
pore
としたとき、
L
pore
<L
cat
<L
ele
を満たす、
請求項1または請求項2に記載の電気化学セル。
【請求項7】
固体酸化物形燃料電池セルおよび固体酸化物形電解セルのうち少なくとも一方として用いられる、
請求項1または請求項2に記載の電気化学セル。
発明の詳細な説明
【技術分野】
【0001】
本発明は、電気化学セルに関する。
続きを表示(約 3,300 文字)
【背景技術】
【0002】
従来、酸素イオン伝導性を有する固体電解質層を電解質層とする電気化学セルが知られている。この種の電気化学セルとしては、固体酸化物形燃料電池セル(Solid Oxide Fuel Cell:以下、SOFCということがある。)や固体酸化物形電解セル(Solid Oxide Electrochemical Cell:以下、SOECということがある。)などが挙げられる。
【0003】
例えば、特許文献1には、固体酸化物を含む電解質層と、電解質層の一方側に配置され、空気極材料を含む空気極と、電解質層の他方側に配置された燃料極と、電解質層と空気極との間に配置され、酸化物イオン伝導性を有する固体電解質材料と空気極材料とを含む中間層とを備え、空気極材料の熱膨張係数と固体電解質材料の熱膨張係数との差が、室温から1000℃において5×10
-6
(1/K)以上である電気化学セルが開示されている。
【先行技術文献】
【特許文献】
【0004】
特開2018-73653号公報
【発明の概要】
【発明が解決しようとする課題】
【0005】
従来技術には、次の課題がある。特許文献1によれば、電解質層と空気極との間に、固体電解質材料と空気極材料とを含む中間層が配置されているため、熱膨張係数の高い空気極材料を用いて空気極を構成しても、空気極の剥離の発生を抑制することができるとされている。しかしながら、特許文献1の技術を用いても、線熱膨張係数が比較的高い空気極触媒材料を含む空気極層を有する電気化学セルにおいては、空気極触媒材料の熱膨張によりに割れが生じ、空気極層自体の機械劣化を抑制することが難しい。また、空気極層の機械劣化は、長期耐久によるセル電圧変化を招く。
【0006】
本発明は、かかる課題に鑑みてなされたものであり、空気極層自体の機械劣化を抑制し、長期耐久によるセル電圧変化を抑制可能な電気化学セルを提供しようとするものである。
【課題を解決するための手段】
【0007】
本発明の一態様は、
燃料が供給される電極である燃料極層(2)と、酸素イオン伝導性を有する固体電解質層(3)と、前記燃料極層と対をなす電極である空気極層(4)とをこの順に有する電気化学セル(1)であって、
前記空気極層は、
電子伝導性および酸素イオン伝導性を有する空気極触媒材料より構成される多数の空気極側触媒粒子(41)と、酸素イオン伝導性を有する固体電解質材料より構成される多数の空気極側電解質粒子(42)と、空隙(43)と、を含み、
前記空気極触媒材料は、700℃における線熱膨張係数が15×10
-6
/K超30×10
-6
/K未満であり、
前記空気極側触媒粒子の総表面積をS
cat
、前記空気極側触媒粒子の表面と前記空気極側電解質粒子の表面とが接触する界面部分の総表面積をS
cat-ele
としたとき、
S
cat-ele
/S
cat
が0.6以上である、
電気化学セル(1)にある。
【発明の効果】
【0008】
上記電気化学セルは、上記構成を有する。上記電気化学セルの空気極層においては、上記の高い線熱膨張係数を有する空気極触媒材料より構成される空気極側触媒粒子の表面が、0.6≦S
cat-ele
/S
cat
を満たすように空気極側電解質粒子により覆われる(包まれる)。そのため、上記電気化学セルによれば、空気極側触媒粒子が熱膨張しようとしても、空気極側電解質粒子が骨格として熱膨張を抑制する。それ故、上記電気化学セルは、空気極層自体の機械劣化を抑制し、長期耐久によるセル電圧変化を抑制することができる。
【0009】
なお、特許請求の範囲および課題を解決する手段などに記載した括弧内の符号は、後述する実施形態に記載の具体的手段との対応関係を示すものであり、本発明の技術的範囲を限定するものではない。
【図面の簡単な説明】
【0010】
図1は、実施形態に係る電気化学セルの微構造を模式的に示した説明図である。
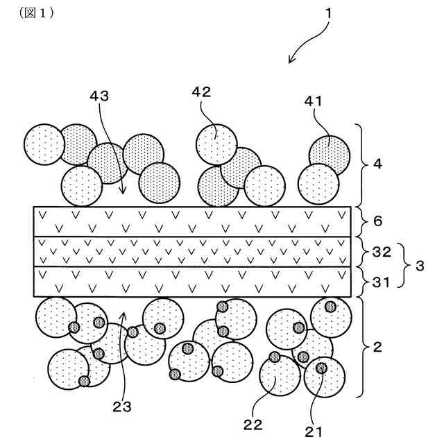
図2は、実施形態に係る電気化学セルの積層構造の一例を模式的に示した説明図である。
図3は、実施形態に係る電気化学セルにおける空気極層の厚み方向に沿う断面(SEM画像)の一例を示した図である。
図4は、実施形態に係る電気化学セルにおいて、空気極層におけるS
cat-ele
/S
cat
を求める際に取得される、空気極層の厚み方向に垂直な連続断面画像の一例を示した図である。
図5は、実施形態に係る電気化学セルにおいて、空気極層におけるS
cat-ele
/S
cat
を求める際に取得される、空気極層モデル(DTモデル)の一例を示した図である。
図6は、実施形態に係る電気化学セルにおいて、空気極層の空隙率を画像解析により測定する際に得られる、(a)8bitグレースケールのSEM画像の一例を示した図、(b)三値化処理後のSEM画像の一例を示した図である。
図7は、実施形態に係る電気化学セルにおいて、空気極層の空隙率を画像解析により測定する際の三値化処理時の閾値設定について説明するための説明図である。
図8は、実施形態に係る電気化学セルにおいて、空気極層におけるCo
3
O
4
の含有率を測定する際のラマン分析を行う分析領域について説明するための説明図である。
図9は、図8に示した分析領域について形成したCo
3
O
4
の検出位置マップの一例を示した図である。
図10は、実施形態に係る電気化学セルにおいて、空気極層におけるCo
3
O
4
の含有率を測定する際のラマン分析により得られる、(a)Co
3
O
4
未検出時のラマンスペクトルの一例を示した図、(b)Co
3
O
4
検出時のラマンスペクトルの一例を示した図である。
図11は、実施形態に係る電気化学セルにおいて、空気極層におけるCo
3
O
4
の含有率を測定する際のラマン分析により得られる、(a)Co
3
O
4
未検出時のラマンスペクトル、(b)Co
3
O
4
検出時のラマンスペクトルから、Co
3
O
4
の検出位置を示すマップを形成する方法について説明するための説明図である。
図12は、実施形態に係る電気化学セルにおいて、空気極層における切片長L
pore
、L
cat
、L
ele
の測定方法を説明するための説明図であって、(a)三値化処理後のSEM画像の一例を示した図、(b)(a)に示した左上の四角で囲った部分を拡大して示した図である。
図13は、実施形態に係る電気化学セルにおいて、空気極層における切片長L
cat
、L
ele
、L
pore
の関係を説明するための説明図である。
図14は、実験例において得られた、空気極層の空隙率(%)(横軸)と、電気化学セルの初期抵抗(Ω)(縦軸)との関係を示した図である。
【発明を実施するための形態】
(【0011】以降は省略されています)
この特許をJ-PlatPat(特許庁公式サイト)で参照する
関連特許
株式会社デンソー
接合体
14日前
株式会社デンソー
電子装置
1か月前
株式会社デンソー
電子装置
4日前
株式会社デンソー
駆動装置
1か月前
株式会社デンソー
ステータ
15日前
株式会社デンソー
ステータ
15日前
株式会社デンソー
通信装置
1か月前
株式会社デンソー
測距装置
1か月前
株式会社デンソー
書込装置
1か月前
株式会社デンソー
太陽電池
16日前
株式会社デンソー
光学部材
25日前
株式会社デンソー
平滑回路
24日前
株式会社デンソーエレクトロニクス
発音装置
4日前
株式会社デンソーエレクトロニクス
発音装置
22日前
株式会社デンソー
センサ素子
1か月前
株式会社デンソー
レーダ装置
4日前
株式会社デンソー
回転体装置
28日前
株式会社デンソー
ガスセンサ
1か月前
株式会社デンソー
制御システム
7日前
株式会社デンソー
通信システム
23日前
株式会社デンソー
電子制御装置
4日前
株式会社デンソー
通信システム
4日前
株式会社デンソー
ステータコア
7日前
株式会社デンソー
電気化学セル
4日前
株式会社デンソー
装置及び方法
23日前
株式会社デンソー
電力変換装置
8日前
株式会社デンソー
電子制御装置
28日前
株式会社デンソー
温度検出装置
28日前
株式会社デンソー
小型電動車両
16日前
株式会社デンソー
フィルタ回路
8日前
株式会社デンソーウェーブ
光学読取装置
16日前
株式会社デンソー
光位相変調器
14日前
株式会社デンソー
電力変換装置
29日前
株式会社デンソー
電圧変換回路
15日前
株式会社デンソー
中継システム
1か月前
株式会社デンソー
電波吸収装置
4日前
続きを見る
他の特許を見る