TOP
|
特許
|
意匠
|
商標
特許ウォッチ
Twitter
他の特許を見る
公開番号
2025141603
公報種別
公開特許公報(A)
公開日
2025-09-29
出願番号
2024041615
出願日
2024-03-15
発明の名称
電子装置
出願人
株式会社デンソー
代理人
個人
,
個人
主分類
H01L
25/00 20060101AFI20250919BHJP(基本的電気素子)
要約
【課題】特殊な加工を必要とせず保護対象部品にアンダーフィルの付着を抑制できる電子装置を提供すること。
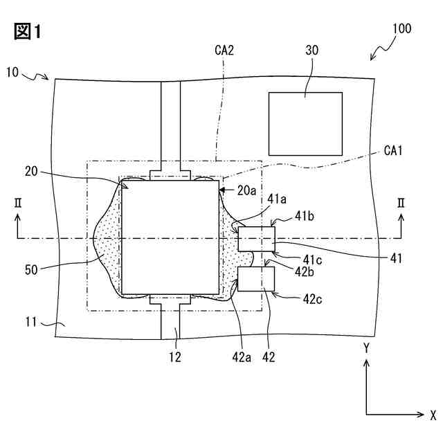
【解決手段】電子装置100は、配線基板10と、配線基板に実装された対象電子部品20と、少なくとも配線基板と対象電子部品との隙間に設けられるアンダーフィル50と、配線基板に実装された保護電子部品30とを備えている。さらに、電子装置は、配線基板に実装され、アンダーフィルを吸着可能な吸着電子部品41,42を備えている。吸着電子部品の少なくとも一部は、対象電子部品の周辺におけるアンダーフィルが濡れ広がる第2塗布領域CA2に配置されている。
【選択図】図1
特許請求の範囲
【請求項1】
配線基板(10)と、
前記配線基板に実装された第1電子部品(20)と、
少なくとも前記配線基板と前記第1電子部品との隙間に設けられるアンダーフィル(50)と、
前記配線基板に実装され前記アンダーフィルの付着から保護すべき第2電子部品(30)と、
前記配線基板に実装され、前記アンダーフィルを吸着可能な第3電子部品(41~44)と、を備え、
前記第3電子部品の少なくとも一部は、前記第1電子部品の周辺における前記アンダーフィルが濡れ広がる塗布領域に配置されている電子装置。
続きを表示(約 570 文字)
【請求項2】
前記配線基板は、複数の前記第3電子部品が実装されている請求項1に記載の電子装置。
【請求項3】
複数の前記第3電子部品は、前記第1電子部品の側壁(20a)に対して平行に配置されている請求項2に記載の電子装置。
【請求項4】
複数の前記第3電子部品は、前記第1電子部品の側壁(20a)に対して垂直に配置されている請求項2または3に記載の電子装置。
【請求項5】
前記第3電子部品は、前記アンダーフィルと接している請求項1~3のいずれか1項に記載の電子装置。
【請求項6】
前記配線基板に設けられた誘導部(70)を備え、
前記誘導部の少なくとも一部は、前記塗布領域に配置されている請求項1または2に記載の電子装置。
【請求項7】
前記誘導部は、前記第1電子部品と前記第2電子部品との間に配置されている請求項6に記載の電子装置。
【請求項8】
前記誘導部は、導電性の配線パターンである請求項6に記載の電子装置。
【請求項9】
前記誘導部は、前記第1電子部品の角部を介して連なる二つの側壁(20a,20b)のそれぞれに対向する第1部位(71)と第2部位(72)とを有する請求項6に記載の電子装置。
発明の詳細な説明
【技術分野】
【0001】
本開示は、電子装置に関する。
続きを表示(約 1,500 文字)
【背景技術】
【0002】
特許文献1には、電子装置が開示されている。電子装置は、基板上に形成されたアンダーフィルの流入から保護すべき保護対象部と、保護対象部品の全体または一部分を囲むように基板に形成されたアンダーフィル流入防止部とを備えている。電子装置は、アンダーフィル流入防止部として、基板に凹状の溝や凸状の壁が設けられている。
【先行技術文献】
【特許文献】
【0003】
特開2021-192442号公報
【発明の概要】
【発明が解決しようとする課題】
【0004】
しかしながら、電子装置は、アンダーフィルが溝や壁を越えて保護対象部品に到達する虞がある。さらに、電子装置は、基板に対して溝や壁を設けるための特殊な加工が必要となる。
【0005】
開示される一つの目的は、特殊な加工を必要とせず保護対象部品にアンダーフィルの付着を抑制できる電子装置を提供することである。
【課題を解決するための手段】
【0006】
ここに開示された電子装置は、
配線基板(10)と、
配線基板に実装された第1電子部品(20)と、
少なくとも配線基板と第1電子部品との隙間に設けられるアンダーフィル(50)と、
配線基板に実装されアンダーフィルの付着から保護すべき第2電子部品(30)と、
配線基板に実装され、アンダーフィルを吸着可能な第3電子部品(41~44)と、を備え、
第3電子部品の少なくとも一部は、第1電子部品の周辺におけるアンダーフィルが濡れ広がる塗布領域に配置されている。
【0007】
このように、電子装置は、第3電子部品の少なくとも一部が第1電子部品の周辺におけるアンダーフィルが濡れ広がる塗布領域に配置されている。そのため、電子装置は、配線基板と第1電子部品の隙間から濡れ広がるアンダーフィルを第3電子部品で吸着できる。よって、電子装置は、壁や溝を設けるための特殊な加工を必要とせず、濡れ広がったアンダーフィルが第2電子部品に付着することを抑制できる。
【0008】
この明細書において開示された複数の態様は、それぞれの目的を達成するために、互いに異なる技術的手段を採用する。請求の範囲およびこの項に記載した括弧内の符号は、後述する実施形態の部分との対応関係を例示的に示すものであって、技術的範囲を限定することを意図するものではない。この明細書に開示される目的、特徴、および効果は、後続の詳細な説明、および添付の図面を参照することによってより明確になる。
【図面の簡単な説明】
【0009】
第1実施形態における電子装置の概略構成を示す平面図である。
図1のII-II線に沿う断面図である。
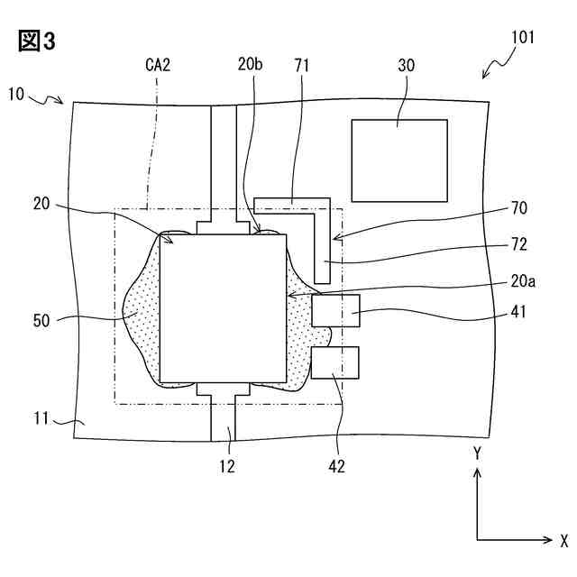
変形例1における電子装置の概略構成を示す平面図である。
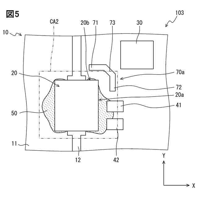
変形例2における電子装置の概略構成を示す平面図である。
変形例3における電子装置の概略構成を示す平面図である。
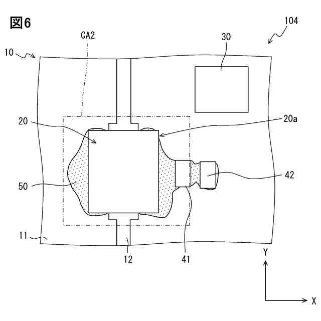
変形例4における電子装置の概略構成を示す平面図である。
【発明を実施するための形態】
【0010】
以下において、図面を参照しながら、本開示を実施するための複数の形態を説明する。各形態において、先行する形態で説明した事項に対応する部分には同一の参照符号を付して重複する説明を省略する場合がある。各形態において、構成の一部のみを説明している場合は、構成の他の部分については先行して説明した他の形態を参照し適用することができる。
(【0011】以降は省略されています)
この特許をJ-PlatPat(特許庁公式サイト)で参照する
関連特許
株式会社デンソーウェーブ
筐体
1か月前
株式会社デンソー
端子台
3日前
株式会社デンソー
電動機
1日前
株式会社デンソー
回転機
1か月前
株式会社デンソー
電動弁
23日前
株式会社デンソー
分離体
9日前
株式会社デンソー
撮像装置
22日前
株式会社デンソー
撮像装置
22日前
株式会社デンソー
電解装置
24日前
株式会社デンソー
電子装置
1か月前
株式会社デンソー
反力装置
1か月前
株式会社デンソー
光学部材
9日前
株式会社デンソー
光学部材
9日前
株式会社デンソー
電気回路
17日前
株式会社デンソー
制御装置
25日前
株式会社デンソー
電子装置
1か月前
株式会社デンソー
検出装置
1か月前
株式会社デンソー
トランス
1日前
株式会社デンソー
電子装置
23日前
株式会社デンソー
摺動機構
22日前
株式会社デンソー
光学部材
1日前
株式会社デンソー
摺動機構
22日前
株式会社デンソー
電子装置
1日前
株式会社デンソー
熱交換器
22日前
株式会社デンソー
半導体装置
1か月前
株式会社デンソー
センサ装置
1か月前
株式会社デンソー
半導体装置
1か月前
株式会社デンソー
レーダ装置
1か月前
株式会社デンソー
半導体装置
22日前
株式会社デンソー
熱交換装置
1か月前
株式会社デンソー
電流センサ
1か月前
株式会社デンソー
半導体装置
9日前
株式会社デンソー
電磁継電器
1日前
株式会社デンソー
センサ装置
1か月前
株式会社デンソーテン
インバータ
1か月前
株式会社デンソートリム
鞍乗り車両
1か月前
続きを見る
他の特許を見る