TOP
|
特許
|
意匠
|
商標
特許ウォッチ
Twitter
他の特許を見る
10個以上の画像は省略されています。
公開番号
2025168096
公報種別
公開特許公報(A)
公開日
2025-11-07
出願番号
2024073227
出願日
2024-04-26
発明の名称
撮像装置
出願人
株式会社デンソー
代理人
弁理士法人ゆうあい特許事務所
主分類
G03B
11/00 20210101AFI20251030BHJP(写真;映画;光波以外の波を使用する類似技術;電子写真;ホログラフイ)
要約
【課題】白飛びや黒潰れの原因となる入光を物理的に遮ることで、的確な画像データを取得できる撮像装置を提供する。
【解決手段】収容容器の外部の光をレンズ80で取り込み、イメージャ60にて、レンズ80から取り込まれた光に基づいて外部の撮影を行うカメラ装置1において、レンズ80の前面にサンバイザー145を配置し、レンズ80への入光を部分的に遮る。
【選択図】図2
特許請求の範囲
【請求項1】
撮像装置であって、
収容容器(10~30)と、
前記収容容器に収容され、一面側から前記収容容器の外部の光を取り込むレンズ(80)と、
前記レンズよりも前記収容容器の内側に配置され、前記レンズで取り込まれた光に基づいて前記外部の撮影を行うイメージャ(60)と、
前記レンズよりも前記収容容器の内側に配置され、前記イメージャの制御を行うイメージャ基板(70)と、
前記レンズの一面の前面に配置され、前記レンズへの入光を部分的に遮るサンバイザー(145)を含むサンバイザー装置(140)と、を有している、撮像装置。
続きを表示(約 1,400 文字)
【請求項2】
前記サンバイザーは、部分的に光を減衰して透過させる部材で構成されている、請求項1に記載の撮像装置。
【請求項3】
前記イメージャは、一方向を長手方向とし、該長手方向に直交する方向を短手方向する長方形状とされ、
前記サンバイザーは、棒状部材(145b)を有し、棒状部材の一方の端部を回転中心として前記レンズの一面内で揺動可能とされ、
さらに、前記サンバイザーは一対とされ、2つが前記イメージャの長手方向に沿って並んで配置されている、請求項1または2に記載の撮像装置。
【請求項4】
一対の前記サンバイザーは、一方のサンバイザーをもう一方のサンバイザーに対してタイミングを異ならせて作動させられる、請求項3に記載の撮像装置。
【請求項5】
一対の前記サンバイザーは、前記イメージャの拡張焦点(61)を中心として、前記回転中心から前記拡張焦点に向かって配置される形態に揺動可能とされる、請求項3に記載の撮像装置。
【請求項6】
前記イメージャの短手方向を上下方向とすると、一対の前記サンバイザーの回転中心は、前記レンズの上下中央領域に配置されている、請求項3に記載の撮像装置。
【請求項7】
前記サンバイザーは、扇構造とされており、前記回転中心となるシャフト(145a)と、前記棒状部材を構成するブレード(145b)と、前記ブレードに連結されると共に前記ブレードに対して変位することで扇を展開した形態と閉じた形態とに形態が変わるシールド部(145c)と、を有し、前記シールド部が前記サンバイザーの回転方向に拡張して前記展開した形態となる、請求項3に記載の撮像装置。
【請求項8】
前記サンバイザー装置は、格納モードを持ち、前記格納モードのときには、前記サンバイザーを格納位置に揺動させることにより、前記ブレードに対して前記シールド部を拡張する方と反対方向に変位させ、前記サンバイザーを閉じた形態とする、請求項7に記載の撮像装置。
【請求項9】
前記イメージャの短手方向を上下方向として、
前記サンバイザー装置は、前記サンバイザーを前記レンズのうちの上方位置に位置させるときを待機位置とし、前記サンバイザーを前記レンズのうちの下方位置に位置させるときを格納位置として、
前記待機位置では、前記シールド部が拡張して前記サンバイザーが開いた形態となって、前記シールド部にて前記レンズの一部を遮光し、
前記格納位置では、前記ブレードに対して前記シールド部が拡張する方と反対方向に変位し、前記サンバイザーが閉じた形態となる、請求項7に記載の撮像装置。
【請求項10】
前記サンバイザーを挟んで前記レンズと反対側において、前記サンバイザーの少なくとも一部を覆うサンバイザーカバー(150)を備え、
前記サンバイザーカバーは、前記サンバイザーを露出させる開口部(151a)が形成されたフレーム(151)を有し、
前記待機位置では、前記ブレードが前記フレームと前記レンズとの間に隠れ、
前記格納位置では、前記シールド部が前記フレームに当接し、前記ブレードに対して前記シールド部を拡張する方と反対方向に変位させる、請求項9に記載の撮像装置。
(【請求項11】以降は省略されています)
発明の詳細な説明
【技術分野】
【0001】
本開示は、撮像装置に関し、例えば車載用のカメラ装置やLiDAR(Light Detection And Ranging)におけるステレオカメラに適用すると好適なものである。
続きを表示(約 1,600 文字)
【背景技術】
【0002】
従来、特許文献1に、車両に搭載された前方視認用のカメラの前面に、カメラの前方を覆う部材、例えばフロントウィンドシールドの表面を拭き取るブレードを備えた撮像システムおよびこれに用いる車両用ウィンドウが開示されている。
【先行技術文献】
【特許文献】
【0003】
特開2019-166964号公報
【発明の概要】
【発明が解決しようとする課題】
【0004】
カメラ装置を用いたシステムは、運転支援から更に進んだ自動運転に対応できるように、高いロバスト性が要求されてきている。カメラは、人の目と比べてダイナミックレンジが狭く、太陽の直接の入光や対向車のヘッドライトの入光時には、撮影される画像の輝度が画像処理能力の上限に達して飽和してしまう白飛びや、露出補正による暗部の黒潰れが発生する。
【0005】
これを抑制するには、特許文献1のように、カメラの前方を覆うフロントウィンドシールドの表面を拭うブレードを用いて、撮像範囲を部分的に遮光するなどの方法が考えられる。しかしながら、特許文献1の撮像システムのブレードは、ワイパーとして用いるものであり、意図して遮光する機能を有していないため、白飛びや黒潰れを抑制することができず、的確な画像データを取得できない。
【0006】
本開示は、白飛びや黒潰れの原因となる入光を物理的に遮ることで、的確な画像データを取得できる撮像装置を提供することを目的とする。
【課題を解決するための手段】
【0007】
本開示の1つの観点における撮像装置は、
収容容器(10~30)と、
前記収容容器に収容され、一面側から前記収容容器の外部の光を取り込むレンズ(80)と、
前記レンズよりも前記収容容器の内側に配置され、前記レンズで取り込まれた光に基づいて前記外部の撮影を行うイメージャ(60)と、
前記レンズよりも前記収容容器の内側に配置され、前記イメージャの制御を行うイメージャ基板(70)と、
前記レンズの一面の前面に配置され、前記レンズへの入光を部分的に遮るサンバイザー(145)を含むサンバイザー装置(140)と、を有している。
【0008】
このように、レンズの前面にサンバイザーを配置しており、レンズの露出面を部分的に遮光している。このため、サンバイザーにより、太陽の入光や対向車のヘッドライトの入光があっても、これらの入光を抑制することができる。よって、白飛びや黒潰れの原因となる入光を物理的に遮ることができ、的確な画像データを取得できる撮像装置を提供できる。
【0009】
なお、各構成要素等に付された括弧付きの参照符号は、その構成要素等と後述する実施形態に記載の具体的な構成要素等との対応関係の一例を示すものである。
【図面の簡単な説明】
【0010】
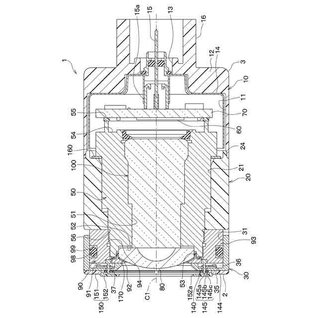
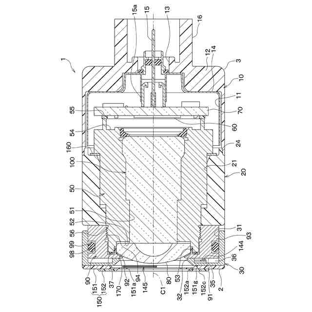
本開示の第1実施形態にかかるカメラ装置が適用されるカメラシステムのブロック図である。
第1実施形態にかかるカメラ装置の斜視図である。
図1に示すカメラ装置の正面図である。
図3のIV-IV線上で切断した断面図である。
図3のV-V線上で切断した断面図である。
図2に示すカメラ装置の分解図である。
サンバイザーの展開時と格納時の様子を示した図である。
待機状態、遮光時、格納時のサンバイザーの様子を示した図である。
イメージャの拡張焦点(以下、FOE:Focus of Expansionという)と水平線との関係を示した図である。
イメージャの画像データ中のFOEと水平線の位置とサンバイザーの位置との関係の一例を示した図である。
【発明を実施するための形態】
(【0011】以降は省略されています)
この特許をJ-PlatPat(特許庁公式サイト)で参照する
関連特許
株式会社デンソー
ロータ
6日前
株式会社デンソー
電動機
11日前
株式会社デンソー
ロータ
6日前
株式会社デンソー
回転電機
4日前
株式会社デンソー
整流回路
4日前
株式会社デンソー
電子装置
11日前
株式会社デンソー
レーダ装置
5日前
株式会社デンソー
電磁継電器
11日前
株式会社デンソーエレクトロニクス
電磁継電器
5日前
株式会社デンソー
音低減装置
4日前
株式会社デンソー
衝突判定装置
今日
株式会社デンソー
電子制御装置
4日前
株式会社デンソー
電磁弁駆動装置
11日前
株式会社デンソー
冷凍サイクル装置
4日前
株式会社デンソー
セル制御システム
4日前
株式会社デンソーウェーブ
投入品管理用装置
4日前
株式会社デンソー
ロータ及びコンプレッサ
6日前
株式会社デンソー
車両制御装置、車両制御方法
4日前
株式会社デンソー
スイッチトキャパシタ電源回路
11日前
株式会社デンソー
車両制御方法、車両制御システム
11日前
株式会社デンソー
電力変換モジュール及び電力変換装置
5日前
株式会社デンソーテン
貼り合わせ装置および貼り合わせ方法
11日前
株式会社デンソーテン
画像処理装置および画像処理プログラム
5日前
株式会社デンソーテン
通知装置、情報処理装置およびプログラム
4日前
株式会社デンソー
通信システム、トラフィック情報の収集方法
5日前
株式会社豊田中央研究所
二酸化炭素回収システム
今日
トヨタ自動車株式会社
降車支援装置及びプログラム
4日前
株式会社デンソーテン
画像処理装置、情報処理システム、情報処理方法、および、プログラム
4日前
株式会社デンソー
電界効果トランジスタ
6日前
株式会社デンソー
ログ管理装置、ログ管理方法、ログ管理プログラム、及びログ管理システム
11日前
株式会社デンソー
レーダシステム、レーダ制御装置、レーダ制御方法、レーダ制御プログラム
5日前
株式会社デンソーテン
感情推定装置、感情推定方法、感情推定プログラムおよび感情推定システム
11日前
トヨタ自動車株式会社
牽引バー推定装置、牽引バー推定方法及びプログラム
4日前
株式会社デンソー
情報処理装置、情報処理方法、プログラム、及び、コンピュータ読み取り可能な記録媒体
11日前
株式会社デンソーテン
スマートキーシステム、車載装置、スマートキー、および、スマートキーシステムの制御方法
5日前
株式会社デンソー
モビリティサービス提供システム、車両アクセス制御方法、プログラム
6日前
続きを見る
他の特許を見る