TOP
|
特許
|
意匠
|
商標
特許ウォッチ
Twitter
他の特許を見る
公開番号
2025169039
公報種別
公開特許公報(A)
公開日
2025-11-12
出願番号
2024074000
出願日
2024-04-30
発明の名称
光源装置
出願人
レーザーテック株式会社
代理人
個人
主分類
G03F
7/20 20060101AFI20251105BHJP(写真;映画;光波以外の波を使用する類似技術;電子写真;ホログラフイ)
要約
【課題】取り出す光の安定性を向上させることができる光源装置を提供する。
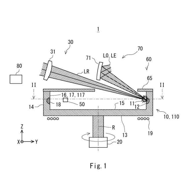
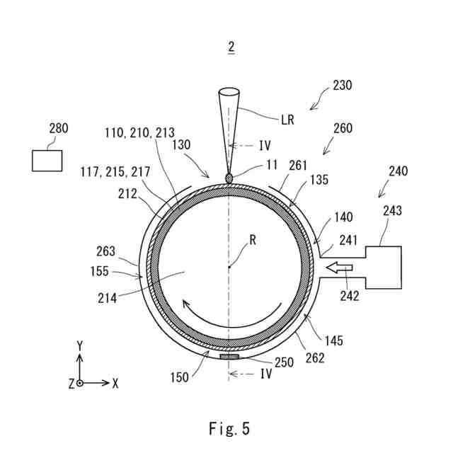
【解決手段】本開示に係る光源装置1は、プラズマ11を発生させるターゲット材12をプラズマ形成位置130へ運搬する保持表面17を有するターゲット保持部10と、ターゲット保持部10を駆動して保持表面17を移動させる駆動部20と、を備え、保持表面17は、保持表面17に沿った空間内の処理面117に対して移動し、処理面117は、少なくとも1つのプラズマ形成位置130と、ターゲット材12が保持表面17に供給される少なくとも1つの供給位置140と、保持表面17に保持されたターゲット材12の状態情報が取得される少なくとも1つの観察位置150と、を有し、プラズマ形成位置130、供給位置140及び観察位置150は、処理面117に沿って配置され、処理面117は、プラズマ形成位置130よりも後に配置された供給位置140を含む。
【選択図】図1
特許請求の範囲
【請求項1】
プラズマを発生させるターゲット材をプラズマ形成位置へ運搬する保持表面を有するターゲット保持部と、
前記ターゲット保持部を駆動して前記保持表面を移動させる駆動部と、
を備え、
前記保持表面は、前記保持表面に沿った空間内の処理面に対して移動し、
前記処理面は、
少なくとも1つの前記プラズマ形成位置と、
前記ターゲット材が前記保持表面に供給される少なくとも1つの供給位置と、
前記保持表面の状態情報が取得される少なくとも1つの観察位置と、
を含み、
前記プラズマ形成位置、前記供給位置及び前記観察位置は、前記処理面に沿って配置され、
前記駆動部による前記保持表面の移動向きで見たときに、前記処理面は、
前記プラズマ形成位置よりも後に配置された前記供給位置を含み、かつ、
前記供給位置よりも後に配置された前記観察位置を含む、
光源装置。
続きを表示(約 1,200 文字)
【請求項2】
プラズマを発生させるターゲット材をプラズマ形成位置へ運搬する保持表面を有するターゲット保持部と、
前記ターゲット保持部を駆動して前記保持表面を移動させる駆動部と、
を備え、
前記保持表面は、前記保持表面に沿った空間内の処理面に対して移動し、
前記処理面は、
少なくとも1つの前記プラズマ形成位置と、
前記ターゲット材が前記保持表面に供給される少なくとも1つの供給位置と、
を含み、
前記プラズマ形成位置及び前記供給位置は、前記処理面に沿って配置され、
前記駆動部による前記保持表面の移動向きで見たときに、前記プラズマ形成位置から前記供給位置までの前記処理面に沿った長さは、前記供給位置から前記プラズマ形成位置までの前記処理面に沿った長さよりも短い、
光源装置。
【請求項3】
前記プラズマ形成位置において、前記ターゲット材にレーザ光を集光させることによって、前記ターゲット材を励起させる形成部をさらに備えた、
請求項1または2に記載の光源装置。
【請求項4】
前記ターゲット保持部は、回転軸を有し、
前記駆動部は、前記ターゲット保持部を前記回転軸の周りで回転させることによって前記ターゲット保持部に前記ターゲット材を運搬させる、
請求項1または2に記載の光源装置。
【請求項5】
前記回転軸は、接地面に対して略直交した、
請求項4に記載の光源装置。
【請求項6】
前記処理面は、前記保持表面の状態情報が取得される少なくとも1つの観察位置をさらに有し、
前記プラズマ形成位置、前記供給位置及び前記観察位置は、前記処理面に沿って配置された、
請求項2に記載の光源装置。
【請求項7】
前記駆動部による前記保持表面の移動向きで見たときに、前記供給位置から前記観察位置までの前記処理面に沿った長さは、前記観察位置から前記プラズマ形成位置までの前記処理面に沿った長さよりも短い、
請求項1または6に記載の光源装置。
【請求項8】
前記プラズマ形成位置と前記供給位置との間の領域に対向して配置された第1デブリシールドをさらに備えた、
請求項1または2に記載の光源装置。
【請求項9】
前記供給位置と前記観察位置との間の領域に対向して配置された第2デブリシールドをさらに備えた、
請求項1または6に記載の光源装置。
【請求項10】
前記プラズマ形成位置と前記観察位置との間の領域に対向して配置された第3デブリシールドをさらに備えた、
請求項1または6に記載の光源装置。
(【請求項11】以降は省略されています)
発明の詳細な説明
【技術分野】
【0001】
本開示は、光源装置に関する。
続きを表示(約 1,500 文字)
【背景技術】
【0002】
特許文献1には、回転軸の回りに回転する円筒部材の表面にターゲット材を形成し、形成したターゲット材に励起光を照射することで照明光を取り出す光源装置が記載されている。
【0003】
特許文献2には、回転軸の回りに回転するルツボの内壁に溶解金属のターゲット材を遠心力で保持し、保持したターゲット材に励起光を照射することで照明光を取り出す光源装置が記載されている。
【先行技術文献】
【特許文献】
【0004】
特開2020-077007号公報
特開2022-168463号公報
【発明の概要】
【発明が解決しようとする課題】
【0005】
光源装置において、円筒部材及びルツボ等のようなターゲット保持部の回転時に生じる振動、構造物自体の変形、ターゲット保持部自体の回転応力及び熱による変形、並びに、ターゲット材のターゲット保持部への投入等によって、ターゲット材の表面付近に位置する発光点と光学部材との相対位置が変動することがある。これにより、安定して光源装置から光を取り出せない場合が考えられる。
【0006】
本開示の目的は、このような問題を解決するためになされたものであり、取り出す光の安定性を向上させることができる光源装置を提供することである。
【課題を解決するための手段】
【0007】
本開示に係る光源装置は、プラズマを発生させるターゲット材をプラズマ形成位置へ運搬する保持表面を有するターゲット保持部と、前記ターゲット保持部を駆動して前記保持表面を移動させる駆動部と、を備え、前記保持表面は、前記保持表面に沿った空間内の処理面に対して移動し、前記処理面は、少なくとも1つの前記プラズマ形成位置と、前記ターゲット材が前記保持表面に供給される少なくとも1つの供給位置と、前記保持表面の状態情報が取得される少なくとも1つの観察位置と、を含み、前記プラズマ形成位置、前記供給位置及び前記観察位置は、前記処理面に沿って配置され、前記駆動部による前記保持表面の移動向きで見たときに、前記処理面は、前記プラズマ形成位置よりも後に配置された前記供給位置を含み、かつ、前記供給位置よりも後に配置された前記観察位置を含む。
【0008】
本開示に係る光源装置は、プラズマを発生させるターゲット材をプラズマ形成位置へ運搬する保持表面を有するターゲット保持部と、前記ターゲット保持部を駆動して前記保持表面を移動させる駆動部と、を備え、前記保持表面は、前記保持表面に沿った空間内の処理面に対して移動し、前記処理面は、少なくとも1つの前記プラズマ形成位置と、前記ターゲット材が前記保持表面に供給される少なくとも1つの供給位置と、を含み、前記プラズマ形成位置及び前記供給位置は、前記処理面に沿って配置され、前記駆動部による前記保持表面の移動向きで見たときに、前記プラズマ形成位置から前記供給位置までの前記処理面に沿った長さは、前記供給位置から前記プラズマ形成位置までの前記処理面に沿った長さよりも短い。
【0009】
上記光源装置では、前記プラズマ形成位置において、前記ターゲット材にレーザ光を集光させることによって、前記ターゲット材を励起させる形成部をさらに備えてもよい。
【0010】
上記光源装置では、前記ターゲット保持部は、回転軸を有し、前記駆動部は、前記ターゲット保持部を前記回転軸の周りで回転させることによって前記ターゲット保持部に前記ターゲット材を運搬させてもよい。
(【0011】以降は省略されています)
この特許をJ-PlatPat(特許庁公式サイト)で参照する
関連特許
個人
表示装置
1か月前
個人
雨用レンズカバー
1か月前
株式会社シグマ
絞りユニット
2か月前
日本精機株式会社
車両用投射装置
1か月前
キヤノン株式会社
撮像装置
2か月前
キヤノン株式会社
撮像装置
1か月前
キヤノン株式会社
撮像装置
1か月前
キヤノン株式会社
撮像装置
2か月前
キヤノン株式会社
撮像装置
2か月前
キヤノン株式会社
撮像装置
5日前
キヤノン株式会社
撮像装置
1か月前
平和精機工業株式会社
雲台
3か月前
株式会社リコー
画像形成装置
1か月前
株式会社リコー
画像形成装置
3か月前
株式会社リコー
画像形成装置
3か月前
株式会社リコー
画像形成装置
1か月前
株式会社リコー
画像形成装置
3か月前
株式会社リコー
画像形成装置
2か月前
株式会社リコー
画像形成装置
1か月前
株式会社リコー
画像形成装置
2か月前
株式会社リコー
画像形成装置
19日前
株式会社リコー
画像形成装置
28日前
キヤノン株式会社
画像形成装置
3か月前
シャープ株式会社
画像形成装置
3か月前
キヤノン株式会社
画像形成装置
1か月前
キヤノン株式会社
画像形成装置
3か月前
キヤノン株式会社
画像形成装置
13日前
株式会社オプトル
プロジェクタ
3か月前
キヤノン株式会社
トナー
3か月前
キヤノン株式会社
画像形成装置
3か月前
キヤノン株式会社
トナー
1か月前
ブラザー工業株式会社
再生方法
3か月前
キヤノン株式会社
トナー
1か月前
キヤノン株式会社
トナー
2か月前
キヤノン株式会社
画像形成装置
1か月前
株式会社オプトル
プロジェクタ
2か月前
続きを見る
他の特許を見る