TOP
|
特許
|
意匠
|
商標
特許ウォッチ
Twitter
他の特許を見る
公開番号
2025162701
公報種別
公開特許公報(A)
公開日
2025-10-28
出願番号
2024066069
出願日
2024-04-16
発明の名称
半導体装置
出願人
株式会社デンソー
,
トヨタ自動車株式会社
,
株式会社ミライズテクノロジーズ
代理人
弁理士法人 快友国際特許事務所
主分類
H10D
12/00 20250101AFI20251021BHJP()
要約
【課題】終端部にスーパージャンクション層と複数のガードリング領域を備えた半導体装置において、耐圧低下を抑制する技術を提供する。
【解決手段】複数のガードリング領域40は、少なくとも最外周のガードリング領域40を含む第1ガードリング領域42と、第1ガードリング領域42よりも内周側に配置されているガードリング領域40を含む第2ガードリング領域44と、を有している。第1ガードリング領域42は、スーパージャンクション層13のp型カラム13aと離間している。第2ガードリング領域44は、スーパージャンクション層13のp型カラム13aに接している。
【選択図】図2
特許請求の範囲
【請求項1】
活性部(10A)と、前記活性部の周囲に位置する終端部(10B)と、を有する半導体基板(10)を備えた半導体装置(1,2,3)であって、
前記終端部は、
第1導電型の下側ドリフト領域(12)と、
前記下側ドリフト領域上に設けられており、第1導電型カラム(13b)と第2導電型カラム(13a)が少なくとも一方向に交互に繰り返し形成されているスーパージャンクション層(13)と、
前記スーパージャンクション層上に設けられている第1導電型の上側ドリフト領域(14)と、
前記上側ドリフト領域に囲まれており、前記活性部の周囲を一巡して延びている第2導電型の複数のガードリング領域(40)と、を有しており、
前記複数のガードリング領域は、
少なくとも最外周の前記ガードリング領域を含む第1ガードリング領域(42)と、
前記第1ガードリング領域よりも内周側に配置されているガードリング領域を含む第2ガードリング領域(44)と、を有しており、
前記第1ガードリング領域は、前記スーパージャンクション層の前記第2導電型カラムと離間しており、
前記第2ガードリング領域は、前記スーパージャンクション層の前記第2導電型カラムに接している、半導体装置。
続きを表示(約 540 文字)
【請求項2】
前記第2ガードリング領域は、
前記第1ガードリング領域と同一深さ範囲に形成されている上側ガードリング部分(44a)と、
前記上側ガードリング部分と前記スーパージャンクション層の前記第2導電型カラムの間の深さ範囲に少なくとも形成されている下側ガードリング部分(44b)と、を有している、請求項1に記載の半導体装置。
【請求項3】
前記上側ドリフト領域の不純物濃度が、前記下側ドリフト領域の不純物濃度よりも高く、
前記下側ガードリング部分の上端部と前記上側ガードリング部分の下端部が重複しており、
前記下側ガードリング部分と前記上側ガードリング部分は、前記活性部と前記終端部を結ぶ内外方向にオフセットされている、請求項2に記載の半導体装置。
【請求項4】
前記下側ドリフト領域と前記スーパージャンクション層と前記上側ドリフト領域は、前記活性部にも設けられており、
前記終端部と前記活性部の前記上側ドリフト領域の不純物濃度が同一である、請求項3に記載の半導体装置。
【請求項5】
前記半導体基板が、ワイドギャップ半導体である、請求項1~4のいずれか一項に記載の半導体装置。
発明の詳細な説明
【技術分野】
【0001】
本明細書が開示する技術は、半導体装置に関する。
続きを表示(約 2,400 文字)
【0002】
半導体装置の半導体基板は、活性部と、その活性部の周囲に位置する終端部と、を有している。活性部にはゲート構造が設けられており、終端部には終端耐圧構造が設けられている。特許文献1は、終端部の終端耐圧構造としてスーパージャンクション層(以下、「SJ層」ということがある)と複数のガードリング領域を備えた半導体装置を開示する。
【先行技術文献】
【特許文献】
【0003】
特表2012-533167号公報
【発明の概要】
【発明が解決しようとする課題】
【0004】
SJ層とガードリング領域は、半導体基板の厚み方向に離れて配置されており、その間にドリフト領域が存在している。例えば、低オン抵抗化を目的としてドリフト領域の不純物濃度を高くすると、ガードリング領域とドリフト領域の間のpn接合において電界が集中し、半導体装置の耐圧低下が懸念される。本願明細書は、終端部にスーパージャンクション層と複数のガードリング領域を備えた半導体装置において、耐圧低下を抑制する技術を提供する。
【課題を解決するための手段】
【0005】
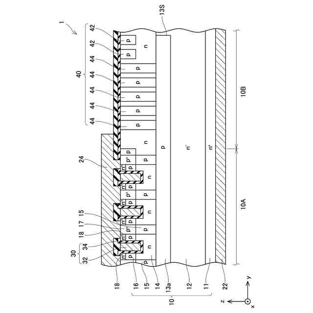
本明細書が開示する半導体装置は、活性部(10A)と、活性部の周囲に位置する終端部(10B)と、を有する半導体基板(10)を備えている。終端部は、第1導電型の下側ドリフト領域(12)と、下側ドリフト領域上に設けられており、第1導電型カラム(13b)と第2導電型カラム(13a)が少なくとも一方向に交互に繰り返し形成されているスーパージャンクション層(13)と、スーパージャンクション層上に設けられている第1導電型の上側ドリフト領域(14)と、上側ドリフト領域に囲まれており、活性部の周囲を一巡して延びている第2導電型の複数のガードリング領域(40)と、を有していてもよい。複数のガードリング領域は、少なくとも最外周のガードリング領域を含む第1ガードリング領域(42)と、第1ガードリング領域よりも内周側に配置されているガードリング領域を含む第2ガードリング領域(44)と、を有していてもよい。第1ガードリング領域は、スーパージャンクション層の第2導電型カラムと離間している。第2ガードリング領域は、スーパージャンクション層の第2導電型カラムに接している。
【0006】
上記半導体装置では、複数のガードリング領域のうち内周側に設けられている第2ガードリング領域がスーパージャンクション層の第2導電型カラムに接するまで深く形成されている。これにより、第2ガードリング領域と上側ドリフト領域の間のpn接合における電界集中が緩和される。ここで、仮に全てのガードリング領域がスーパージャンクション層の第2導電型カラムに接するまで深く形成されていると、半導体基板に加わる電圧が小さい場合に、最外周のガードリング領域が空乏化されず、最外周のガードリング領域の側面と上側ドリフト領域の間のpn接合における電界集中が懸念される。上記半導体装置では、最外周のガードリング領域を含む第1ガードリング領域がスーパージャンクション層の第2導電型カラムから離れて形成されており、電位がフローティングである。これにより、最外周のガードリング領域の側面と上側ドリフト領域の間のpn接合における電界集中が緩和される。このように、上記半導体装置では、複数のガードリング領域の全体において電界集中が緩和されているので、耐圧低下が抑制される。
【図面の簡単な説明】
【0007】
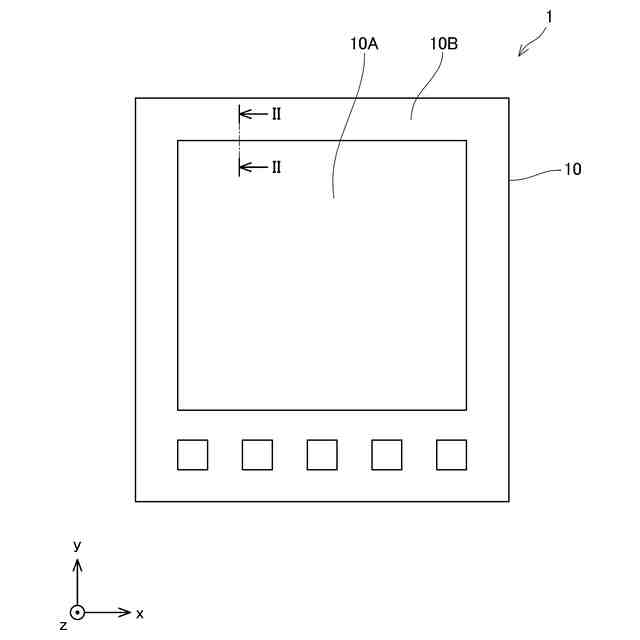
半導体基板を平面視したときに、半導体基板に区画されている活性部と終端部の位置関係を示す図である。
第1実施形態の半導体装置の要部断面図であり、図1のII-II線に対応した断面図を模式的に示す図である。
半導体層の活性部の要部斜視図を模式的に示す図である。
第2実施形態の半導体装置の要部断面図であり、図1のII-II線に対応した断面図を模式的に示す図である。
第3実施形態の半導体装置の要部断面図であり、図1のII-II線に対応した断面図を模式的に示す図である。
【発明を実施するための形態】
【0008】
以下、図面を参照して、本明細書が開示する技術が適用された半導体装置について説明する。以下の図面では、図示明瞭化を目的として、共通する構成要素についてはその一部のみに符号を付すことがある。また、各実施形態において共通する構成要素には共通の符号を付し、その説明を省略する。
【0009】
(第1実施形態)
図1~3に示すように、半導体装置1は、MOSFETと称される種類のパワーデバイスであり、半導体基板10を用いて形成されている。半導体基板10の材料は、特に限定されるものではないが、例えばワイドギャップ半導体であってもよい。ワイドバンドギャップ半導体としては、特に限定されるものではないが、例えば炭化珪素(SiC)及び窒化物半導体が例示される。なお、半導体装置1は、IGBTと称される種類のパワーデバイスであってもよい。
【0010】
図1に示すように、半導体基板10は、半導体基板10の主面に直交する方向から見たときに(以下、「平面視したときに」という)、活性部10Aと終端部10Bを有している。活性部10Aは、半導体基板10の内側に区画された領域であり、後述するように、スイッチング構造が形成された領域である。終端部10Bは、半導体基板10の外側、即ち、活性部10Aの周囲に区画された領域であり、後述するように、終端耐圧構造が形成された領域である。
(【0011】以降は省略されています)
この特許をJ-PlatPat(特許庁公式サイト)で参照する
関連特許
株式会社デンソー
分離体
1日前
株式会社デンソー
電動弁
15日前
株式会社デンソー
光学部材
1日前
株式会社デンソー
制御装置
17日前
株式会社デンソー
熱交換器
14日前
株式会社デンソー
撮像装置
14日前
株式会社デンソー
電解装置
16日前
株式会社デンソー
摺動機構
14日前
株式会社デンソー
撮像装置
14日前
株式会社デンソー
電気回路
9日前
株式会社デンソー
摺動機構
14日前
株式会社デンソー
光学部材
1日前
株式会社デンソー
電子装置
15日前
株式会社デンソー
センサ装置
22日前
株式会社デンソー
半導体装置
1日前
株式会社デンソートリム
鞍乗り車両
23日前
株式会社デンソー
半導体装置
14日前
株式会社デンソー
熱交換部材
16日前
株式会社デンソー
半導体装置
16日前
株式会社デンソー
ヒータ装置
23日前
株式会社デンソー
センサ装置
22日前
株式会社デンソー
電気化学セル
14日前
株式会社デンソー
電気化学セル
14日前
株式会社デンソー
電子制御装置
14日前
株式会社デンソーテン
車載表示装置
14日前
株式会社デンソー
給電システム
1日前
株式会社デンソー
圧電デバイス
22日前
株式会社デンソー
ガスセンサ装置
23日前
株式会社デンソー
端末及び基地局
2日前
株式会社デンソー
巻線界磁ロータ
22日前
株式会社デンソー
エレクトレット
1日前
株式会社デンソー
電波透過カバー
14日前
株式会社デンソー
車両用空調装置
1日前
株式会社デンソー
ワーク投入装置
14日前
株式会社デンソーエレクトロニクス
ワイパ制御装置
17日前
株式会社デンソー
電圧測定システム
14日前
続きを見る
他の特許を見る