TOP
|
特許
|
意匠
|
商標
特許ウォッチ
Twitter
他の特許を見る
10個以上の画像は省略されています。
公開番号
2025170930
公報種別
公開特許公報(A)
公開日
2025-11-20
出願番号
2024075797
出願日
2024-05-08
発明の名称
エレクトレット
出願人
株式会社デンソー
,
学校法人東京理科大学
代理人
弁理士法人あいち国際特許事務所
主分類
H01G
7/02 20060101AFI20251113BHJP(基本的電気素子)
要約
【課題】高温環境下においても、高い表面電位を長時間保持することができ、熱的及び経時的安定性に優れたエレクトレットを提供する。
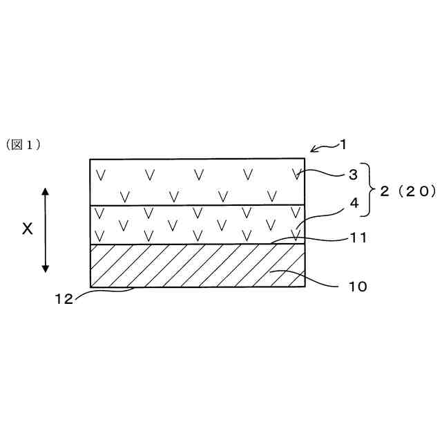
【解決手段】エレクトレット1は、基板10と、その表面に形成されたエレクトレット層2と、を有する。エレクトレット層2は、基板10の厚さ方向Xに積層された外層膜3及び内層膜4を含む無機誘電体膜20が荷電処理されたものである。外層膜3は、異なる2種以上の金属元素を含む複合金属化合物であって、少なくとも三価の金属元素を含み、バンドギャップエネルギが3eV以上である第1の無機誘電体材料を主成分とする膜であり、内層膜4は、前記第1の無機誘電体材料とは異なる第2の無機誘電体材料を主成分とする膜である。
【選択図】図1
特許請求の範囲
【請求項1】
基板(10)と、その表面(11)に形成されたエレクトレット層(2)と、を有するエレクトレット(1)であって、
前記エレクトレット層は、前記基板の厚さ方向(X)に積層された外層膜(3)及び内層膜(4)を含む無機誘電体膜(20)が荷電処理されたものであり、
前記外層膜は、異なる2種以上の金属元素を含む複合金属化合物であって、少なくとも三価の金属元素を含み、バンドギャップエネルギが3eV以上である第1の無機誘電体材料を主成分とする膜であり、
前記内層膜は、前記第1の無機誘電体材料とは異なる第2の無機誘電体材料を主成分とする膜である、エレクトレット。
続きを表示(約 910 文字)
【請求項2】
前記第1の無機誘電体材料は、異なる2種の金属元素A、Bを含む複合酸化物を基本組成とし、金属元素Aが二価又は三価の金属元素であり、金属元素Bが三価の金属元素である材料である、請求項1に記載のエレクトレット。
【請求項3】
前記複合酸化物は、組成式ABO
3
で表される第1の複合酸化物、組成式A
3
B
5
O
12
で表される第2の複合酸化物、又は、組成式AB
2
O
4
で表される第3の複合酸化物である、請求項2に記載のエレクトレット。
【請求項4】
前記第1の複合酸化物及び前記第2の複合酸化物において、金属元素Aは、希土類元素から選ばれる少なくとも1つの元素であり、前記第3の複合酸化物において、金属元素Aは、アルカリ土類金属元素及び遷移金属元素から選ばれる少なくとも1つの元素である、請求項3に記載のエレクトレット。
【請求項5】
前記第1の複合酸化物、前記第2の複合酸化物及び前記第3の複合酸化物において、金属元素BはAlである、請求項4に記載のエレクトレット。
【請求項6】
前記第1の無機誘電体材料の比誘電率は、前記第2の無機誘電体材料の比誘電率よりも大きい、請求項1に記載のエレクトレット。
【請求項7】
前記第2の無機誘電体材料は、Si化合物及びAl化合物から選ばれる1つ、又は、2つ以上の化合物の混合物である、請求項6に記載のエレクトレット。
【請求項8】
前記エレクトレット層の表面電位の大きさは、前記内層膜の膜厚と正の相関を有する、請求項1に記載のエレクトレット。
【請求項9】
前記内層膜の膜厚は、0.1μm以上である、請求項8に記載のエレクトレット。
【請求項10】
前記内層膜は、一層又は複層構造の膜であり、前記外層膜は、アモルファス構造の前記複合金属化合物の膜又は結晶構造の前記複合金属化合物の膜である、請求項1に記載のエレクトレット。
発明の詳細な説明
【技術分野】
【0001】
本発明は、エレクトレットに関する。
続きを表示(約 2,100 文字)
【背景技術】
【0002】
エレクトレットは、周囲に静電場を提供する帯電物質であり、従来から、エレクトレットコンデンサーマイクロホンや集塵フィルタといった用途に利用されてきた。また、近年、エネルギーハーベスティング技術の一つである振動発電への応用が期待されており、例えば、環境振動を駆動源とする静電式振動発電機に用いられる集積回路組込型の素子として、エレクトレットを用いた小型の振動発電素子の実用化が望まれている。
【0003】
エレクトレットの構成材料としては、例えば、フッ素系樹脂等の有機高分子材料が一般的に用いられている。有機高分子材料は、薄膜形成における形状の自由度や膜厚等の制御性に優れる一方で、表面電位の熱的安定性や経時的な性能の低下が懸念されることから、熱的な安定性に優れる無機化合物材料の検討が進められている。無機化合物材料としては、例えば、ハイドロキシアパタイトのバルク焼結体を用いたエレクトレットや、ペロブスカイト構造を有する複合酸化物を用いたエレクトレットが知られている。
【0004】
また、無機系のエレクトレットを用いた発電素子等は、基板上に形成される集積回路等に組み込まれることにより、発電デバイスの小型化や高温環境下での使用が可能になり、種々の用途への応用が期待される。そこで、本発明者等は、先に、基板とその表面に成膜されたエレクトレット層とを有し、エレクトレット層に、異なる2種以上の金属元素を含む複合金属化合物であって、バンドギャップエネルギが4eV以上である無機誘電体材料を主成分とする薄膜を用いたエレクトレットを提案した(特許文献1)。
【先行技術文献】
【特許文献】
【0005】
特許第7390687号公報
【発明の概要】
【発明が解決しようとする課題】
【0006】
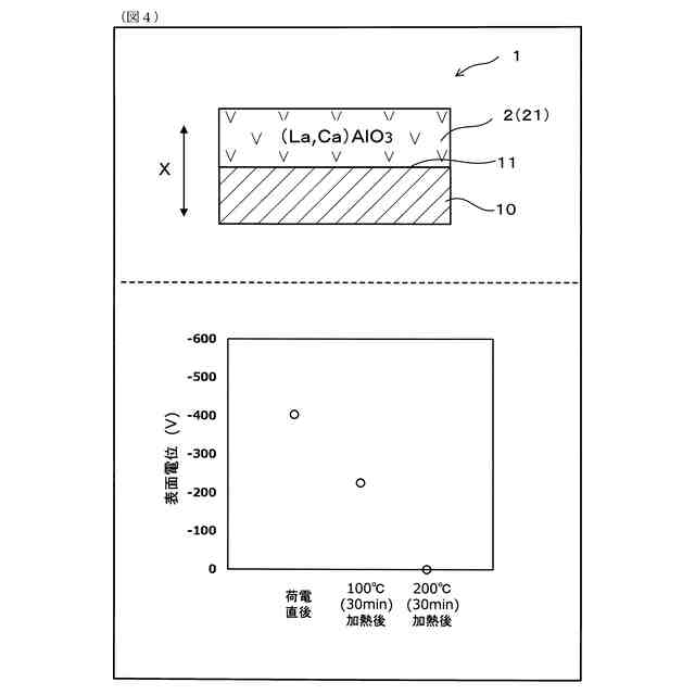
特許文献1に記載されるエレクトレットは、2種以上の金属元素を含む無機誘電体材料が高いバンドギャップエネルギを有することにより、欠陥等が制御されると共に、高温下で高電圧による分極処理を可能にして、高い表面電位を発現するものと考えられている。そのため、常温以上の温度環境(例えば、100℃程度)において、比較的安定した表面電位が得られるが、エレクトレット化直後の高い表面電位を維持することは難しい。特に、100℃を超える高温環境(例えば、200℃以上)では、時間経過により表面電位が消失しやすくなることが判明し、経時的な安定性を高めることが求められている。
【0007】
なお、基板上に、従来の無機化合物材料やフッ素系の有機高分子材料からなる薄膜又はそれら材料を組み合わせたエレクトレット膜を形成したエレクトレットが知られている。しかしながら、素子形成に用いられる一般的な無機化合物材料は、高い表面電位が得られず、フッ素系の有機高分子材料は、常温では、比較的高い表面電位を示すものの、耐熱性が低く、高温環境で用いられる素子への応用は難しい。
【0008】
本発明は、かかる課題に鑑みてなされたものであり、高温環境下においても、高い表面電位を長時間保持することができ、熱的及び経時的安定性に優れたエレクトレットを提供しようとするものである。
【課題を解決するための手段】
【0009】
本発明の一態様は、
基板(10)と、その表面(11)に形成されたエレクトレット層(2)と、を有するエレクトレット(1)であって、
前記エレクトレット層は、前記基板の厚さ方向(X)に積層された外層膜(3)及び内層膜(4)を含む無機誘電体膜(20)が荷電処理されたものであり、
前記外層膜は、異なる2種以上の金属元素を含む複合金属化合物であって、少なくとも三価の金属元素を含み、バンドギャップエネルギが3eV以上である第1の無機誘電体材料を主成分とする膜であり、
前記内層膜は、前記第1の無機誘電体材料とは異なる第2の無機誘電体材料を主成分とする膜である、エレクトレットにある。
【発明の効果】
【0010】
エレクトレット層が基板上に配置される構成では、高温環境において、基板に接する表面から電荷が移動しやすくなり、表面電位の低下につながると考えられる。これに対して、本態様のエレクトレットは、エレクトレット層が外層膜と内層膜とを含む積層構造を有することにより、高温環境においても、高い表面電位を安定して保持することができる。その理由は必ずしも明らかではないが、バンドギャップエネルギが3eV以上の特定の複合金属酸化物からなり荷電処理により高い表面電位を発現可能な第1の無機誘電体材料を主成分とする膜が、外層膜としてエレクトレット層の外側に配置され、その内側に、第2の無機誘電体材料にて構成される内層膜が配置されることにより、積層界面に電荷を蓄積する高い効果が得られると共に、基板への電荷の流出が抑制されるものと推察される。
(【0011】以降は省略されています)
この特許をJ-PlatPat(特許庁公式サイト)で参照する
関連特許
株式会社デンソーウェーブ
筐体
1か月前
株式会社デンソー
分離体
今日
株式会社デンソー
回転機
1か月前
株式会社デンソー
電動弁
14日前
株式会社デンソー
電解装置
15日前
株式会社デンソー
光学部材
今日
株式会社デンソー
電気回路
8日前
株式会社デンソー
摺動機構
13日前
株式会社デンソー
摺動機構
13日前
株式会社デンソー
熱交換器
13日前
株式会社デンソー
電子装置
1か月前
株式会社デンソー
電子装置
14日前
株式会社デンソー
制御装置
16日前
株式会社デンソー
撮像装置
13日前
株式会社デンソー
反力装置
1か月前
株式会社デンソー
撮像装置
13日前
株式会社デンソー
光学部材
今日
株式会社デンソー
検出装置
1か月前
株式会社デンソー
電子装置
24日前
株式会社デンソー
電子装置
1か月前
株式会社デンソー
半導体装置
15日前
株式会社デンソー
電流センサ
1か月前
株式会社デンソー
レーダ装置
1か月前
株式会社デンソー
半導体装置
1か月前
株式会社デンソー
半導体装置
13日前
株式会社デンソー
熱交換装置
28日前
株式会社デンソー
半導体装置
23日前
株式会社デンソー
熱交換部材
15日前
株式会社デンソー
センサ装置
21日前
株式会社デンソーテン
インバータ
1か月前
株式会社デンソー
センサ装置
21日前
株式会社デンソー
半導体装置
今日
株式会社デンソートリム
鞍乗り車両
22日前
株式会社デンソー
ヒータ装置
22日前
株式会社デンソー
電圧検出回路
28日前
株式会社デンソー
電気化学セル
13日前
続きを見る
他の特許を見る