TOP
|
特許
|
意匠
|
商標
特許ウォッチ
Twitter
他の特許を見る
10個以上の画像は省略されています。
公開番号
2025167397
公報種別
公開特許公報(A)
公開日
2025-11-07
出願番号
2024071957
出願日
2024-04-25
発明の名称
電波透過カバー
出願人
株式会社デンソー
,
トヨタ自動車株式会社
,
株式会社ミライズテクノロジーズ
代理人
弁理士法人ゆうあい特許事務所
主分類
G01S
7/03 20060101AFI20251030BHJP(測定;試験)
要約
【課題】レドームあるいはバンパーからの反射波による誤検知あるいは感度低下を従来よりも良好に抑制可能とする技術を提供すること。
【解決手段】電波透過カバー(2,6)は、電波レーダ装置(4)に備えられた送受信部(7)から放射された電波を透過させるように、送受信部の前面側に設けられるものである。この電波透過カバーは、電波の送受信部への反射を抑制する反射抑制部(10)を備えている。反射抑制部は、送受信部側に向かって開口する中空錐体状の形状を有する錐体部(21)を複数配置した構成を有している。
【選択図】図3
特許請求の範囲
【請求項1】
電波レーダ装置(4)に備えられた送受信部(7)から放射された電波を透過させるように、前記送受信部の前面側に設けられる、電波透過カバー(2,6)であって、
前記電波の前記送受信部への反射を抑制する、反射抑制部(10)を備え、
前記反射抑制部は、前記送受信部側に向かって開口する中空錐体状の形状を有する錐体部(21)を複数配置した構成を有する、
電波透過カバー。
続きを表示(約 630 文字)
【請求項2】
複数層の誘電体層の積層構造を有し、
前記錐体部は、前記複数層のうちの少なくともいずれか1層に設けられた、
請求項1に記載の電波透過カバー。
【請求項3】
前記反射抑制部は、比誘電率が2~20の誘電体によって形成された、
請求項1に記載の電波透過カバー。
【請求項4】
前記錐体部における前記送受信部側の面である内側錐体面(24)は、前記電波の反射係数が-6dB未満となるように傾斜している、
請求項1に記載の電波透過カバー。
【請求項5】
前記内側錐体面の傾斜角(θc)は30~75度である、
請求項4に記載の電波透過カバー。
【請求項6】
前記錐体部における底部(23)の大きさ(S)は、前記電波の波長の0.25~1.5倍である、
請求項1に記載の電波透過カバー。
【請求項7】
前記大きさは不均一である、
請求項6に記載の電波透過カバー。
【請求項8】
前記錐体部の配置周期は、前記電波の波長の0.25~1.5倍である、
請求項1に記載の電波透過カバー。
【請求項9】
前記配置周期は不均一である、
請求項8に記載の電波透過カバー。
【請求項10】
前記中空錐体状の形状は、三角錐状である、
請求項1に記載の電波透過カバー。
発明の詳細な説明
【技術分野】
【0001】
本開示は、電波レーダ装置に備えられた送受信部の前面側に設けられ、かかる送受信部から放射された電波を透過させるように構成された、電波透過カバーに関するものである。
続きを表示(約 2,500 文字)
【背景技術】
【0002】
例えば、レーダ装置におけるレドームの形状を、アンテナ面に対して平行な形状とした場合、レドームで反射した反射波をアンテナが受信することでレーダ装置が誤検知を引き起こし、これにより感度が低下する可能性がある。そこで、レドームの形状によって反射波を相殺し、アンテナが反射波を受信することを抑制する技術が、従来種々提案されている。
【0003】
例えば、特許文献1に記載のレドームは、単層誘電体板レドームであって、その形状がアンテナへの取付周縁を含む面より一方側に頂点を有する凸面形状となっている。凸面形状は、例えば、四角錐形、円錐形、ドーム形である。
【先行技術文献】
【特許文献】
【0004】
特許第5334238号公報
【発明の概要】
【発明が解決しようとする課題】
【0005】
本開示は、上記に例示した事情等に鑑みてなされたものである。すなわち、本開示は、例えば、レドームあるいはバンパーからの反射波による誤検知あるいは感度低下を良好に抑制可能とする技術を提供するものである。
【課題を解決するための手段】
【0006】
請求項1に記載の電波透過カバー(2,6)は、電波レーダ装置(4)に備えられた送受信部(7)から放射された電波を透過させるように、前記送受信部の前面側に設けられるものであって、
前記電波の前記送受信部への反射を抑制する、反射抑制部(10)を備え、
前記反射抑制部は、前記送受信部側に向かって開口する中空錐体状の形状を有する錐体部(21)を複数配置した構成を有する。
【0007】
電波レーダ装置に備えられた送受信部から放射された電波は、かかる送受信部の前面側に設けられた電波透過カバーを透過する。このとき、かかる構成を有する電波透過カバーによれば、送受信部側に向かって開口する中空錐体状の形状を有する錐体部を複数配置した構成を有する反射抑制部により、送受信部への電波の反射が良好に抑制される。したがって、かかる構成を有する電波透過カバーによれば、当該電波透過カバーにおける反射波による誤検知あるいは感度低下を良好に抑制することが可能となる。
【0008】
なお、出願書類の各欄において、各要素に括弧付きの参照符号が付される場合がある。しかしながら、かかる参照符号は、同要素と後述する実施形態に記載の具体的手段との対応関係の一例を、単に示すものにすぎない。よって、本開示は、上記の参照符号の記載によって、何ら限定されるものではない。
【図面の簡単な説明】
【0009】
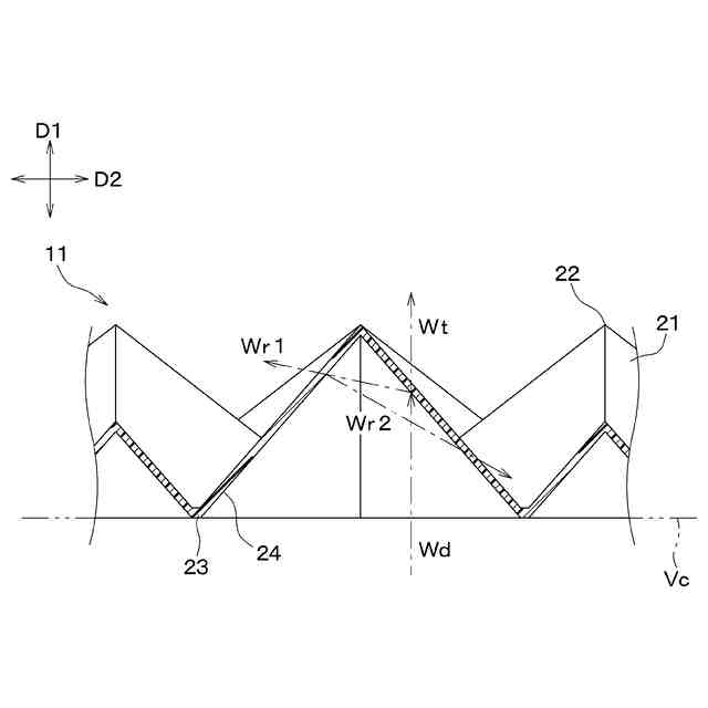
本開示に係る電波透過カバーの一適用対象としての車両の外観を示す斜視図である。
図1に示された電波透過領域の周辺を拡大して示す断面図である。
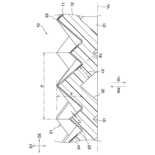
図2に示された反射抑制部の一構成例を拡大して示す断面図である。
図3に示された第一層の一部を拡大して示す正面図である。
図3および図4に示された複数の錐体部のうちの一つを拡大して示す斜視図である。
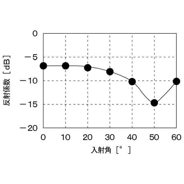
図7における横軸の入射角を説明するための概念図である。
誘電体表面における入射角と反射係数との関係を示すグラフである。
図3に示された第一層における電波の反射の様子を示す概念図である。
図3に示された反射抑制部による効果を示すグラフである。
図3に示された反射抑制部による効果を示すグラフである。
図3に示された反射抑制部による効果を示すグラフである。
図3に示された第一実施形態に係る反射抑制部の構成を模式的に示した断面図である。
図12に示された第一実施形態に係る反射抑制部の一変形例の構成を模式的に示した断面図である。
図12に示された第一実施形態に係る反射抑制部の他の一変形例の構成を模式的に示した断面図である。
図12に示された第一実施形態に係る反射抑制部のさらに他の一変形例の構成を模式的に示した断面図である。
本開示の第二実施形態に係る反射抑制部の構成を模式的に示した断面図である。
図16に示された第二実施形態に係る反射抑制部の一変形例の構成を模式的に示した断面図である。
図16に示された第二実施形態に係る反射抑制部の他の一変形例の構成を模式的に示した断面図である。
図16に示された第二実施形態に係る反射抑制部のさらに他の一変形例の構成を模式的に示した断面図である。
図16に示された第二実施形態に係る反射抑制部のさらに他の一変形例の構成を模式的に示した断面図である。
図16に示された第二実施形態に係る反射抑制部のさらに他の一変形例の構成を模式的に示した断面図である。
本開示の第三実施形態に係る反射抑制部の構成を拡大して示す正面図である。
図22におけるXXIII-XXIII断面図である。
本開示の一変形例に係る構成を適用した車両の外観を示す斜視図である。
図24に示された電波レーダ装置およびその周辺を拡大して示す断面図である。
図25に示された反射抑制部の構成を模式的に示した断面図である。
【発明を実施するための形態】
【0010】
(実施形態)
以下、本開示の例示的な実施形態や具体例(すなわち実施例や変形例等)について、適宜図面を参照しつつ説明する。なお、複数の実施形態や具体例の間において、互いに同一または均等である部分には、同一の符号が付されている。したがって、先行して説明された実施形態等における構成要素と同一の符号を有する構成要素に関しては、技術的矛盾または特段の追加説明なき限り、先行する実施形態等における説明が、後行する実施形態等において適宜援用され得るものとする。
(【0011】以降は省略されています)
この特許をJ-PlatPat(特許庁公式サイト)で参照する
関連特許
株式会社デンソーウェーブ
筐体
1か月前
株式会社デンソー
電動機
6日前
株式会社デンソー
分離体
14日前
株式会社デンソー
ロータ
1日前
株式会社デンソー
ロータ
1日前
株式会社デンソー
回転機
1か月前
株式会社デンソー
電動弁
28日前
株式会社デンソー
端子台
8日前
株式会社デンソー
撮像装置
27日前
株式会社デンソー
電子装置
1か月前
株式会社デンソー
光学部材
14日前
株式会社デンソー
光学部材
14日前
株式会社デンソー
制御装置
1か月前
株式会社デンソー
電解装置
29日前
株式会社デンソー
トランス
6日前
株式会社デンソー
電子装置
28日前
株式会社デンソー
光学部材
6日前
株式会社デンソー
電子装置
6日前
株式会社デンソー
摺動機構
27日前
株式会社デンソー
撮像装置
27日前
株式会社デンソー
摺動機構
27日前
株式会社デンソー
電気回路
22日前
株式会社デンソー
熱交換器
27日前
株式会社デンソー
検出装置
1か月前
株式会社デンソー
電流センサ
1か月前
株式会社デンソー
半導体装置
27日前
株式会社デンソー
半導体装置
1か月前
株式会社デンソー
半導体装置
14日前
株式会社デンソートリム
鞍乗り車両
1か月前
株式会社デンソーエレクトロニクス
電磁継電器
今日
株式会社デンソー
ヒータ装置
1か月前
株式会社デンソー
センサ装置
1か月前
株式会社デンソー
熱交換装置
1か月前
株式会社デンソー
レーダ装置
今日
株式会社デンソー
電磁継電器
6日前
株式会社デンソー
半導体装置
1か月前
続きを見る
他の特許を見る