TOP
|
特許
|
意匠
|
商標
特許ウォッチ
Twitter
他の特許を見る
公開番号
2025171101
公報種別
公開特許公報(A)
公開日
2025-11-20
出願番号
2024076101
出願日
2024-05-08
発明の名称
車両用空調装置
出願人
株式会社デンソー
代理人
個人
,
個人
主分類
B60H
1/22 20060101AFI20251113BHJP(車両一般)
要約
【課題】省電費と快適性との両立が図れる車両用空調装置を提供する。
【解決手段】ヒータコアは、内燃機関の熱を利用しないで電気エネルギを使用して、車室内に供給する空気を加熱する。制御装置は、上下吹出モードで車室内へ供給する空気を加熱後に冷却することなく、フェイス用ドアとフット用ドアを制御してフェイス吹出風量とフット吹出風量とに分配する。制御装置は、ブロワの出力を制御して車室内に供給する空気の風量を制御する。制御装置は、上下吹出モードにおいて、目標吹出温度の算出値が、33℃を含む所定の温度範囲に含まれる温度である場合に、所定の温度範囲外の温度である場合よりも、ヒータコアに送風する風量を小さくするようにブロワの出力を制御する。
【選択図】図4
特許請求の範囲
【請求項1】
内燃機関の熱を利用しないで電気エネルギを使用して、車室内に供給する空気を加熱する加熱装置(31)と、
前記加熱装置よりも下流において、車室内のフット吹出口に送るフット吹出風量を調整するフット吹出風量調整部(34)と、
前記加熱装置よりも下流において、車室内のフェイス吹出口に送るフェイス吹出風量を調整するフェイス吹出風量調整部(35)と、
前記フット吹出風量調整部の作動および前記フェイス吹出風量調整部の作動を制御する制御装置(5)と、
を備え、
前記制御装置は、フット吹出しとフェイス吹出しとの両方を車室内に提供する上下吹出モードにおいて、車室内に供給する空気を、前記加熱装置によって加熱した後に冷却することなく、前記フェイス吹出風量調整部と前記フット吹出風量調整部とを制御して、フェイス吹出風量とフット吹出風量とに分配する車両用空調装置。
続きを表示(約 720 文字)
【請求項2】
前記制御装置は、ブロワの出力を制御して車室内に供給する空気の風量を制御し、
前記制御装置は、前記上下吹出モードにおいて、目標吹出温度の算出値が、33℃を含む所定の温度範囲に含まれる温度である場合に、前記所定の温度範囲外の温度である場合よりも、前記加熱装置に送風する風量を小さくするように前記ブロワの出力を制御する請求項1に記載の車両用空調装置。
【請求項3】
前記制御装置は、ブロワの出力を制御して車室内に供給する空気の風量を制御し、
前記制御装置は、前記上下吹出モードの一つであるバイレベル吹出モードからフット吹出モードに移行しようとする前記バイレベル吹出モードの部分に設定された第1部分領域と、前記バイレベル吹出モードからフェイス吹出モードに移行しようとする前記バイレベル吹出モードの部分に設定された第2部分領域との両方において、前記加熱装置に送風する風量を小さくするように前記ブロワの出力を制御する請求項1に記載の車両用空調装置。
【請求項4】
乗員の表面温度を検出する乗員温度検出装置(55)を備え、
前記制御装置は、前記乗員温度検出装置によって検出された表面温度に基づいて、前記第1部分領域と前記第2部分領域とを設定する請求項3に記載の車両用空調装置。
【請求項5】
前記制御装置は、前記乗員温度検出装置によって検出された乗員の顔部の表面温度よりも目標吹出温度が高い場合に前記第1部分領域を設定し、前記乗員温度検出装置によって検出された乗員の脚部の表面温度よりも目標吹出温度が低い場合に前記第2部分領域を設定する請求項4に記載の車両用空調装置。
発明の詳細な説明
【技術分野】
【0001】
この明細書における開示は、車両用空調装置に関する。
続きを表示(約 1,900 文字)
【背景技術】
【0002】
特許文献1は、乗員の温感が温感レベルの設定値となるように、計算式により算出した目標吹出温度TAOを満たす空調制御を実施する車両用空調装置を開示している。この車両用空調装置は、エアミックスドアで冷風と温風との風量割合を調整する制御により、目標吹出温度TAOを満たすフット吹出しとフェイス吹出しとを生成する。
【先行技術文献】
【特許文献】
【0003】
特開平6-234318号公報
【発明の概要】
【発明が解決しようとする課題】
【0004】
車両用空調装置において内燃機関から発生する排熱を熱源として利用して空気を加熱する場合、乗員の足元への空調空気を効果的に加熱することができる。一方、内燃機関の熱を利用しないで空気を加熱する車両用空調装置は、BEV(Battery Electric Vehicleの略称)などの電気をエネルギ源として走行する車両に搭載される。このような車両用空調装置は、内燃機関の排熱などの十分な熱源を利用することができないため、以下に示す問題がある。
【0005】
フット吹出しとフェイス吹出しの温度差を確保するために、電気エネルギを用いてフット吹出空気温度を高くした場合、消費電力が大きくなる。これにより、電費悪化になり、車両の航続距離が延びないという問題がある。他方、省電費を考慮して電気エネルギの使用量を制御すると、十分なフット吹出空気温度を確保することができず、乗員の足元に所望の温感を提供できない。
【0006】
この明細書における開示の目的は、省電費と快適性との両立が図れる車両用空調装置を提供することにある。
【課題を解決するための手段】
【0007】
この明細書に開示された複数の態様は、それぞれの目的を達成するために、互いに異なる技術的手段を採用する。また、特許請求の範囲およびこの項に記載した括弧内の符号は、一つの態様として後述する実施形態に記載の具体的手段との対応関係を示す一例であって、技術的範囲を限定するものではない。
【0008】
開示された車両用空調装置の一つは、内燃機関の熱を利用しないで電気エネルギを使用して、車室内に供給する空気を加熱する加熱装置(31)と、
加熱装置よりも下流において、車室内のフット吹出口に送るフット吹出風量を調整するフット吹出風量調整部(34)と、
加熱装置よりも下流において、車室内のフェイス吹出口に送るフェイス吹出風量を調整するフェイス吹出風量調整部(35)と、
フット吹出風量調整部の作動およびフェイス吹出風量調整部の作動を制御する制御装置(5)と、を備え、
制御装置は、フット吹出しとフェイス吹出しとの両方を車室内に提供する上下吹出モードにおいて、車室内に供給する空気を、加熱装置によって加熱した後に冷却することなく、フェイス吹出風量調整部とフット吹出風量調整部とを制御して、フェイス吹出風量とフット吹出風量とに分配する。
【0009】
この車両用空調装置によれば、加熱装置によって加熱した後に冷却することのない空気をフェイス吹出風量とフット吹出風量とに分配する。加熱装置は、内燃機関の熱を利用しないで電気エネルギを使用して、車室内に供給する空気を加熱する構成である。これにより、フット吹出風量とフェイス吹出風量とに分配する割合によって、加熱装置によって加熱された空気の熱量を分配する。このように加熱後の空気に係る熱量分配を制御することにより、フット吹出しの熱量とフェイス吹出しの熱量とを制御でき、乗員に与える、フット吹出しとフェイス吹出しとの温感差を形成できる。この車両用空調装置は、フット吹出温度とフェイス吹出温度の差を十分に形成する制御ではないため、フット吹出温度を十分に高くするための加熱量を必要としない。このため、加熱装置が使用する電気エネルギを抑えることを可能にする。以上より、省電費と快適性との両立が図れる車両用空調装置を提供できる。
【図面の簡単な説明】
【0010】
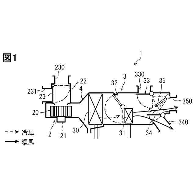
車両用空調装置の構成を示す概要図である。
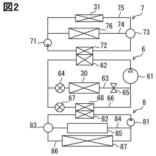
車両用空調装置における熱源供給構成を示す図である。
車両用空調装置に係る制御構成を示す構成図である。
目標吹出温度とブロワ出力との関係を示す制御特性図である。
【発明を実施するための形態】
(【0011】以降は省略されています)
この特許をJ-PlatPat(特許庁公式サイト)で参照する
関連特許
株式会社デンソーウェーブ
筐体
1か月前
株式会社デンソー
車載器
1か月前
株式会社デンソー
回転機
1か月前
株式会社デンソー
電動弁
15日前
株式会社デンソー
分離体
1日前
株式会社デンソー
摺動機構
14日前
株式会社デンソー
反力装置
1か月前
株式会社デンソー
撮像装置
14日前
株式会社デンソー
撮像装置
14日前
株式会社デンソー
摺動機構
14日前
株式会社デンソー
検出装置
1か月前
株式会社デンソー
熱交換器
14日前
株式会社デンソー
電子装置
1か月前
株式会社デンソー
ねじ部材
1か月前
株式会社デンソー
電子装置
15日前
株式会社デンソー
制御装置
17日前
株式会社デンソー
電解装置
16日前
株式会社デンソー
電子装置
25日前
株式会社デンソー
電気回路
9日前
株式会社デンソー
ステータ
1か月前
株式会社デンソー
ステータ
1か月前
株式会社デンソー
光学部材
1日前
株式会社デンソー
光学部材
1日前
株式会社デンソー
電子装置
1か月前
株式会社デンソートリム
鞍乗り車両
23日前
株式会社デンソー
農業用装置
1か月前
株式会社デンソー
電流センサ
1か月前
株式会社デンソーテン
インバータ
1か月前
株式会社デンソー
半導体装置
14日前
株式会社デンソー
レーダ装置
1か月前
株式会社デンソー
半導体装置
1日前
株式会社デンソー
センサ装置
22日前
株式会社デンソー
半導体装置
1か月前
株式会社デンソー
熱交換装置
29日前
株式会社デンソー
ヒータ装置
23日前
株式会社デンソー
センサ装置
22日前
続きを見る
他の特許を見る